Section 1.1
Cylinder Block and Cylinder Liner
The cylinder block is the basic engine structure, establishing and maintaining the alignment of all engine working parts. In the Series 50 Engines, the cylinder liners are not an integral part of the block casting, but are in the form of replaceable, wet type cylinder liners. See Figure "Engine Cylinder Block and Liner" .
Flanges at the liner upper ends seat in counterbores in the block deck, and project slightly above the deck to compress the head gasket for a good compression seal. Below the water jacket the lower end of the cylinder liner has two D-shaped seal rings and a lipped crevice seal to prevent leakage between the water jacket and crankcase.

|
1. Rear Main Bearing Cap |
4. Crevice Seal |
|
2. Oil Galleries |
5. D-ring Seals |
|
3. Cylinder Liner |
6. Integral Coolant Inlet |
Figure 1. Engine Cylinder Block and Liner
An integral coolant inlet manifold is cored into the right side of the block. It distributes the water pump output along the length of the block. Oil galleries are machined into the cooler side of the block. See Figure "Engine Cylinder Block and Liner" .
The integral oil galleries direct the oil pump output through the external oil cooler and filters, to the main oil gallery and to drilled passages in the crankcase webs which supply oil under pressure to each main bearing. In the crankcase, three integral webs plus front and rear bulkheads support the crankshaft in five main bearings. See Figure "Engine Cylinder Crankcase" .

Figure 2. Engine Cylinder Crankcase
An improved cylinder block has replaced the former block on all Series 50 engines. This change took effect with unit serial number 4R6959, built November 22, 1994. The former cylinder block was used on engines built prior to this serial number.
The Series 50 cylinder block was further improved by the addition of a drilled lubrication orifice and bolt hole at the base of each cylinder bore. See Figure "Engine Cylinder Crankcase" . The orifices are drilled into the main oil gallery and are required for installation of bolt-on oil spray nozzles used with forged steel pistons on premium engines. When blocks are used for non-premium engines with cast-iron pistons, the lubrication orifices are closed with bolt-on steel plates. First usage of the drilled block was on October 2002 with engine model 6047MK1E.
The improved block has a slightly modified sidewall configuration that eliminates interference between the block and adaptorless compressor. To compensate for the elimination of the adaptor, air compressor mounting bracket bolt holes have been moved forward 130.3 mm (5.13 in.) on the block. See Figure "Improved Cylinder Block Showing Modifications" . Since these holes have a different spacing than the former holes, an improved compressor mounting bracket is required. A new air compressor coolant supply port has also been added forward of the former supply port. The former port is plugged when the adaptorless compressor is installed.

Figure 3. Improved Cylinder Block Showing Modifications
When replacing a former block with an improved block, an adaptorless air compressor, improved compressor mounting bracket, and improved compressor coolant supply hose must be installed. Refer to "10.1.4 Installation of Air Compressor" of this manual for information on installing the adaptorless air compressor.
Section 1.1.1
Repair or Replacement of the Cylinder Block
To determine if repair is possible or replacement is necessary perform the following procedure. See Figure "Flowchart for Repair or Replacement of Cylinder Block " .

Figure 4. Flowchart for Repair or Replacement of Cylinder Block
Section 1.1.2
Removal of Engine from the Vehicle and Disassembly
Before mounting an engine on an overhaul stand, it must be disconnected from the transmission. Details of removing an engine will vary from one vehicle to another. However, the following steps will be necessary, regardless of vehicle type:
- Disconnect the battery cable(s) from the battery(s).
- Drain the cooling system completely by removing the drain plug in the oil cooler and opening the draincocks in the cylinder block, thermostat housing and water pump housing. Refer to "13.5.4 Cooling System" .
- Drain the lubricating oil. Refer to "13.5.1 Lubricating Oil" .
- Disconnect the inlet fuel line from the primary fuel filter and the outlet line from the upper fitting at the rear of the cylinder head.
- Remove the air cleaner ducting as necessary for engine removal.
- Remove the charge air cooler ducting from the turbocharger and intake manifold. Refer to "6.7.2 Cleaning and Removal of Charge Air Cooler" .
- Disconnect the exhaust piping from the turbocharger.
- Disconnect the 30-pin DDEC vehicle electrical connector and the six-pin DDEC II power connector or DDEC III five-pin power connector.
- Disconnect and remove the cranking motor or air starter, alternator and other electrical equipment, as necessary.
- Remove the air compressor and any air lines, as necessary.
- Disconnect and remove the coolant hoses.
- Remove the charge air cooler, radiator, fan guard and other cooling system related parts as necessary to remove the engine.
- Connect a suitable lifting device to the engine using all three lifting brackets (two at the rear and one at the front).
- Separate the engine from the transmission.
- Remove the engine mounting bolts.

FALLING ENGINE
To avoid injury from a falling engine, do not use the engine lifter brackets alone when lifting the engine with a marine gear, main alternator, engine skid, engine module, radiator, or similar component attached. The engine lifter brackets are designed to lift the engine only.
- Lift the engine from its mounts using a suitable lifting device. See Figure
"Lifting Engine "
.

Figure 5. Lifting Engine

FALLING ENGINE
To avoid injury from a falling engine, ensure the engine is securely attached to the engine overhaul stand before releasing the lifting sling.
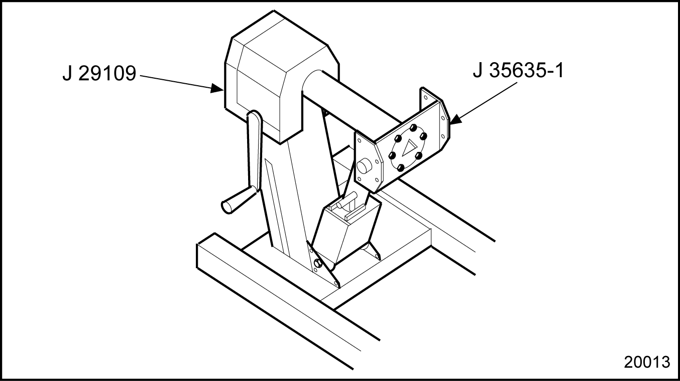
- Use engine overhaul stand, J 29109
, with stand adaptor plate, J 39652
, for support when stripping a Series 50 Engines cylinder block. See Figure
"Engine Overhaul Stand and Adaptor"
.

Figure 6. Engine Overhaul Stand and Adaptor
- Bolt cylinder block adaptor, J 35635-2 part of J 35635–A
, to the cylinder block and mate it with the stand adaptor, J 39652
. See Figure
"Cylinder Block Adaptor"
.

Figure 7. Cylinder Block Adaptor
- The engine is left-side mounted in an upright position. Rotate it in either direction and lock it into position.
- Remove the ECM from the cold plate.
- For DDEC II engines, remove the inlet and outlet fuel lines connected to the Electronic Control Module (ECM) cold plate, the ECM mounting bolts, and the ECM.
- The current DDEC III engines do not have a cold plate.
Note: DDC has discontinued the use of the ECM cold plate on all Series 50 Engines. In place of the ECM cold plate, a No. 6 x 37.92 in. (963 mm) long hose assembly (23504785) is now routed from the fuel pump discharge fitting to the inlet of the secondary fuel filter.
- Disconnect the harness connector (gray) from the timing reference sensor (TRS) at the lower left corner of the gear case. Remove the TRS from the gear case. Refer to "2.21.2 Removal of Timing Reference Sensor" .
- Disconnect the harness (black) connector from the synchronous reference sensor (SRS) at the left rear wall of the gear case. Remove the SRS from the gear case. Refer to "2.20.2 Removal of Synchronous Reference Sensor" .
- Remove any electrical components, connectors or wiring looms from the engine.
- With the engine mounted on the overhaul stand, remove all of any remaining subassemblies and parts from the cylinder block.
- To remove the valve rocker cover, refer to "1.6.2 Cleaning and Removing of Two-piece Rocker Cover-Diesel Engines Only" .
- To remove the engine lifter brackets, refer to "1.5.2 Removal and Cleaning of Lifter Bracket" .
- To remove the crankshaft pulley, refer to "1.13.2 Removal and Cleaning Crankshaft Pulley" .
- To remove the crankshaft vibration damper, refer to "1.12.2 Cleaning and Removal of Crankshaft Vibration Damper" .
- To remove the accessory drive, refer to "1.29.2 Cleaning and Removal of the Accessory Drive" .
- To remove the gear case cover, refer to "1.10.2 Removal of Gear Case Cover" .
- To remove the camshaft drive gear, refer to "1.24.2 Removal of Camshaft Drive Gear" .
- To remove the bull gear and camshaft idler gear assembly, refer to "1.26.2 Removal of Bull Gear and Camshaft Idler Gear Assembly" .
- To remove the adjustable idler gear assembly, refer to "1.25.2 Removal of Adjustable Idler Gear Assembly" .
- To remove the crankshaft timing gear and timing wheel, refer to "1.27.2 Removal of Crankshaft Timing Gear and Timing Wheel Removal" .
- To remove the gear case, refer to "1.11.2 Removal of Gear Case" .
- To remove camshaft, refer to "1.22.2 Removal of Camshaft and Camshaft Bearing" .
- To remove the cylinder head, refer to "1.2.2 Removal and Cleaning of Cylinder Head" .
- To remove the flywheel, refer to "1.14.2 Cleaning and Removal of Flywheel" .
- To remove the flywheel housing, refer to "1.16.2 Cleaning and Removal of Flywheel Housing" .
- To remove the oil pan, refer to "3.9.2 Cleaning and Removal of Oil Pan" .
- To remove the piston and connecting rod assembly, refer to "1.18.2 Cleaning and Removal of Piston and Connecting Rod" .
- To remove the cylinder liner, refer to "1.20.2 Cleaning and Removal of Cylinder Liner" .
- To remove the crankshaft, refer to "1.7.2 Cleaning and Removal of Crankshaft" .
- To remove the crankshaft main bearings, refer to "1.9.2 Removal of Main Bearing Shell" .
NOTICE:
Before removing main bearing caps, be sure each is stamped or punch-marked in numerical order, beginning with No. 1 at the front, to ensure installation in their original position. Mark all caps on the oil cooler side (right side) of the engine to prevent reversal at assembly. Failure to mark numerical order may result in the caps being put back in incorrect order.
Section 1.1.3
Cleaning the Cylinder Block
Before removing cylinder liners for block cleaning, the liner bores should be gaged to determine whether liner replacement is necessary. Refer to "1.20.2.1 Inspection of Cylinder Liner" .
Remove cylinder liners with the cylinder liner removal tool, J 35791 , before putting the block in cleaning or describing baths, to avoid trapping cleaning agents in block liner seating bores. See Figure "Cylinder Liner Removal Tool" .

Figure 8. Cylinder Liner Removal Tool
After disassembling and before removing the cylinder block from the overhaul stand for cleaning and inspection, install the two metric eye bolts J 35595 to the cylinder block.
Clean the cylinder block as follows:
- Remove all oil and water gallery and weep hole plugs to allow the cleaning solution to enter the inside of the oil and water passages.
- Using two metric eye bolts, J 35595 , installed in the head bolt holes at opposite ends of the block, and with a suitable lifting device and spreader bar, immerse and agitate the block in a hot bath of a commercial, heavy-duty alkaline solution.
- Wash the block in hot water or steam clean it to remove the alkaline solution.
- If the water jackets are heavily scaled, proceed as follows:
- Agitate the block in a bath of inhibited phosphoric acid.
- Allow the block to remain in the acid bath until the bubbling action stops (approximately 30 minutes).
- Lift the block, drain it and re-immerse it in the same acid solution for 10 more minutes. Repeat until all scale is removed from the water jacket area.
- Rinse the block in clear, hot water to remove the acid solution.
- Neutralize the acid that may cling to the casting by immersing the block in an alkaline bath.
- Wash the block in clean water or steam clean it.

EYE INJURY
To avoid injury from flying debris when using compressed air, wear adequate eye protection (face shield or safety goggles) and do not exceed 276 kPa (40 psi) air pressure.
- Dry the cylinder block with compressed air. Blow out all of the bolt holes and passages with compressed air.
Note: The above cleaning procedure may be used on all ordinary cast iron and steel parts for the engine. Aluminum parts, such as flywheel housing, air intake manifold, oil filter adaptor and the camshaft gear access cover should NOT be cleaned in this manner. Mention will be made of special procedures when necessary.
- Be certain that all water passages and oil galleries have been thoroughly cleaned and dried. Install weep hole plugs and precoated pipe plugs. Install new cup plugs using a coating of good grade non-hardening sealant such as Loctite 620 or equivalent.
- Pressure test the cylinder block. Two methods of cylinder block pressure testing may be used depending on the test facilities available:
- Immersion method; refer to "1.1.3.1 Cylinder Block Immersion Method Pressure Testing" .
- Leak-marker method; refer to "1.1.3.2 Cylinder Block Leak-Marker Pressure Testing" .
Section 1.1.3.1
Cylinder Block Immersion Method Pressure Testing
Use cylinder block pressure test kit, for immersion method pressure testing as follows:
- Install cylinder liners with new seal rings and crevice seals. Refer to "1.20.3 Installation of Cylinder Liner" . Seat the liners firmly in the block counterbores with cylinder liner installation tool, J 35597–A .
- Install two metric eye bolts, J 35595
, in the head bolt holes at opposite ends of the block. See Figure
"Cylinder Block Test Deck Plate Installation"
.

1. Bolts (12)
4. Test Strips (2)
2. Bolts (10)
5. Test Rings (5)
3. Outside Test Strips (2)
Figure 9. Cylinder Block Test Deck Plate Installation
- Install the cylinder block test strips and rings. See Figure "Cylinder Block Test Deck Plate Installation" .
- Install the bolts through the strips and into the cylinder block. Torque the bolts on the ring strips to 231-237 N·m (170-175 lb·ft). Torque the bolts on the outside strips to 14 N·m (10 lb·ft).
- Install the water inlet cover plate, J 36223-7A part of J 36223–D
. See Figure
"Water Inlet Cover Plate Installation"
. Use the bolt supplied with the tool to secure it to the cylinder block.

Figure 10. Water Inlet Cover Plate Installation
Note: At the base of each liner, the space between upper and lower liner seals is vented to the block surface, on the left side. Any coolant leakage past the upper seal is drained to the outside rather than into the crankcase, and is easily detected by a visual inspection.
- With a suitable lifting device and spreadable bars, immerse the cylinder block for twenty minutes in a tank of water heated to 82-93°C (180-200°F).
- Attach an air line to the water inlet cover plate and apply 138 kPa (20 lb/in.2
) air pressure to the water jacket. Observe the water in the tank for bubbles that will indicate cracks or leaks. A cracked cylinder block must be replaced by a new block.

EYE INJURY
To avoid injury from flying debris when using compressed air, wear adequate eye protection (face shield or safety goggles) and do not exceed 276 kPa (40 psi) air pressure.
- Remove the block from the water tank. Remove the plates and gaskets and blow out all of the passages in the block with compressed air.
- Remount the cylinder block to the engine overhaul stand, J 29109 .
Section 1.1.3.2
Cylinder Block Leak-Marker Pressure Testing
When a large water tank is not available, or when it is desired to check the block for cracks without removing the engine from the vehicle cylinder block leak-marker pressure testing may be used.
- Install cylinder liners with new seal rings and crevice seals. Refer to "1.20.3 Installation of Cylinder Liner" . Seat the liners firmly in the block counterbores with cylinder liner installation tool, J 35597–A .
- Install two metric eye bolts, J 35595 , in the head bolt holes at opposite ends of the block. See Figure "Cylinder Block Test Deck Plate Installation" .
- Fill the water jacket with a mixture of water and 3.8 liters (1 U.S. gallon) of permanent-type antifreeze. The antifreeze will penetrate small cracks and its color will aid in detecting their presence.
- Install the cylinder block test strips and rings. See Figure "Cylinder Block Test Deck Plate Installation" .
- Install the bolts through the strips and into the cylinder block. Torque the bolts on the ring strips to 231-237 N·m (170-175 lb·ft). Torque the bolts on the outside strips to 14 N·m (10 lb·ft).
- Install the water inlet cover plate, J 36223-7A part of J 36223–D
. See Figure
"Water Inlet Cover Plate Installation"
. Use the bolt supplied with the tool to secure it to the cylinder block.
Note: At the base of each liner, the space between upper and lower liner seals is vented to the block surface, on the left side. Any coolant leakage past the upper seal is drained to the outside rather than into the crankcase, and is easily detected by a visual inspection.
- With a suitable lifting device and spreadable bars, immerse the cylinder block for twenty minutes in a tank of water heated to 82-93°C (180-200°F).
- Apply 138 kPa (20 lb/in.2 ) air pressure to the water jacket and maintain this pressure for at least two hours to give the water and antifreeze mixture ample time to work its way through any cracks which may exist.
- At the end of this test period, examine the outside diameter area of the liner flanges, oil passages, crankcase and exterior of the block for presence of the water and antifreeze mixture, which will indicate the presence of cracks. A cracked cylinder block must be replaced with a new block.

EYE INJURY
To avoid injury from flying debris when using compressed air, wear adequate eye protection (face shield or safety goggles) and do not exceed 276 kPa (40 psi) air pressure.
- After the pressure test is completed, remove the test deck plate and gasket and the water inlet cover plate. Drain the water jacket. Then blow out all of the passages in the cylinder block with compressed air.
- Remount the cylinder block to the engine overhaul stand, J 29109 .
Section 1.1.4
Cylinder Block Inspection Procedures
Perform the following preliminary step prior to performing cylinder block inspections:
- Remove the cylinder liners and regage to determine whether liner replacement is necessary. Refer to "1.20.2 Cleaning and Removal of Cylinder Liner" .
Section 1.1.4.1
Inspection of the Cylinder Block
Perform the following for cylinder block inspection:
- Measure the bore of each cylinder with cylinder bore gage, J 5347-B
, which has a dial indicator calibrated in 0.0001 in. increments. See Figure
"Gaging Cylinder Bores"
.

Figure 11. Gaging Cylinder Bores
- Measure cylinder block bore, at the positions on axis 90° apart. See Figure
"Gaging Cylinder Bores"
. If the diameter does not exceed the dimensions listed in Table
"Acceptable Cylinder Bore Diameters"
, the block may be reused.
Note: The above measurements are average gage readings at each position. Also, the out-of-round must not exceed 0.0254 mm (0.001 in.). See Figure "Maximum Cylinder Block Bore Diameters by Location (After Clean-up)" .

Figure 12. Maximum Cylinder Block Bore Diameters by Location (After Clean-up)
Location
Diameter, mm
Diameter, in.
A
149.050-149.120
5.868-5.871
B
146.050-146.120
5.750-5.753
C
146.050-146.120
5.750-5.753
Table 9. Acceptable Cylinder Bore Diameters
Section 1.1.4.2
Inspection of Deck Flatness
Check the cylinder block deck for flatness with an accurate straightedge and feeler gage. See Figure "Checking Block Deck for Flatness" .

Figure 13. Checking Block Deck for Flatness
Check front-to-rear flatness next to the cylinder liner flanges on both sides, and side-to-side flatness between the liner flanges. The deck must be flat within 0.120 mm (0.005 in.) front-to-rear, and flat within 0.076 mm (0.003 in.) side-to-side. If not, the deck must be resurfaced.
NOTICE: |
|
The camshaft is mounted in the cylinder head so resurfacing of the block head affects the position of the camshaft in relation to the adjustable idler gear and gear train. |
Record the amount of stock removed from the cylinder block by stamping the amount removed on the cylinder block pad. See Figure "Recording Stock Removal on Cylinder Block" .

Figure 14. Recording Stock Removal on Cylinder Block
Section 1.1.4.3
Inspection of Main Bearing Bores
Perform the following steps for main bearing bore inspection:
- Install the main bearing caps in their original positions. Lubricate the cap bolt threads and head contact surfaces with a small quantity of International Compound #2®.
International Compound #2 is a registered trademark of IRMCO.
- Install the main cap bolts and torque to 470-530 N·m (347-391 lb·ft).
- Measure the main bearing bores using dial bore gage J 5347-B
which has a dial indicator calibrated in 0.0001 in. increments. Set the cylinder bore gage on zero in master setting fixture, J 23059-01 part of J 23059–4
. See Figure
"Gaging Main Bearing Bores"
.

Figure 15. Gaging Main Bearing Bores
Note: Dial bore master setting fixture should be used to zero the cylinder bore gage.
The bore diameter specification is 132.994-133.031 mm (5.236-5.237 in.). An oversize main bearing bore may be line-bored to accept a 0.508 mm (0.040 in.) oversize O.D. main bearing. Line boring is also necessary when a bearing cap must be replaced due to breakage or spun-bearing damage. Refer to "Additional Information" for line boring specifications which are listed in Table "Cylinder Block" .
Section 1.1.4.4
General Inspection
Check all machined surfaces for nicks or burrs that could affect the fit of mating parts. Clean up as necessary by stoning. Also inspect all tapped holes for thread damage and retap or install helical thread inserts as necessary. Replace any loose or damaged dowel pins.
Section 1.1.4.5
Rust Prevention
After inspection, if the cylinder block is not to be used immediately, spray the machined surfaces with engine oil.
NOTICE: |
|
Castings free of grease or oil will rust when exposed to the atmosphere. Rust on machined surfaces may result in leakage. |
If the block is to be stored for extended period of time, spray or dip it in a polar-type rust preventative. Castings which are free of grease or oil will rust when exposed to the atmosphere.
Section 1.1.5
Reassembly of Cylinder Block
After the cylinder block has been cleaned and inspected, assemble the engine as follows:
|
EYE INJURY |
|
To avoid injury from flying debris when using compressed air, wear adequate eye protection (face shield or safety goggles) and do not exceed 276 kPa (40 psi) air pressure. |
- If a reconditioned or new service replacement cylinder block is used, steam clean it to remove the rust preventive and blow out the oil galleries with compressed air.
- If a new service replacement block is used, stamp the engine serial number and model number on the pad provided on the left side of the block, just below the deck. See Figure
"Location of Engine Serial and Model Numbers"
.

Figure 16. Location of Engine Serial and Model Numbers
- Also stamp the position numbers on the main bearing caps and the position of the No. 1 bearing on the cooler side of the oil pan mounting flange of the block.
- Install the main bearing caps in their original positions; refer to "1.9.3 Installation of Main Bearings Shells (Crankshaft Removed)"
.
NOTICE:
Always check to make sure cooling nozzles are open and aligned after piston installation. An obstructed, misaligned, bent or damaged nozzle may not provide proper piston cooling. A loosened nozzle may cause a loss of main gallery oil pressure. In either case, piston overheating or lack of adequate lubrication may result in severe engine damage.
- On current non-premium engines with cast iron pistons, install the bolt-on plate over the oil gallery orifice at the base of each cylinder bore. On premium engines with closed-end rods and forged steel pistons, install oil spray nozzles into these openings. See Figure
"Oil Spray Nozzle Location"
for location of nozzle. Torque plate nozzle retaining bolts to 30-38 N·m (22-28 lb·ft).

Figure 17. Oil Spray Nozzle Location
- Install all of the required cup plugs. Use a good grade of non-hardening sealant such as Loctite 620 (or equivalent). Apply a thin coat of sealant just inside the chamfer where the plug is to be installed and install using cup plug installation tool set, J 35653
. See Figure
"Cup Plug Installation Tool Set"
.

Figure 18. Cup Plug Installation Tool Set
- Install all of the required pipe plugs.
Note: Whenever a pipe plug is installed, the threads must be coated with Loctite, J 26558-92 part of PT-7276 , pipe sealant with Teflon, or equivalent, before reassembly. Certain plugs available from the parts depot already have a sealer applied to the threads. Although unnecessary, this pre-coating will not be affected if pipe sealer with Teflon is also applied.
- Install the crankshaft main bearings, refer to "1.9.3 Installation of Main Bearings Shells (Crankshaft Removed)" .
- Install the crankshaft, refer to "1.7.3 Installation of Crankshaft" .
- Install cylinder liners if removed, refer to "1.20.3 Installation of Cylinder Liner" .
- Install the piston and connecting rod assembly, refer to "1.18.5 Installation of Piston and Connecting Rod Assembly" .
- Install the oil pan, refer to "3.9.3 Installation of Oil Pan" .
- Install the flywheel housing, refer to "1.16.3 Installation of Flywheel Housing" .
- Install the flywheel, refer to "1.14.3 Installation of Flywheel" .
- Install the cylinder head, refer to "1.2.5 Installation of Cylinder Head" .
- Install the camshaft, refer to "1.22.5 Installation of Camshaft and Camshaft Bearing" .
- Install the gear case, refer to "1.11.3 Installation of Gear Case" .
- Install crankshaft timing gear and timing wheel, refer to "1.27.3 Installation of Crankshaft Timing Gear and Timing Wheel" .
- Install the adjustable idler gear assembly, refer to "1.25.3 Installation of Adjustable Idler Gear Assembly" .
- Install bull gear and camshaft idler gear assembly, refer to "1.26.3 Installation of Bull Gear and Camshaft Idler Gear Assembly" .
- Install the camshaft drive gear, refer to "1.24.3 Installation of Camshaft Drive Gear" .
- Install the gear case cover, refer to "1.10.3 Installation of Gear Case Cover" .
- Install the accessory drive, refer to "1.29.5 Installation of the Accessory Drive" .
- Install the vibration damper, refer to "1.12.3 Installation of Crankshaft Vibration Damper" .
- Install the crankshaft pulley, refer to "1.13.3 Installation of Crankshaft Pulley" .
- Install the engine lifter brackets, refer to "1.5.3 Installation of Lifter Bracket" .
- Install the valve rocker cover, refer to "1.6.6 Pre-installation of Rocker Cover Base" and refer to "1.6.7 Installation of the Two-piece Rocker Cover Base" .
- Install any electrical components, connectors or wiring looms that were removed during disassembly.
- Install the SRS synchronous reference sensor, refer to "2.20.3 Installation of Synchronous Reference Sensor" .
- Install the TRS timing reference sensor, refer to "2.21.3 Installation of Timing Reference Sensor" .
- Install the ECM electronic control module and cold plate if required. Refer to "2.11.3 Installation of the DDEC III ECM" for DDEC III ECMs; refer to "2.12.4 Installation of DDEC II ECM" for DDEC II ECMs.
- Install a suitable lifting device to the engine. See Figure
"Lifting Engine "
.

FALLING ENGINE
To avoid injury from a falling engine, ensure the engine is securely attached to the engine overhaul stand before releasing the lifting sling.
- Remove the engine from the engine overhaul stand. See Figure "Engine Overhaul Stand and Adaptor" .
Transfer the engine to an engine dynamometer test stand. Operate the engine following the Run-in procedure; refer to "11.8.2 Dynamometer Test and Run-in Procedure" .
Reinstall the engine in the equipment from which it was removed.
| Series 50 Service Manual - 6SE50 |
| Generated on 10-13-2008 |