Additional Information
SHOP NOTES
Shop notes contains information on checking bearing clearances, the crankshaft remanufacturing procedures and a glossary.
Cylinder Block Liner Boring
Further information will be printed as it is developed.
Checking Bearing Clearance
A strip of soft plastic squeezed between the crankshaft journal and the connecting rod bearing or main bearing may be used to measure the bearing clearances.
The strip is a specially molded plastic "wire manufactured commercially and is available in three sizes and colors. Type PG-1 (green) has a clearance range of 0.0254-0.0762 mm (0.001-0.003 in.). Type PR-1 (red) has a range of 0.0508-0.1524 mm (0.002-0.006 in.). Type PB-1 (blue) has a range of 0.1016-0.2286 mm (0.004-0.009 in.).
The plastic strip may be used for checking the bearing clearances as follows:
- Remove the bearing cap and wipe the oil from the bearing shell and the crankshaft journal to be checked.
Note: Check the main bearing clearances with the weight of the crankshaft supported by a jack under the counterweight adjoining the bearing being checked. If the engine is positioned with the main bearing caps supporting the crankshaft and flywheel, an erroneous reading could result.
- Place a piece of plastic strip the full width of the bearing shell, about 1/4 inch off center. See Figure
"Using Plastic Strip to Measure Bearing-to-Crankshaft Clearance"
.

Figure 1. Using Plastic Strip to Measure Bearing-to-Crankshaft Clearance
- Install the bearing cap. Torque the bolts to 470-530 N·m (347-391 lb·ft).
- Remove the bearing cap. The flattened plastic strip will be found adhering to either the bearing shell or the crankshaft.
- Compare the width of the flattened plastic strip at its widest point with the graduations on the envelope. See Figure
"Using Plastic Strip to Measure Bearing-to-Crankshaft Clearance"
. The value within the graduation on the envelope indicates the bearing clearance in thousands of an inch. To obtain metric specifications:
- Multiply the reading obtained (in thousandths) by 25.4. Taper may be indicated when one end of the flattened plastic strip is wider than the other.
- Measure each end of the plastic strip. The difference between the two readings is the approximate amount of taper.
CRANKSHAFT REMANUFACTURING PROCEDURES
This section describes the procedures used to remanufacture crankshafts.
Crankshaft Grinding
In addition to the standard size main and connecting rod bearings, 0.25 mm, 0.50 mm and 0.75 mm (approx. 0.010 in., 0.020 in., and 0.030 in.), undersize bearings listed in Table "Crankshaft Journal Specifications" are available.
Crankshafts which exhibit surface irregularities may be reground to utilize these bearings. Listed in Table "Crankshaft Journal Specifications" , are guidelines to determine if the crankshaft is suitable for regrinding:
|
Bearing Size |
Connecting Rod Journal Diameter |
Main Bearing Journal Diameter |
|
Standard |
85.000-84.975 mm (3.346-3.345 in.) |
125.000-124.975 mm (4.921-4.920 in.) |
|
0.250 mm (0.010 in.) Undersize |
84.750-84.775 mm (3.336-3.337 in.)* |
124.750-124.725 mm (4.911.-4.910 in.)* |
|
0.500 mm (0.020 in.) Undersize |
84.500-84.475 mm (3.327-3.326 in.)* |
124.500-124.475 mm (4.902-4.901 in.)* |
|
0.750 mm (0.030 in.) Undersize |
84.250-84.225 mm (3.317-3.316 in.)* |
124.250-124.225 mm (4.892-4.891 in.)* |
Note: * Dimension of reground crankshaft.
Inspection
Perform the following steps for part inspection:
- Determine if the crankshaft is from a Series 50 Engine models as listed in Table
"Crankshaft Part Number History"
.
Model
Forging Part Number
Year Released
Fillet Finishing
8.5L Liter
23511363
1993
Induction Hardened
8.5L Liter
23515595
1994
Induction Hardened
Table 2. Crankshaft Part Number History - Inspect connecting rod and main bearing journals for discoloration due to excessive overheating from bearing failure.
Note: Crankshafts with discoloration are not acceptable for rework.
- Inspect keyway conditions using width gages and micrometers. Compare with the specifications. See Figure
"Standard Crankshaft Keyway Dimensions"
.

Figure 2. Standard Crankshaft Keyway Dimensions
- Inspect flange bolt holes visually and determine if any necessary repairs can be made by chasing threads or installing Heli-coil(s).
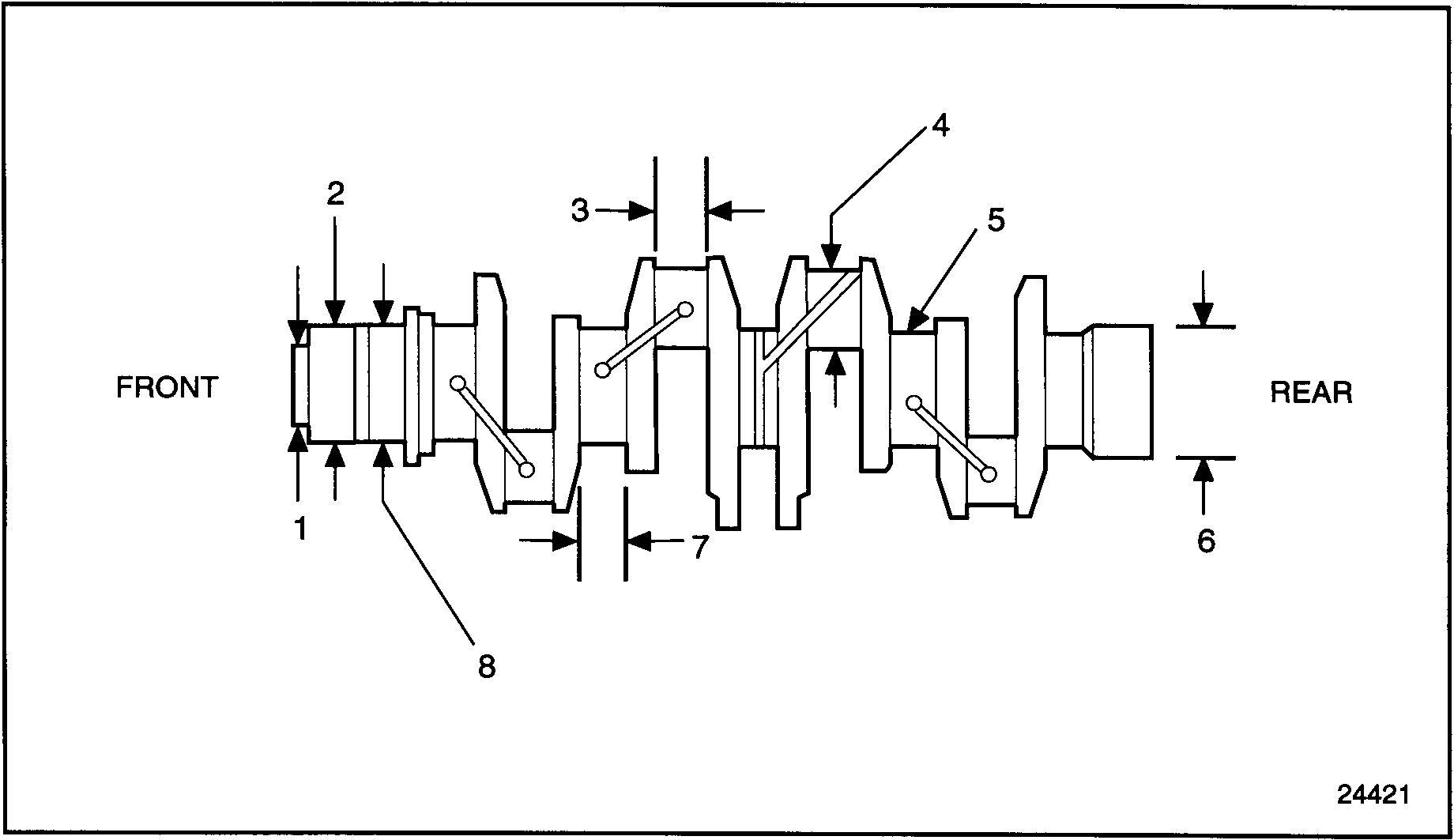
- Regardless of seal area wear condition, a new sleeve and seal must be installed. See Figure
"Standard Crankshaft Dimensions"
.

1. 80.19-80.22 mm (3.157-3.158 in.)
5. 49.45-49.55 mm (1.947-1.950 in.)
2. 131.72-131.78 mm (5.186-5.188 in.)
6. 131.72-131.78 mm (5.186-5.188 in.)
3. 55.77-55.87 mm (2.196-2.200 in.)
7. 49.35-49.65 mm (1.943-1.955 in.)
4. 84.975-85.00 mm (3.345-3.346 in.)
8. Crankshaft Timing Gear Contact Surface Diameter
Figure 3. Standard Crankshaft Dimensions
- Read and record all "bearing" total indicator reading (TIR) measurements with the crankshaft mounted in vee-blocks. Listed in Table
"Bearing Total Indicator Reading (TIR) Specifications"
are TIR limits.
Note: run-out tolerance listed in Table "Bearing Total Indicator Reading (TIR) Specifications" are given for guidance when regrinding crankshaft. When the run-out on adjacent journals is in the opposite direction, the sum must not exceed 0.075 mm (0.003 in.) total indicator reading. When the run-out on adjacent journals is in the same direction, the difference must not exceed 0.075 mm (0.003 in.) total indicator reading.
Journals Supported on
Journals Measured
Maximum Run-Out (Total Indicator Reading)
No. 1 and No. 5
No. 2 and No. 4
0.050 mm (0.002 in.)
No. 1 and No. 5
No. 3
0.075 mm (0.003 in.)
Table 4. Bearing Total Indicator Reading (TIR) Specifications - Whether run-out on adjacent journals is in the same or opposite directions, the sum shall not exceed 0.075 mm (0.003 in.) TIR.
- When high spots of run-out adjacent journals are at right angles to each other, the sum shall not exceed 0.10 mm (0.004 in.) TIR or 0.05 mm (0.002 in.) on each journal.
- In the event of bearing seizure, bearing overlay must be removed. Check the width of journals to determine whether the sidewalls can be reground. See Figure "Standard Crankshaft Dimensions" .
- Visually inspect the entire crankshaft for any serious deviations from normal wear patterns, cracks, nicks or other damage.
- If the crankshaft has been ground undersize prior to present receiving inspection, check fillets, thrust, and all widths to determine whether or not enough stock remains to warrant regrinding. Listed in Table
"Crankshaft Specifications"
are crankshaft specifications.
Crankshaft Specifications
Minimum
Maximum
Tolerance
Journal Diameter-Main Bearing
124.975 mm (4.920 in.)
125.000 mm (4.921 in.)
0.025 mm (0.001 in.)
Journal Diameter-Connecting Rod Bearing
84.975 mm (3.345 in.)
85.000 mm (3.346 in.)
0.025 mm (0.001 in.)
Journal Out-of-Round-Main Bearing
-
0.012 mm (0.0005 in.)
0.012 mm (0.0005 in.)
Journal Out-of-Round-Connecting Rod Bearing
-
0.008 mm (0.0003 in.)
0.008 mm (0.0003 in.)
Journal Taper * - Main Bearing
-
0.012 mm (0.0005 in.)
0.012 mm (0.005 in.)
Journal Taper *-Connecting Rod-Full Length
-
0.008 mm (0.0003 in.)
0.008 mm (0.0003 in.)
Journal Taper * Connecting Rod Half-Length
-
0.004 mm (0.00016 in.)
0.004 mm (0.00016 in.)
Gear Fit run-out TIR (Total Indicated Reading)
-
0.038 mm (0.0015 in.)
0.038 mm (0.0015 in.)
Journal Alignment-Main and Connecting Rod-Per Length of Pin
-
0.012 mm (0.0005 in.)
0.012 mm (0.0005 in.)
Axial Profile Slope-Main - Full Length
-
0.008 mm (0.0003 in.)
0.008 mm (0.0003 in.)
Axial Profile Slope-Mains Per 5.0 mm (0.197 in.) of Length
-
0.006 mm (0.00024 in.)
0.006 mm (0.00024 in.)
Axial Profile Slope-Connecting Rod Journals-Full Length
-
0.006 mm (0.00024 in.)
-
Axial Profile Slope-Connecting Rod Journals-Per 50 mm (0.197 in.) of Length
-
0.003 mm (0.0001 in.)
-
Main Fillet Radius
3.5 mm (0.1378 in.)
4.0 mm (0.1574 in.)
-
Connecting Rod Fillet Radius (23511363)
5.5 mm (0.2165 in.)
6.0 mm (0.2362 in.)
-
Connecting Rod Fillet Radius (23515595)
3.5 mm (0.130 in.)
4.0 mm (0.150 in.)
-
Surface Finish-Main and Connecting Rod Journals
-
0.3 μ m12AA
0.3 μ m12AA
Surface Finish-Thrust Wall
-
0.4 μ m16AA
0.4 μ m16AA
Surface Finish-Oil Seal Area
0.25 μ m10AA
0.63 μ m20AA
0.25 μ m10AA
Journal Hardness (Rockwell "C")
47 Rc
55 Rc
8 Rc
Crankshaft Dynamic Balance-(Ounce-Inch)
-
1.5
1.5
Main and Connecting Rod Journal Alignment Per Length of Pin
-
0.012 mm (0.0005 in.)
-
Convex Crankshaft Butt Face Convex
-
0.013 mm (0.0005 in.)
0.043 mm (0.0017 in.)
Convex Crankshaft Butt Face Concave
0.03 mm (0.0011 in.)
0.043 mm (0.0017 in.)
Table 5. Crankshaft SpecificationsNote: * As Measured on Radial Basis
- Journal O.D. score marks must be:
- Circumferential-not axial.
- Maximum of 0.254 mm (0.010 in.) wide.
- At least 3.175 mm (0.125 in.) from fillet tangent point.
- Smooth, no proud metal.
- Maximum of one mark per journal.
- No journal dimpling permitted for removal of defects.
- Nicks, dents or pits in journal O.D. must be 3.175 mm (0.125 in.) maximum diameter, no proud metal, maximum (3) per journal.
- Pins and bearing journals which exhibit discoloration due to excessive overheating from bearing failure are not acceptable for rework.
- If one or more main or connecting rod journals require grinding, then grind all of the main journals or all of the connecting rod journals to the same required size.
- Inspect the hardness of all journals. Crankshafts to be 47-55 Rc.
- Clean the crankshaft as follows:
- Clean all oil passages with a brush. Power probing is recommended.
- Remove all copper, brass and lead, etc., from journal surfaces. Scrub the crankshaft until clean in a detergent bath.
- Extremely rusted shafts can be soaked in hot rust stripper.
- Scrub all webs and counterweights with a wire brush to remove all blackened residue. Use industrial detergent at proper ratios or regular hot degreaser.
NOTICE:
A crack in any vital area of the crankshaft cannot be repaired or removed. That is why magnetic particle inspection of the entire crankshaft before regrinding is mandatory. Crankshafts that are cracked MUST BE SCRAPPED.
- After a visual inspection, the crankshaft should be magnetically inspected using one of the two following methods:
- Magnetic Particle Method: Refer to "1.7.2.6 Magnetic Particle Method" .
- Fluorescent Magnetic Particle Method: Refer to "1.7.2.7 Fluorescent Magnetic Particle Method" .
MACHINING OPERATIONS
The following topics cover machining operations:
- Main And Connecting Rod Journals
- Grinding Connecting Rod Journals (Pins)
- Grinding Main Bearing Journals
Main and Connecting Rod Journals
To machine main and connecting rod journals, perform the following:
- Connecting rod and main bearing journal grinding should be performed with crankshaft rotation opposite to actual engine rotation. See Figure
"Crankshaft Grinding Rotation"
.
Note: Crankshaft and main journal grinding should be performed with crankshaft rotation opposite to actual engine rotation. While polishing should be performed with the crankshaft rotation in the same direction as engine rotation.

Figure 4. Crankshaft Grinding Rotation
- Crankshaft polishing should be performed with the crankshaft rotation in the same direction as engine rotation.
- All connecting rod journal fillets must have a 5.75 mm (0.226 in.) for 23511363 crank, and 3.75 mm (0.148 in.) for crank 23515595 radius between the crank cheek and the journal.
- All main journal fillets must have a 3.75 mm (0.148 in.) radius between the crank cheek and the journal.
- No journal may have any sharp grind marks. The fillet must blend smoothly into the journal and the crank cheek and must be free of scratches.
- The radius may be checked with a fillet gage. See Figure
"Crankshaft Journal Fillets"
.

Figure 5. Crankshaft Journal Fillets
- Lobing and Chatter: The No. of lobes around the journal circumference, times the average peak to valley lobe height in micrometers, shall not exceed 42 micrometers. Peak to valley excursions exceeding 1.0 micrometers shall be considered lobing or chatter.
- Excursions can be measured on a circular chart of the circumferential profile.
Grinding Connecting Rod Journals (Pins)
Perform the following steps for grinding connecting rod journals:
- Grind the pin O.D. surface to the specified undersize. The undersize conditions are 0.250 mm, 0.500 mm or 0.750 mm (approximately 0.010 in., 0.020 in. or 0.030 in.) undersize.
- ALL connecting rod journals must be ground to the same undersize condition.
- Journal taper on a radial basis shall not exceed 0.008 mm (0.0003 in.) overall, or exceed 0.004 mm (0.00016 in.) on half-length.
Note: Avoid localized heating, which often produces grinding cracks. Cool the crankshaft generously with coolant while grinding. Do not crowd the grinding wheel into the work.
- Grind sidewalls wide enough to clean up the basic face surface, not to exceed pin width allowable. See Figure "Standard Crankshaft Dimensions" .
- If there are deep interruptions, gouges or nicks that do not extend into fillets, smooth the edges with 120 grit emery cloth.
Grinding Main Bearing Journals
Perform the following steps for grinding main bearing journals:
- Grind the main bearing O.D. surface to the specified undersize. The undersize conditions are 0.250, 0.500 or 0.750 mm (approximately 0.010, 0.020, or 0.030 in.) undersize.
Note: Avoid localized heating, which often produces grinding cracks. Cool the crankshaft generously with coolant while grinding. Do not crowd the grinding wheel into the work.
- ALL main bearing journals must be ground to the same undersize conditions.
- Journal taper on a radial basis shall not exceed 0.012 (0.0005 in.) overall or exceed 0.006 mm (0.00024 in.) on half-length.
Other Machining Operations:
Perform the following steps for other machining operations:
- Examine the thrust wall (No. 4 Main Bearing):
- If the thrust wall surface is scored, scratched or groove worn, the thrust wall must be "bump ground."
- The maximum run out of the thrust wall is 0.038 mm (0.0015 in.) TIR.
- If wear is 0.0508 mm (0.002 in.) or more, regrind to restore flatness to the thrust wall. See Figure "No. 4 Main Journal Thrust Wall Dimensions" .
- An oversize thrust wall is to be "bump ground" in multiples of 0.127 mm (0.005 in.), with a maximum of 0.250 mm (0.010 in.) to be removed from each side. Record oversize for installations.

Figure 6. No. 4 Main Journal Thrust Wall Dimensions
Note: Avoid localized heating, which often produces grinding cracks. Cool the crankshaft generously with coolant while grinding. Do not crowd the grinding wheel into the work.
- Chamfer all oil holes to remove grinding burrs to the limit shown on illustrations. See Figure
"Oil Hole Specifications - Connecting Rod Journals - Crankshaft (160 mm stroke)"
. See Figure
"Connecting Rod Journal Oil Hole Chamfer Limits"
. See Figure
"Main Journal Oil Hole Chamfer Limits"
.

Figure 7. Oil Hole Specifications - Connecting Rod Journals - Crankshaft (160 mm stroke)

Figure 8. Connecting Rod Journal Oil Hole Chamfer Limits

Figure 9. Main Journal Oil Hole Chamfer Limits
- Repair the flywheel and pulley contact faces of the crankshaft to clean up the surface of any nicks, gouges or raised metal. The crankshaft face must be 0.013 mm (0.0005 in.) convex to 0.030 mm (0.001 in.) concave.
After-grinding Inspection
Perform the following steps for after grinding:
- Inspect the crankshaft by the magnetic particle method after grinding has been completed to determine whether the grinding operation has produced cracks.
- Retap and check all internal threads with plug gages to determine acceptability. If necessary, Heli-coil pulley and flywheel flange bolt holes with the following restrictions: Heli-coil 2 holes max. per crankshaft end (front or rear). Heli-coil of two adjacent holes at rear (forward end) is not permitted.
- Demagnetize the crankshaft.
- Clean the crankshaft and oil passages thoroughly with clean fuel oil.

EYE INJURY
To avoid injury from flying debris when using compressed air, wear adequate eye protection (face shield or safety goggles) and do not exceed 276 kPa (40 psi) air pressure.
- Dry the crankshaft with compressed air.
GLOSSARY
The following glossary terms support the Series 50 Engines.
Glossary Terms
AA - ARITHMETICAL AVERAGE: The average total sum of the heights and depths of the ridges and valleys above and below the mean reference line. Limits for journal surfaces are 0.3 μ N (12 AA).
AXIAL PROFILE: The deviation of the journal surface from a reference line. Total peak to valley variation per full length of journal.
AXIAL PROFILE SLOPE: The amount of variation tolerable from the mean reference line of the journal in a particular distance (example: 0.0025 mm [0.0001 in.] deviation/2.54 mm [0.100 in.] length maximum). This specification indicates that any deviation in excess of 0.0025 mm 0.0001 in.) inside a 2.54 mm (0.100 in.) length is not acceptable.
GOULD 1200: Surfanalyzer 1200 surface texture measuring system is used to determine surface parameters such as profile, roundness and waviness. A diamond stylus having a radius of 0.0025-0.013 mm (0.0001-0.0005 in.) is moved at a constant speed over the surface. Vertical displacements of this stylus are converted into a voltage signal through a linear variable differential transformer.
OIL HOLE WASHOUT: The localized removal of material below the reference surface of an idealized round and straight journal at the trailing edge of the oil hole. This condition is the result of excessive polishing with a soft black apparatus (nut cracker, soft show, rawhide) with lapping paper or cloth in an attempt to improve the surface finish.
A depression (washout) extending beyond the oil hole blend out ellipse reduces the effective bearing area appreciably. This type of polishing is not recommended.
PIN and CRANKPIN: The cylindrical piece to which the connecting rod is attached.
RADIAL CHATTER: This term relates to surface irregularities which are of greater magnitude or spacing than those indicated by the term roughness. Chatter might be the result of vibration or deflection of a cutting tool, of some part of the machine, or the work itself.
ENGINE PLUG AND DOWEL CHARTS
The following graphics, see Figure "Right Side View" , see Figure "Left Side View" , see Figure "Cylinder Head Deck" , see Figure "Front View" , see Figure "No. 4 Main Bearing Cap" , see Figure "Rear View" , see Figure "Cylinder Head Dowel Chart" , and see Figure "Cylinder Head Cup and Pipe Plug and Dowel Chart" , support the Series 50 Engines plugs and dowels configurations.

|
1. 8929015 Dowel (Round) |
5. 8929153 Dowel (Diamond) |
|
2. 8922327 1/4 in. Pipe Plug (4 places). Torque to 19-24 N·m (14 -18 lb·ft). |
6. 8929594 3/8 in. Pipe Plug (2 places). Torque to 24-31 N·m (18 - 23 lb·ft). |
|
3. 8924140 Draincock |
7. 5139991Cup Plug (3 places) |
|
4. 8929022 Dowel (Diamond) (2 Places) |
8. 8929152 Dowel (Round) |
Figure 10. Right Side View

|
1. 8929022 Dowel (Diamond) (2 places) |
5. 8929152 Dowel (Round) |
|
2. 8923916 3/8 in. Pipe Plug (2 places). Torque to 24-31 N·m (18-23 lb·ft). |
6 .8929153 Dowel (Diamond) |
|
3. 8923916 1/2 in. Pipe Plug (1 place) torque to 31-39 N·m (23-29 lb·ft). |
7. 8922327 1/4 in. Pipe Plug (2 places).* |
|
4. 8922327 1/4 in. Pipe Plug (4 places). Torque to 19-24 N·m (14-18 lb·ft). |
8. 8929015 Dowel (Round) |
|
|
|
|
*Required for pressure testing only. |
|
Figure 11. Left Side View

|
1. 8929153 Dowel (Diamond) |
3. 5151272 Plug* |
|
2. 8929152 Dowel (Round) |
|
|
|
|
|
* Install flush to 1.0 mm (0.040 in.) below surface. |
|
Figure 12. Cylinder Head Deck

|
1. 8929022 Dowel (Diamond) |
2. 5139988 Cup Plug |
Figure 13. Front View

Figure 14. No. 4 Main Bearing Cap

|
1. 8929022 Dowel (Diamond) |
3. 8929015 Dowel (Round) |
|
2. 5139988 Cup Plug (2 places) |
|
Figure 15. Rear View

|
1. 5138638 Dowel (Hollow) (5 places). Install to a height of 5.0 mm ± 0.5 mm (0.199 in. ± 0.010 in.). Bearing Cap. |
2. 5143033 Dowel (Diamond) (3 places). Install to a height of 6.1 mm ± 0.5 mm (0.240 in. ± 0.010 in.). |
Figure 16. Cylinder Head Dowel Chart

|
1. 5109157 Cup Plug (6 places) |
5. 89269991 Fuse Plug. Torque to 19-24 N·m (14-18 lb·ft). |
|
2. 5139991 Cup Plug (2 places). |
6. 23511573 3/4 in. Pipe Plug (2 places). Torque to 45-56 N·m (33-41 lb·ft). |
|
3. 23513197 Square Head Pipe Plug. Front and Rear. |
7. 23511574 1 in. Pipe Plug (1 place). Torque to 19-24 N·m (14-18 lb·ft). |
|
4. 23511572 1/2 in. Pipe Plug (2 places). Torque to 31-39 N·m (23-29 lb·ft). |
|
Figure 17. Cylinder Head Cup and Pipe Plug and Dowel Chart
SPECIFICATIONS
Specifications, clearances and wear limits are listed below. It should be specifically noted that the clearances apply only when all new parts are used at the point where the various specifications apply. This also applies to references within the text of the manual. The column entitled "Limits," in the following tables, lists the amount of wear or increase of clearance which can be tolerated in used engine parts and still ensure satisfactory performance. It should be emphasized that the values given as "Limits" must be qualified by the judgment of personnel responsible for installing new parts. These wear limits are, in general, listed only for the parts more frequently replaced in engine overhaul work. For additional information, refer to the text.
Table of Specifications, New Clearances, and Wear Limits
These limits also apply to oversize and undersize parts.
Refer to the following tables to obtain specifications, new clearances, and wear limits for the Series 50 Engines:
- Cylinder block is listed in Table "Cylinder Block" .
- Cylinder liner is listed in Table "Cylinder Liner" .
- Cross-head piston and piston rings are listed in Table "Cross-head Piston and Piston Rings" .
- Piston pin is listed in Table "Piston Pin" .
- Crankshaft is listed in Table "Crankshaft" .
- Connecting rod bearing is listed in Table "Connecting Rod Bearing" .
- Main bearing is listed in Table "Main Bearing" .
- Camshaft is listed in Table "Camshaft" .
- Camshaft bearing is listed in Table "Camshaft Bearing" .
- Camshaft drive gear is listed in Table "Camshaft Drive Gear" .
- Idler gear is listed in Table "Idler Gear" .
- Crankshaft timing gear is listed in Table "Crankshaft Timing Gear" .
- Bull gear is listed in Table "Bull Gear" .
- Cylinder head is listed in Table "Cylinder Head" .
- Intake valve seat insert is listed in Table "Intake Valve Seat Inserts" .
- Exhaust valve seat insert is listed in Table "Exhaust Valve Seat Inserts" .
- Intake valves are listed in Table "Intake Valves" .
- Exhaust valves are listed in Table "Exhaust Valves" .
- Valve guides are listed in Table "Valve Guides" .
- Rocker arms and shaft are listed in Table "Rocker Arms and Shafts " .
- Cam follower roller is listed in Table "Cam Follower Roller" .
- Series 50 Diesel, valve lash, Jake Brake and camshaft timing specifications are listed in Table "Series 50 Diesel Valve Lash, Jake Brake Lash and Camshaft Timing Specifications" .
- Series 50 Gas, valve lash and camshaft timing specifications are listed in Table "Series 50 Gas Valve Lash and Camshaft Timing Specifications" .
|
Engine Part (Standard Size, New) |
Minimum |
Maximum |
Limits |
|
Cylinder Block |
— |
— |
— |
|
Block Bore: Diameter-15.0mm(0.60 in.) from top of block |
149.050 mm (5.868 in.) |
149.120 mm (5.871 in.) |
0.070 mm (0.003 in.) |
|
Diameter- 235.0 mm(9.25 in.) from top of block |
146.050 mm (5.750 in.) |
146.120 mm (5.753 in.) |
0.070 mm (0.003 in.) |
|
Diameter- 270.0 mm (10.63 in.) from top of block |
146.050 mm (5.750 in.) |
146.120 mm (5.753 in.) |
0.070 mm (0.003 in.) |
|
Out-of-round |
— |
— |
0.0254 mm (0.001 in.) |
|
Taper (lower bore) |
— |
— |
0.0254 mm (0.001 in.) |
|
Cylinder Liner Counterbore: |
— |
— |
— |
|
Diameter |
157.15 mm (6.187 in.) |
157.25 mm (6.191 in.) |
— |
|
Depth * |
8.9246 mm (0.3514 in.) |
8.9746 mm (0.3533 in.) |
— |
|
Main Bearing Bore: |
— |
— |
— |
|
Inside diameter (vertical axis) |
133.00 mm (5.236 in.) |
133.025 mm (5.237 in.) |
— |
|
Top Surface of Block: |
— |
— |
— |
|
Center of main bearing bore to top of block |
436.50 mm (17.1850 in.) |
436.62 mm (17.1897 in.) |
— |
|
Flatness (transverse) |
— |
— |
0.076 mm (0.003 in.) |
|
Flatness (longitudinal) |
— |
— |
0.120 mm (0.005 in.) |
Note: * The bottom of the counterbore must not vary in depth more than 0.04 mm (0.0015 in.). No two adjacent counterbores can vary in depth more than 0.025 mm (0.001 in.) when gaged longitudinally.
|
Engine Part (Standard Size, New) |
Minimum |
Maximum |
Limits |
|
Outside Diameter (below flange) |
148.95 mm (5.864 in.) |
149.00 mm (5.866 in.) |
— |
|
Outside Diameter (below crevice seal groove) |
145.985 mm (5.747 in.) |
146.035 mm (5.749 in.) |
— |
|
Outside Diameter (between "D" ring grooves) |
145.985 mm (5.747 in.) |
146.035 mm (5.749 in.) |
— |
|
Flange Thickness |
8.960 mm (0.3527 in.) |
9.00 mm (0.3543 in.) |
— |
|
Inside Diameter |
130.00 mm (5.118 in.) |
130.05 mm (5.120 in.) |
— |
|
Out-of-Round (inside diameter) |
— |
— |
0.025 mm (0.001 in.) |
|
Taper |
— |
— |
0.025 mm (0.001 in.) |
|
Height of Flange ABOVE Block |
-0.0127 mm (-0.0005 in.) |
0.0762 mm (0.003 in.) |
— |
|
Variation in Height between Adjacent Liners |
— |
— |
0.05 mm (0.002 in.) |
|
Engine Part (Standard Size, New) |
Minimum |
Maximum |
Limits |
|
At top (above firing ring) |
128.64 mm (5.064 in.) |
128.84 mm (5.072 in.) |
— |
|
Below (2nd) compression ring |
129.775 mm (5.1093 in.) |
129.825 mm (5.112 in.) |
— |
|
Compression Rings |
— |
— |
— |
|
Gap (2.5 mm chrome fire ring) |
0.40 mm (0.016 in.) |
0.87 mm (0.034 in.) |
— |
|
Gap (3.5 mm plasma fire ring) (High sulfur fuel export engines) |
0.51 mm (0.020 in.) |
0.87 mm (0.034 in.) |
— |
|
Gap (No. 2 compression ring) |
0.80 mm (0.031 in.) |
1.31 mm (0.051 in.) |
— |
|
Clearance ring-to-groove: |
— |
— |
— |
|
Top (keystone fire ring) |
must be checked with Piston Ring Land Gage J 35884-A |
— |
— |
|
No. 2 (keystone compression ring) |
must be checked with Piston Ring Land Gage J 38689-A |
— |
— |
|
Oil Control Rings |
— |
— |
— |
|
Gap |
0.40 mm (0.016 in.) |
0.81 mm (0.032 in.) |
— |
|
Clearance |
0.03 mm (0.001 in.) |
0.11 mm (0.004 in.) |
— |
|
Piston Pin Bore in Dome (3-piece bushing) |
51.000 mm (2.0078 in.) |
51.025 mm (2.0088 in.) |
— |
|
Piston Skirt to Liner Clearance (thrust faces) |
0.047 mm (0.0020 in.) |
0.184 mm (0.0072 in.) |
— |
|
— |
— |
— |
— |
|
Engine Part (Standard Size, New) |
Minimum |
Maximum |
Limits |
|
Piston Pin Diameter |
44.99 mm (1.7712 in.) |
45.00 mm (1.7716 in.) |
44.96 mm (1.770 in.) |
|
Engine Part (Standard Size, New) |
Minimum |
Maximum |
Limits |
|
Journal Diameter (main bearing) |
124.975 mm (4.920 in.) |
125.000 mm (4.921 in.) |
- |
|
Journal Diameter (connecting rod bearing) |
84.975 mm (3.345 in.) |
85.000 mm (3.346 in.) |
- |
|
Journal Out-of-Round (ROD) |
- |
- |
0.008 mm (0.0003 in.) |
|
Journal Out-of-Round (MAIN) |
- |
- |
0.0127 mm (0.0005 in.) |
|
Journal Taper: Main Bearing |
- |
- |
0.0127 mm (0.0005 in.) |
|
Connecting Rod (full length) |
- |
- |
0.008 mm (0.0003 in.) |
|
Connecting Rod (half length) |
- |
- |
0.004 mm (0.00016 in.) |
|
Run-out on Journals-Total Indicator Reading (mounted on numbers 1 and 7 Journals): At Journals No. 2 and 6 * |
- |
- |
0.075 mm (0.003 in.) |
|
At Journals No. 3 and 5 |
- |
- |
0.130 mm (0.005 in.) |
|
At Journal No. 3 |
- |
- |
0.152 mm (0.006 in.) |
|
No. 4 Main Bearing Journal Thrust Width |
49.45 mm (1.947 in.) |
49.55 mm (1.950 in.) |
- |
|
Thrust washer Thickness |
3.48 mm (0.137 in.)̷ |