Section 13.5
Description of Maintenance Items
For locations of components and systems to be maintained, see Figure "Preventive Maintenance Service Items" , and see Figure "Preventive Maintenance Service Items" .

|
1. Drive Belts |
5. Cranking Motor |
|
2. Rocker Cover |
6. Fuel Filter |
|
3. Air Compressor |
7. Fuel Filter Fitting |
|
4. Transmission Mounts |
|
Figure 1. Preventive Maintenance Service Items

|
1. Oil Cooler |
5. Water Bypass Tube |
|
2. Thermostat Housing |
6. Water Pump |
|
3. Thermostat Vent |
7. Oil Pan |
|
4. Thermostats and Seals |
|
Figure 2. Preventive Maintenance Service Items
Section 13.5.1
Lubricating Oil
Check the lubricating oil level with the engine stopped and the vehicle on level ground. If the engine has just been stopped and is warm, wait approximately 20 minutes to allow the oil to drain back to the oil pan. Add the proper grade oil as required to maintain the correct level on the dipstick. Refer to "5.2 Lubricating Oil" .
Note: Oil may be blown out through the crankcase breather if the crankcase is overfilled.
Make a visual check for oil leaks around the filters and the external oil lines.
Select the proper grade of oil. Refer to "5.2 Lubricating Oil" .
Change the lubricating oil as follows:
- Position the vehicle or equipment on level ground.
- If the engine is cold, run it until it is warm.
Note: If the lubricating oil is drained immediately after an engine has been run for some time, most of the sediment will be in suspension and will drain readily.
NOTICE:
When removing or installing a side plug, hold the flats of the insert with a 2 1/8 in., or larger, open end adjustable wrench to keep it from turning. If the insert is loosened, it may be necessary to remove the oil pan, and retighten the nut to prevent a possible oil leak.
- Remove drain plug on the bottom of oil pan. Drain lube oil into a suitable container. Always dispose of used lubrication oil in an environmentally responsible manner, according to EPA and state recommendations.
- Coat drain plug(s) with Loctite PT7271 sealant (or equivalent). Install and torque to 45-56 N·m (33-41 lb·ft).
To replace the lube oil filters, perform the following procedure:
- Remove the spin-on filter cartridges using strap wrench tool J 29917 (or equivalent) and a 1/2 in. drive socket wrench and extension.
- Dispose of the used oil and filters in an environmentally responsible manner, according to EPA and state recommendations.
- Clean the filter adaptor with a clean, lint-free cloth.
- Lightly coat the filter gaskets (seals) with clean engine oil.
- Start the new filters on the adaptor, and tighten by hand until the gaskets touch the mounting adaptor head. Tighten full flow filters an additional two-thirds turn by hand.
Add oil as required to bring the level to the "full" mark on the dipstick. Twenty two quarts (21 L) are required when the filters are not changed.

PERSONAL INJURY
Diesel engine exhaust and some of its constituents are known to the State of California to cause cancer, birth defects, and other reproductive harm.
- Always start and operate an engine in a well ventilated area.
- If operating an engine in an enclosed area, vent the exhaust to the outside.
- Do not modify or tamper with the exhaust system or emission control system.
Start and run the engine for a short period, and check for leaks. After leaks have been corrected, stop the engine long enough for oil to drain back to the crankcase (approximately 20 minutes). Add oil as required to bring the level to the proper mark on the dipstick.
Section 13.5.2
Fuel Tanks
Keep the fuel tank filled to reduce the condensation to a minimum. Select the proper grade of fuel in accordance with the Fuel Specifications. Refer to "5.1 Fuel" .
Open the drain at the bottom of the fuel tank every 30,000 miles/48,000 km (300 hours for industrial applications), to drain off any water and sediment.
Every 12 months or 60,000 miles/96,000 km (600 hours for industrial applications), whichever comes first, tighten all fuel tank mountings and brackets (refer to OEM maintenance guidelines). At the same time, check the seal in the fuel tank cap, the breather hole in the cap and the condition of the flexible fuel lines. Repair or replace the parts as necessary (refer to OEM maintenance guidelines).
The most common form of diesel fuel contamination is water. Water is harmful to the fuel system in itself, but it also promotes the growth of microbiological organizations (microbes). These microbes clog fuel filters with a "slime" and restrict fuel flow.
Condensation is particularly prevalent on units that stand idle for extended periods of time. Ambient temperature changes cause condensation in partially filled fuel tanks.
Units in storage are particularly susceptible to microbe growth. The microbes live in the fuel-water interface. They need both liquids to survive. These microbes find excellent growth conditions in the dark, quiet, non-turbulent nature of the fuel tank.
Microbe growth can be eliminated through the use of commercially available biocides. There are two basic types on the market:
- The water soluble type treats only the tank where it is introduced. Microbe growth can start again if fuel is transferred from a treated to an untreated tank.
- The diesel fuel soluble type, such as "Biobor" manufactured by U.S. Borax (or equivalent), treats the fuel itself, and therefore, the entire fuel system.
Any units that will sit idle for extended periods, or any units being stored, should be treated as follows: Add the biocide according to the manufacturer's instructions. This operation is most effective when performed as the tank is being filled. Add dry gas (isopropyl alcohol) in the correct proportions.
If the fuel tanks were previously filled, add the chemicals and stir with a clean rod.
Section 13.5.3
Fuel Lines and Flexible Hoses
Make a visual check for fuel leaks at all engine-mounted fuel lines and connections, and at the fuel tank suction and return lines. Since fuel tanks are susceptible to road hazards, leaks in this area may best be detected by checking for accumulation of fuel under the tanks.
The performance of engine and auxiliary equipment is greatly dependent on the ability of flexible hoses to transfer lubricating oil, air, coolant and fuel oil. Diligent maintenance of hoses is an important step in ensuring efficient, economical and safe operation of the engine and related equipment.
Check hoses daily as part of the pre-start up inspection. Examine hoses for leaks and check all fittings, clamps and ties carefully. Ensure that hoses are not resting on or touching shafts, couplings, heated surfaces, including exhaust manifolds, any sharp edges or other obviously hazardous areas. Since all machinery vibrates and moves to a certain extent, clamps and ties can fatigue with age. To ensure continued proper support, inspect fasteners frequently and tighten or replace them, as necessary (refer to OEM maintenance guidelines).
Investigate leaks immediately to determine if hoses have ruptured or worn through. Take corrective action immediately. Leaks are not only potentially detrimental to machine operation, but they also result in added expense caused by the need to replace lost fluids.
|
FIRE |
|
To avoid injury from fire, contain and eliminate leaks of flammable fluids as they occur. Failure to eliminate leaks could result in fire. |
A hose has a finite service life. The service life of a hose is determined by the temperature and pressure of the air or fluid within it, its time in service, its mounting, the ambient temperatures and amount of flexing and vibration to which it is subjected. With this in mind, all hoses should be thoroughly inspected annually. Look for cover damage or indications of damaged, twisted, worn, crimped, brittle, cracked or leaking lines. Hoses having the outer cover worn through or damaged metal reinforcement should be considered unfit for further service.
All hoses in or out of machinery should be replaced during major overhaul or after a maximum of five years service.
Section 13.5.4
Cooling System
Check the coolant level daily. Ensure it is within 2 in. (50 mm) of the filler neck or vehicle manufacturer's recommendation. Add coolant, as necessary.
Note: Do not overfill the coolant system.
Make a visual check for cooling system leaks. Check for an accumulation of coolant beneath the vehicle during periods when the engine is running and when the engine is stopped.
Note: In order to ensure the integrity of the cooling system, it is recommended that a periodic cooling system pressure check be performed. Pressurize the cooling system 103-138 kPa (15-20 lb/in.2 ) using radiator cap and cooling system tester, J 24460-01 . Do not exceed 138 kPa (20 lb/in.2 ). Any measurable drop in pressure may indicate an external/internal leak. Whenever the oil pan is removed, the cooling system should be pressure checked as a means of identifying any internal coolant system leaks.
Clean the cooling system every 24 months using a good radiator cleaning combination in accordance with the instructions on the container. After the cleaning operation, rinse the cooling system thoroughly with fresh water. Then fill the system with the proper anti-freeze/water mixture and pre-charge of inhibitors.
Inspect all of the cooling system hoses at least once every 30,000 miles/48,000 km (300 hours for industrial applications) to ensure the clamps are tight and properly seated on the hoses and to check for signs of deterioration. Replace the hoses, if necessary. Refer to OEM maintenance guidelines.
Drain the engine coolant as follows:
- Allow engine to cool.

HOT COOLANT
To avoid scalding from the expulsion of hot coolant, never remove the cooling system pressure cap while the engine is at operating temperature. Wear adequate protective clothing (face shield, rubber gloves, apron, and boots). Remove the cap slowly to relieve pressure.
- Remove drain plugs from the bottom of water pump, at the right rear of the engine, and at the bottom of the thermostat housing.
- Remove radiator pressure cap.
- Open valve at bottom of radiator.
- Collect used antifreeze in a suitable container, and dispose of the solution in an environmentally responsible manner, according to state and federal (EPA) recommendations.
- Replace all drain plugs, and close any drain valves.
- Refill the system with proper antifreeze and clean soft water mixture.
- Purge entrapped air by allowing the engine to warm-up without the pressure cap installed. With the transmission in neutral, increase engine speed above 1000 r/min. Add coolant as required.
- Allow engine to cool.
- Install the pressure cap after filling the coolant level to the bottom of the radiator filler neck.
If the cooling system is contaminated, flush the cooling system as follows:
- Drain the coolant from the engine.
- Refill with soft clean water.
Note: If the engine is hot, fill slowly to prevent rapid cooling and distortion of the engine castings.

PERSONAL INJURY
Diesel engine exhaust and some of its constituents are known to the State of California to cause cancer, birth defects, and other reproductive harm.
- Always start and operate an engine in a well ventilated area.
- If operating an engine in an enclosed area, vent the exhaust to the outside.
- Do not modify or tamper with the exhaust system or emission control system.
- Start the engine and operate it for 15 minutes after the thermostats have opened to thoroughly circulate the water.
- Drain the unit completely.
- Refill with clean water and operate for 15 minutes after the thermostats have opened.
- Drain the unit completely.
- Fill with 50/50 antifreeze/water and precharge of inhibitor.
- Purge entrapped air by allowing the engine to warm-up without the pressure cap installed. With the transmission in neutral, increase engine speed above 1000 r/min. Add coolant as required.
- Allow engine to cool.
- Install the pressure cap after filling the coolant level to the bottom of the radiator filler neck.
Section 13.5.4.1
Test Procedure for DDEC Engines Equipped with Low Coolant Level Sensor (CLS)
The following test procedure is for engine cooling systems that are equipped with a low coolant sensor mounted in the top tank of the radiator. This sensor must be tested annually or every 100,000 miles (160,000 km), whichever comes first.
|
HOT COOLANT |
|
To avoid scalding from the expulsion of hot coolant, never remove the cooling system pressure cap while the engine is at operating temperature. Wear adequate protective clothing (face shield, rubber gloves, apron, and boots). Remove the cap slowly to relieve pressure. |
- Allow the engine to cool to ambient temperature.
- Turn ignition switch on and verify no coolant level sensor codes. (DO NOT START ENGINE.)
- Reduce coolant level below CLS level.
-
Check "stop engine light". It should illuminate within 10 seconds, indicating low coolant level.
- If light illuminates, system is working properly.
- If light does not illuminate, refer to "13.5.4.2 Stop Engine Light Did Not Illuminate " .
- Fill coolant to proper level. Refer to "13.5.4 Cooling System" .
Section 13.5.4.2
Stop Engine Light Did Not Illuminate
If stop engine light did not illuminate, use the following procedure:
- Check wiring harness and mating connector for damaged wires or pins.
- Remove and clean sensor. Wash with mild detergent and rinse with clean water.
- Submerge sensor in container of water up to connector with wiring harness connected.
- Turn ignition switch on. (DO NOT START ENGINE.)
- Slowly remove sensor from water.
- The light should illuminate, indicating low coolant level.
- If light does illuminate, system is working properly.
- If light still does not illuminate, replace sensor and return it to DDC.
Section 13.5.5
Turbocharger
Inspect the mountings, intake and exhaust ducting and connections for leaks. Check the oil inlet and outlet lines for leaks and restrictions to oil flow. Check for unusual noise or vibration and, if excessive, remove the turbocharger and correct the cause. Refer to "6.6.1 Repair or Replacement of Turbocharger (Series 50 Gas)" .
Section 13.5.6
Battery
On batteries equipped with charge indicator eyes, periodically check for adequate charge. If batteries are the filler cap type, check the level of the electrolyte every 100 hours or every 7,500 miles (12,000 km). In warm weather, however, it should be checked more frequently due to a more rapid loss of water from the electrolyte. Electrolyte should be maintained in accordance with the battery manufacturer's recommendations. Periodically remove, check and clean battery post terminals and connections. Replace corroded or damaged parts. Refer to "8.4.1 Repair or Replacement of Storage Battery" .
Section 13.5.7
Drive Belts
New standard vee-belts and Powerband ® belts will stretch after the first few hours of operation. Run the engine for 10 to 15 minutes at 1200 r/min to seat the belts, then readjust the tension. Check the belts and tighten the fan drive, battery charging generator or alternator and other accessory drive belts after 1/2 hour or 15 miles and again after 8 hours or 250 miles (400 km) of operation. Thereafter, check the tension of the drive belts every 100 hours or 7,500 miles (12,000 km) and adjust, if necessary. Belts should be neither too tight nor too loose. Belts that are too tight impose excess loads on the crankshaft, fan and/or alternator bearings, shortening both belt and bearing life. Excessively overtightened belts can result in crankshaft breakage. A loose belt will slip and may cause damage to accessory components.
Note: Replace ALL belts in a set when one is worn.
Single belts of similar size should not be used as a substitute for a matched belt set: premature belt wear can result because of belt length variation. All belts in a matched belt set are within 0.032 in. (0.81 mm) of their specified center distances.
With a belt tension gage, J 23600 new number BT-3373–F , or equivalent, adjust the belt tension as listed in Table "Fan Drive Belt Tensions" listed in Table "Alternator Drive Belt Tensions" and .
|
FAN DRIVE |
|
|
Single Belt |
2 or 3 Belt |
|
355–455 N (80–100 lb) |
266–3555 N (60–80 lb) |
|
ALTERNATOR DRIVE |
||
|
Belt |
New |
Used |
|
Two 1/2 in. V-Groove |
556 N (125 lb) |
445 N (100 lb) |
|
2–Groove Powerband® |
890 N (200 lb) |
667 N (150 lb) |
|
12–Rib Poly-V 50 DN Alternator |
1,558 N (350 lb) |
1,115 N (250 lb) |
If a belt tension gage is not available, adjust the belt tension so that a firm push with the thumb, at a point midway between the two pulleys, will depress the belt 12.70-19.05 mm 0.500-0.750 in.).
Note: When installing or adjusting an accessory drive belt, ensure the bolt at the accessory adjusting pivot point is properly tightened, as well as the bolt in the adjusting slot.
Note: Drive belts (vee, Powerband®, and poly-vee) should be replaced every 2,000 hours or 100,000 miles (160,000 km).
A single poly-vee belt is used with the 50 DN Alternator. The 12-rib alternator drive belt tension is set at 1558 N (350 lb) during engine assembly and belt replacement using Kent-Moore belt tension gage, J 41251-B , or equivalent. A new belt loses tension rapidly during the first few minutes of operation. Therefore, it is important to check the tension after 30 minutes of operation. Allow the belt to cool with the engine off for 30 minutes before measuring tension.
- If the tension on the belt is greater than or equal to 1115 N (250 lb), no further tensioning is required.
- If the tension on the belt is less than 1115 N (250 lb), tension the belt to 1115 N (250 lb).
Periodic tensioning of the belt is required to maximize belt life. The belt tension should be measured once per month or every 7,500 miles (12,000 km), whichever comes first.
A belt tensioning tool is available from Detroit Diesel, J 41251-B . The gage is calibrated from 779 to 1558 N (175 to 350 lb). The following procedure will describe proper use of the belt tensioning tool:
NOTICE: |
|
Failure to properly orient the drive belt when installing it over the pulleys may result in belt damage at engine startup. |
- Poly-vee belts are very sensitive to undertension. Without a gage and proper tension measurement, the belt tension will probable be too low. Undertension wears belts rapidly and will lead to premature belt failure.
- Measure the belt tension between the alternator drive pulley and the upper idler pulley, or between the upper idler pulley and the alternator pulley.
NOTICE:
Do not let gage handle snap back after pressing handle when not installed on belt under tension. Broken gear will result.
- Squeeze gage handles together to fully open the gage. The belt must pass between the hook and the leg pads. The entire belt width must be supported by the hook and leg pads.
- Release the gage handles quickly to "snap" the gage on the belt. Read tension on the face of the gage. Repeat the measurement 2 or 3 times to ensure accuracy.
- The support legs on the gage should not contact pulleys or any other engine hardware.
- Keep gage clean. Dirt will wear out the leg pads.
Section 13.5.7.1
Inspect for Rib Cracking
As a poly-vee belt goes through its natural life, it passes through several phases:
- After an extended time in service, minor rib cracks may appear, usually one or two cracks per inch of belt. See Figure
"Minor Rib Cracking"
. This condition is considered normal.

Figure 3. Minor Rib Cracking
- A replacement concern occurs when the belt ribs exhibit severe multiple cracking (see Figure
"Severe Rib Cracking"
). This leads to "chunking" (breaking away of rib material). see Figure
"Rib Chunking"

Figure 4. Severe Rib Cracking

Figure 5. Rib Chunking
- When severe cracking or rib "chunking" appears, belt replacement is required.
Section 13.5.7.2
Inspect for Rib Sidewall Glazing
When the ribs appear to have a shiny surface that is hard and brittle, it is usually a symptom of belt slippage. This results from inadequate tension, extreme temperature, or both. Both characteristics will lead to severe cracking and failure, often with little advance warning. If this happens, locate the cause and correct before installing a new belt.
Section 13.5.7.3
Inspect for Belt Wear
Accelerated wear on any part of the belt fabric backing, tensile cord, or rib rubber is a concern and should be investigated. The causes of accelerated wear are:
- Drive misalignment - For efficient belt performance, misalignment must not exceed 1.59 mm (1/16 in.) for each 305 mm (12.0 in.) of belt span
- Incorrect belt length
- Environmental conditions - Temperature, excessive exposure to engine fluids, etc.
- Abrasive material - Stones, sand, metal shavings, etc.
Section 13.5.7.4
Inspect for Foreign Objects
Premature failure may be caused by the belt coming in contact with a foreign object.
NOTICE: |
|
Any object protruding into the path of the belt drive that contacts the belt will cause damage and failure of the belt. |
Prior to installing a new belt, verify removal of any foreign objects protruding into the belt path.
Section 13.5.7.5
Inspect for Noise Vibration
Much effort has gone into the design of each poly-vee belt drive in order to prevent noise vibration. However, field problems occasionally occur. Some causes of noise vibration are:
- Misalignment - This may cause a chirping noise, especially at or near idle speed.
- Mounting - Rigid bracketing of accessories is a must for acceptable free belt span vibration.
Note: Some span vibration is to be expected during the range of engine speed and accessory loading.
- Belt tension - Insufficient belt tension may cause a high - pitched howl (squeal) or rasping sound during engine acceleration or deceleration.
Section 13.5.8
Air Compressor
Remove and clean all air compressor air intake parts every 150 hours or 15,000 miles (24,000 km). Refer to "10.1.2 Cleaning and Removal of Air Compressor" . To clean either the hair-type or polyurethane-type compressor air strainer element, saturate and squeeze it in fuel oil, or any other cleaning agent that would not be detrimental to the element, until it is dirt-free. Then, dip the element in lubricating oil and squeeze it dry before placing it back in the air strainer.
For replacement of the air strainer element, contact the nearest servicing dealer; replace with the polyurethane element, if available.
Every 12 months or 30,000 miles (48,000 km) [300 hours for industrial applications] tighten the air compressor mounting bolts.
Section 13.5.9
Air Cleaner
Inspect the air cleaner element every 15,000 miles (24,000 km) for vehicle engines, 150 hours for non-vehicle engines, or more often if the engine is operated under severe dust conditions. Replace the element if necessary. Check the gaskets for deterioration and replace, if necessary. If the dry type air cleaner is equipped with an aspirator, check for aspirator damage or clogging. Clean and repair as necessary.
Under no engine operating conditions should the air inlet restriction exceed 20 inches of water (5.0 kPa). A clogged air cleaner element will cause excessive intake restriction and a reduced air supply to the engine.
Dry-type air cleaner elements used in on-highway applications should be discarded and replaced with new elements when the maximum allowable air inlet restriction has been reached. No attempt should be made to clean or reuse on-highway elements after these intervals.
Dry-type elements used in industrial applications should be discarded and replaced with new elements after one year of service or when the maximum allowable air intake restriction has been reached, whichever comes first. In cases where the air cleaner manufacturer recommends cleaning or washing elements, the maximum service life is still one year or maximum restriction. Cleaning, washing and inspection must be done per the manufacturer's recommendations, if any. Inspection and replacement of the cover gaskets must also be done per the manufacturer's recommendations.
Section 13.5.10
Lubricating Oil Filter
Install new full flow spin-on oil filters at a maximum of 15,000 miles (24,000 km) (truck engines) 6,000 miles (10,000 km) (coach engines) or 150 hours (non-vehicle engines) or each time the engine oil is changed, whichever comes first. Install the new filters, turning them until they contact the gasket fully with no side movement, then turn an additional 2/3 turn by hand.
Make a visual inspection of all lubricating oil lines for wear and/or chafing. If any indication of wear is evident, replace the oil lines and correct the cause.
If the engine has not been operated for a prolonged period or the turbocharger has been removed or replaced, prelubricate the turbocharger as outlined under " Assembly of Turbocharger." Refer to "6.5.6 Assembly of Turbocharger" .
Check for oil leaks after starting the engine.
Section 13.5.11
Fuel Filters
Install new fuel filters every six months or 15,000 miles (24,000 km) (truck engines) 6,000 miles (10,000 km) (coach engines) or 150 hours (non-vehicle engines) or when plugging is indicated.
A method of determining when filters are plugged to the extent that they should be changed is based on the fuel pressure at the cylinder head fuel inlet fitting and the inlet restriction at the fuel pump. In a clean system, the maximum pump inlet restriction should not exceed 20.3 kPa (6 in. Hg) and must not exceed 12 in. Hg (41 kPa) with a dirty system.
At normal operating speeds and with the standard 0.080 in. (2.03 mm) restriction fittings, the fuel pressure at the cylinder head inlet is 345-517 kPa (50-83 lb/in.2 ). Change the fuel filters whenever the inlet restriction at the fuel pump reaches 41 kPa (12 in. Hg) at normal operating speeds and whenever the fuel pressure at the cylinder head inlet fitting falls to the minimum fuel pressure shown above.
Spin-on type primary and secondary fuel filters are used on Series 50 engines. The spin-on type consists of a shell, element, and gasket unitized into the single cartridge and a filter cover, which includes a threaded sleeve to accept the spin-on filter cartridge. An optional fuel/water separator may be installed in place of the standard primary filter.
Replace spin-on type primary or secondary filter elements as follows:
- With the engine shut down, place a suitable container under the filter.
- A fuel shutoff valve may be installed on the discharge side of the secondary fuel filter. If installed, turn the handle on the shutoff valve to the closed position (perpendicular to the valve).
- Using a suitable band type filter wrench, remove the primary and secondary fuel filters. Dispose of the filters in an environmentally responsible manner, according to state and federal (EPA) recommendations.
- Fill new replacement filters with clean fuel oil, and coat the gaskets lightly with clean fuel oil.
NOTICE:
Overtightening may crack or distort the adaptors.
- Thread the new filters onto the adaptors until they make full contact with the gasket and no side movement is evident. Then rotate an additional one-half turn by hand .
- Turn the handle on the shutoff valve (if installed) to the open
position (in line with the valve).
NOTICE:
To improve engine starting, have replacement filters filled with fuel and ready to install immediately after used filters are removed. This will prevent possible siphoning and fuel system aeration.

PERSONAL INJURY
Diesel engine exhaust and some of its constituents are known to the State of California to cause cancer, birth defects, and other reproductive harm.
- Always start and operate an engine in a well ventilated area.
- If operating an engine in an enclosed area, vent the exhaust to the outside.
- Do not modify or tamper with the exhaust system or emission control system.
- Start the engine, and check for leaks.
NOTICE:
Under no circumstances should the starting motor and fuel pump be used to prime the fuel filters. Prolonged use of the starting motor and fuel pump to prime the fuel system can result in damage to the starter, fuel pump, and injectors and cause erratic running of the engine because of air in the lines and filters.
- If the engine fails to start after filter replacement, the fuel system will require priming with tool J 5956 (or equivalent). Authorized Detroit Diesel service outlets are properly equipped to perform this service.
Replace fuel/water separator as follows:
- Drain off some fuel by opening the drain valve.
- Using a strap wrench, remove the element and bowl together. Remove the bowl from the element. The filter and bowl have standard right-hand threads, so turn counterclockwise to remove.
- Clean the bowl and the O-ring seal.
NOTICE:
To avoid damaging the bowl or the filter, do not use tools when tightening.
- Apply a light coating of clean fuel or grease to the O-ring seal, spin the bowl onto the new filter, and tighten by hand .
- Apply a light coating of clean fuel or grease to the new O-ring seal on the top of the filter. Spin the filter and bowl assembly onto the filter head, and tighten by hand until snug.
- To eliminate air from the filter, operate the primer pump on the filter head (if equipped) until the fuel purges at the filter assembly.

PERSONAL INJURY
Diesel engine exhaust and some of its constituents are known to the State of California to cause cancer, birth defects, and other reproductive harm.
- Always start and operate an engine in a well ventilated area.
- If operating an engine in an enclosed area, vent the exhaust to the outside.
- Do not modify or tamper with the exhaust system or emission control system.
- Start the engine, and check for leaks. Correct any leaks with the engine off.
Section 13.5.12
Coolant Filter and Water Pump
Inspect the water pump drain hole every 6 months making sure it is open. A small chemical build up or streaking at the drain hole may occur, and this is not an indication of a defective water pump or seal. If coolant does not leak from the drain hole under normal operating conditions, do not replace the water pump. If the cooling system is protected by a coolant filter and conditioner, the element should be changed every 15,000 miles (24,000 km) or 150 hours (industrial applications). Use the proper coolant filter element in accordance with instructions given under coolant specifications. Refer to "5.4 Coolant" .
Section 13.5.13
Guidelines for Water Pump Replacement
The investigation of engine water pumps returned to the factory has, in many cases, revealed normal weepage from the water pump weep hole. This condition is often misdiagnosed as a water pump seal failure. The diagnostic procedure is used to determine if the engine water pump seal has failed or is functioning normally. Guidelines are also presented for the steps that should be taken prior to water pump replacement.
Section 13.5.13.1
Source of Premature Failure of Water Pump Seals
Water pump seal failures may result from debris or deposits at the seal surface, low coolant levels, improper coolant chemicals or fabrication defects. Fabrication defects are quickly evident at low mileage/engine hours, while failures caused by debris or deposits at the seal surface appear over the service life of the pump. Premature failure of the water pump seal is typically an indication of poor coolant and lubricating oil maintenance.
Improper coolant maintenance can lead to excess supplemental coolant additives (SCA) in the coolant. This can cause excess phosphorus and silicates to precipitate within the cooling system. Deposits can build up between the shaft and the seal, causing a leak path or an abrasive effect on the seal face. Coolant formulated with hard water can also result in excess magnesium and calcium precipitation, with the same effect on the water seal. For additional information on the effects of inadequate cooling system maintenance, see DDC publication, 7SE390, "Cooling System Technicians Guide".
On gear-driven water pumps, oil from the weep hole indicates a failure of the oil seal within the water pump. The normal cause for premature failure of the oil seal is excessive wear debris and soot in the engine oil, which can result from extended oil change intervals. These contaminants act abrasively on the seal-to-shaft interface.
Section 13.5.13.2
Water Pump Seal Assessment
The following steps should be followed to verify leakage prior to removal and replacement of the water pump:
- When accessible, clean any debris or obstruction from the weep hole, being careful not to disturb the seal. This will help address the nature of the leakage. See Figure
"Water Pump Weep Hole"
.

Figure 6. Water Pump Weep Hole
- If no leakage of coolant is observed under operating conditions, the water pump should not be replaced.
Note: Chemical streak trails and seepage are normal, but continuous drip leaks are not.
Note: Weeping is described as a passing of liquid across a sealed surface of about 1-5 drops per day's usage. See Figure "Water Pump Showing Normal Weeping" . Seeping describes a greater amount of liquid equal to more than 5 drops per day's usage. Leaking describes a near-constant dripping of liquid. See Figure "Water Pump Showing Abnormal Leaking" .

Figure 7. Water Pump Showing Normal Weeping

Figure 8. Water Pump Showing Abnormal Leaking
Note: Water pumps which exhibit a chemical build-up in the weep hole do not necessarily require replacement. See Figure "Water Pump Showing Normal Mineral Deposits Caused By Weeping" . Some weeping is expected as a result of the coolant lubrication of the seal surface.

Figure 9. Water Pump Showing Normal Mineral Deposits Caused By Weeping
Replace water pump if oil is found coming from the weep hole on gear-driven water pumps. The engine oil must then be tested for excess debris, and replaced if not conforming to specifications.
The SCA inhibitors and glycol concentration must be checked according to the recommended maintenance schedule as described in the Detroit Diesel Service Manual and Operators Guide for that specific engine or DDC Publication, 7SE298.
Section 13.5.13.3
Water Pump Leak Test Summary
Test water pump for leaks as follows:
- Ensure weep hole is clear.

PERSONAL INJURY
Diesel engine exhaust and some of its constituents are known to the State of California to cause cancer, birth defects, and other reproductive harm.
- Always start and operate an engine in a well ventilated area.
- If operating an engine in an enclosed area, vent the exhaust to the outside.
- Do not modify or tamper with the exhaust system or emission control system.
- Run engine and look for coolant leaking from weep hole.
- Do not replace water pump due to chemical streaks.
- Replace the water pump if coolant is leaking or dripping.
- Always start and operate an engine in a well ventilated area.
- If operating an engine in an enclosed area, vent the exhaust to the outside.
- Do not modify or tamper with the exhaust system or emission control system.

PERSONAL INJURY
Diesel engine exhaust and some of its constituents are known to the State of California to cause cancer, birth defects, and other reproductive harm.
- Run engine and check for oil leaks from weep hole.
- If oil leak is observed, replace the water pump and conduct an oil analysis per publication, 7SE390, then replace water pump as needed.
- Test and reformulate the coolant to proper glycol and SCA concentrations per the Service Manual Maintenance schedule as indicated in the engine operators guide or DDC publication, 7SE298.
Note: Failure to adhere to oil and coolant specifications will result in a significant decrease in the service life of the water pump seals, and could invalidate the warranty.
Section 13.5.14
Cranking Motor
Refer to OEM maintenance guidelines.
Section 13.5.15
Air System
It is important with turbocharged engines that all the connections in the air system be checked to ensure they are tight. Check all hoses and ducting for punctures, deterioration or other damage and replace, if necessary.
Refer to OEM maintenance guidelines.
Section 13.5.16
Exhaust System
Check the exhaust manifold retaining bolts and other connections for tightness. Check for proper operation of the exhaust pipe rain cap, if so equipped.
Refer to OEM maintenance guidelines.
Section 13.5.17
Engine (Steam Clean)
Refer to OEM maintenance guidelines.
NOTICE: |
|
Do not apply steam or solvent directly on the battery charging generator/alternator, starting motor, DDEC components, sensors, or other electrical components, as damage to electrical equipment may result. |
Steam clean the engine and engine compartment.
Section 13.5.18
Radiator
Inspect the exterior of the radiator core every 12 months or 30,000 miles-48,000 km (300 hours for industrial applications) and, if necessary, clean it with a quality grease solvent, such as mineral spirits, and dry it with compressed air. Do NOT use fuel oil, kerosene or gasoline. It may be necessary to clean the radiator more frequently if the engine is being operated in extremely dusty or dirty areas.
Refer to OEM maintenance guidelines.
Section 13.5.19
Oil Pressure
Under normal operation, oil pressure is noted each time the engine is started. In the event the equipment is equipped with warning lights rather than pressure indicators, the pressure should be checked and recorded every 60,000 miles (96,000 km) for vehicle engines or 600 hours for stationary or industrial engines.
Refer to OEM maintenance guidelines.
Section 13.5.20
Battery Charging Alternator
Inspect the terminals for corrosion and loose connections and the wiring for frayed insulation.
Refer to OEM maintenance guidelines.
Section 13.5.21
Engine and Transmission Mounts
Check the engine and transmission mounting bolts and the condition of the mounting pads every 600 hours or 60,000 miles (96,000 km). Tighten or repair as necessary.
Refer to OEM maintenance guidelines.
Section 13.5.22
Crankcase Pressure
Check and record the crankcase pressure every 600 hours-96,000 km (60,000 miles). Refer to "29.3
Section 13.5.23
Fan Hub
If the fan bearing hub assembly has a grease fitting, use a hand grease gun and lubricate the bearings with two shots of Texaco Premium RB grease, or Mobilgrease HP, or an equivalent lithium-base multi-purpose premium grease at the following intervals as listed in Table "Fan Bearing Lubrication Intervals" . Care should be taken not to overfill the housing.
|
Engine Application |
Fan Bearing Lubrication Interval |
|
On-highway Truck Engine |
15,000 miles (24,000 km) |
|
Transit Coach Engine |
6,000 miles (9,600 km) |
|
Non-vehicle Engine |
1,050 Hours |
NOTICE: |
|
Failure to properly lubricate the fan hub bearing at required intervals my result in fan bearing, spindle damage or both. This could lead to fan malfunction, loosening or both, which could result in serious engine damage. |
Note: This is a change from the original recommendation, which required greasing the bearing on vehicle engines every 100,000 miles (160,000 km).
Section 13.5.24
Thermostats and Seals
Inspect the thermostats and seals every 24 months. Refer to "4.3.2.1 Inspection of Thermostat" for thermostat inspection procedures. The thermostats and seals should be replaced every 200,000 miles (240,000 km) for vehicle engines or 4,000 hours for non-vehicle engines.
Section 13.5.25
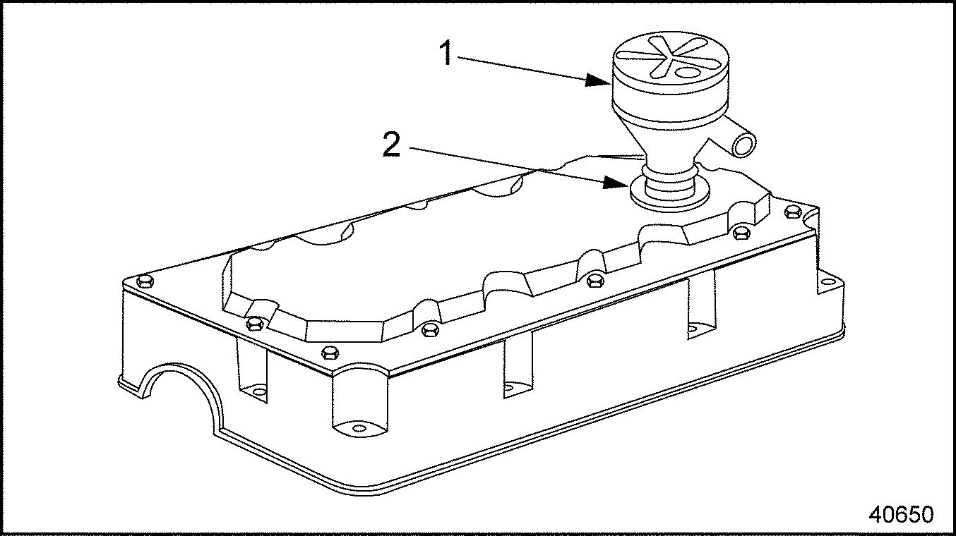
Crankcase Breather
Remove the internally mounted (in the engine rocker cover) crankcase breather assembly annually (vehicle engines) or every 1,050 hours (non-vehicle engines) and wash the steel mesh pad in clean fuel oil. Refer to "1.6.2 Cleaning and Removing of Two-piece Rocker Cover-Diesel Engines Only" . This cleaning period may be reduced or lengthened according to the severity of service.
The rocker cover-mounted breather assembly (part number 23512984) and seal ring (part number 23515211) used in the closed crankcase breather system should be replaced every 4000 engine operating hours. These parts are not reusable and no attempt should be made to clean or reuse them. See Figure "Rocker Cover-Mounted Breather Location" .

|
1. Breather |
2. Seal |
Figure 10. Rocker Cover-Mounted Breather Location
Section 13.5.26
Engine Tune-up
There is no scheduled interval for performing an engine tune-up. As long as the engine performance is satisfactory, no tune-up should be needed.
The valve lash and injector heights on all Series 50 diesel-fueled engines must be measured and, if necessary, adjusted after the first 60,000 miles (96,000 km) or 24 month period, whichever comes first. Once the initial measurements and adjustments have been made, any changes beyond this point should be made only as required to maintain satisfactory engine performance.
Refer to "12.2 Valve Lash, Injector Height (Timing) and Jake Brake
NOTICE: |
|
Failure to measure valve clearances and injector heights at the required initial period and make necessary adjustments may result in gradual degradation of engine performance and reduced fuel combustion efficiency. |
The valve lash on Series 50G natural gas-fueled engines should be checked and adjusted as follows:
- Transit Bus Engines - Check every 36,000 miles (58,000 km) or 12 months, whichever comes first, and adjust if necessary.
- Generator Set Engines - Check every 1,500 hours of operation or 12 months, whichever comes first, and adjust if necessary.
Refer to "12.4 Valve Lash for the Series 50G Engine" of this service manual for valve lash adjustment procedures.
NOTICE: |
|
Failure to measure valve lash at the required intervals and make necessary adjustments may result in gradual degradation of engine performance and reduced fuel combustion efficiency. |
Section 13.5.27
Fuel Pro 380/380E Filter Element Replacement
There is no scheduled interval for replacing the element. The element should be replaced when the fuel level in the see-through cover reaches the top of the element.
Section 13.5.28
Alternator and Attaching Hardware
The alternator and attaching hardware should be inspected for cracks, and the securing bolts should retorqued every 90,000 miles for on-highway vehicles, 900 hours for stationary and industrial applications.
Section 13.5.29
Air Conditioning and Attaching Hardware
The air conditioner and attaching hardware should be inspected for cracks, and the securing bolts should retorqued every 90,000 miles for on-highway vehicles, 900 hours for stationary and industrial applications.
Section 13.5.30
Air Compressor and Attaching Hardware
The air compressor and attaching hardware should be inspected for cracks, and the securing bolts should retorqued every 90,000 miles for on-highway vehicles, 900 hours for stationary and industrial applications.
| Series 50 Service Manual - 6SE50 |
| Generated on 10-13-2008 |