Section 6.5
Turbocharger Series 50 Diesel
The Honeywell TV 45 turbocharger is used on all Series 50 engines. See Figure "TV 45 Turbocharger Assembly (Series 50 Diesel)" .

Figure 1. TV 45 Turbocharger Assembly (Series 50 Diesel)
The turbocharger is designed to increase the overall efficiency of the engine. Power to drive the turbocharger is extracted from the energy in the engine exhaust gas.
The turbocharger consists of a turbine wheel and shaft, a compressor wheel, and a center housing that supports the rotating assembly, bearings, seals, a turbine housing, and a compressor housing. The center housing has connections for oil inlet and oil outlet fittings.
The rotating assembly consists of a turbine wheel and shaft assembly, piston ring(s), thrust spacer, compressor wheel, and wheel retaining nut. The rotating assembly is supported on two pressure-lubricated bearings that are retained in the center housing by snap rings. Internal oil passages are drilled in the center housing to provide lubrication to the turbine wheel shaft bearings, thrust washer, thrust collar, and thrust spacer.
The turbine housing is a heat-resistant alloy casting that encloses the turbine wheel and provides a flanged engine exhaust gas inlet and an axially located turbocharger exhaust gas outlet. The turbine housing is secured to the turbine end of the center housing.
The turbocharger is mounted on the exhaust outlet flange of the engine exhaust manifold. After the engine is started, the exhaust gases flow from the engine and through the turbine housing causing the turbine wheel and shaft to rotate. See Figure "Schematic Air Flow Diagram (Series 50 Diesel)" .

Figure 2. Schematic Air Flow Diagram (Series 50 Diesel)
The gases are discharged into the exhaust system after passing through the turbine housing.
The compressor wheel, in the compressor housing, is mounted on the opposite end of the turbine wheel shaft and rotates with the turbine wheel. The compressor wheel draws in clean air, compresses it, and delivers high pressure air through the intake manifold to the engine cylinders.
Oil for lubricating the turbocharger is supplied under pressure through an external oil line extending from the oil filter adaptor to the top of the center housing. See Figure "Turbocharger Oil Lines (Series 50 Diesel)" .

|
1. Elbow, Oil Drain Tube |
8. Turbocharger Assembly |
|
2. Tube, Turbo Oil Drain |
9. Connector, Oil Supply Tube (from oil filter adaptor) |
|
3. Bolt, and Lockwashers, Oil Drain Tube Mounting |
10. Tube Assembly, Turbo Oil Supply |
|
4. Gasket, Oil Drain Tube |
11. Bolt, Oil Supply Tube Clip |
|
5. Elbow |
12. Clip, Oil Supply Tube |
|
6. Clamp |
13. Gasket, Turbo Exhaust Inlet |
|
7. Nut, and Washer Turbo Mounting |
|
Figure 3. Turbocharger Oil Lines (Series 50 Diesel)
From the oil inlet in the center housing, the oil flows through the drilled oil passages in the housing to the shaft bearings, thrust ring, thrust bearing, and backplate or thrust plate. See Figure "Turbocharger Oil Flow Diagram (Series 50 Diesel)" .

|
1. Compressor Wheel |
6. Shaft |
|
2. Thrust Bearing |
7. Turbine Wheel |
|
3. Backplate |
8. Shaft Bearings |
|
4. Oil Inlet |
9. Oil Outlet |
|
5. Center Housing |
|
Figure 4. Turbocharger Oil Flow Diagram (Series 50 Diesel)
The oil returns by gravity to the engine oil pan through an external oil line extending from the bottom of the turbocharger center housing to the cylinder block. See Figure "Turbocharger Oil Flow Diagram (Series 50 Diesel)" .
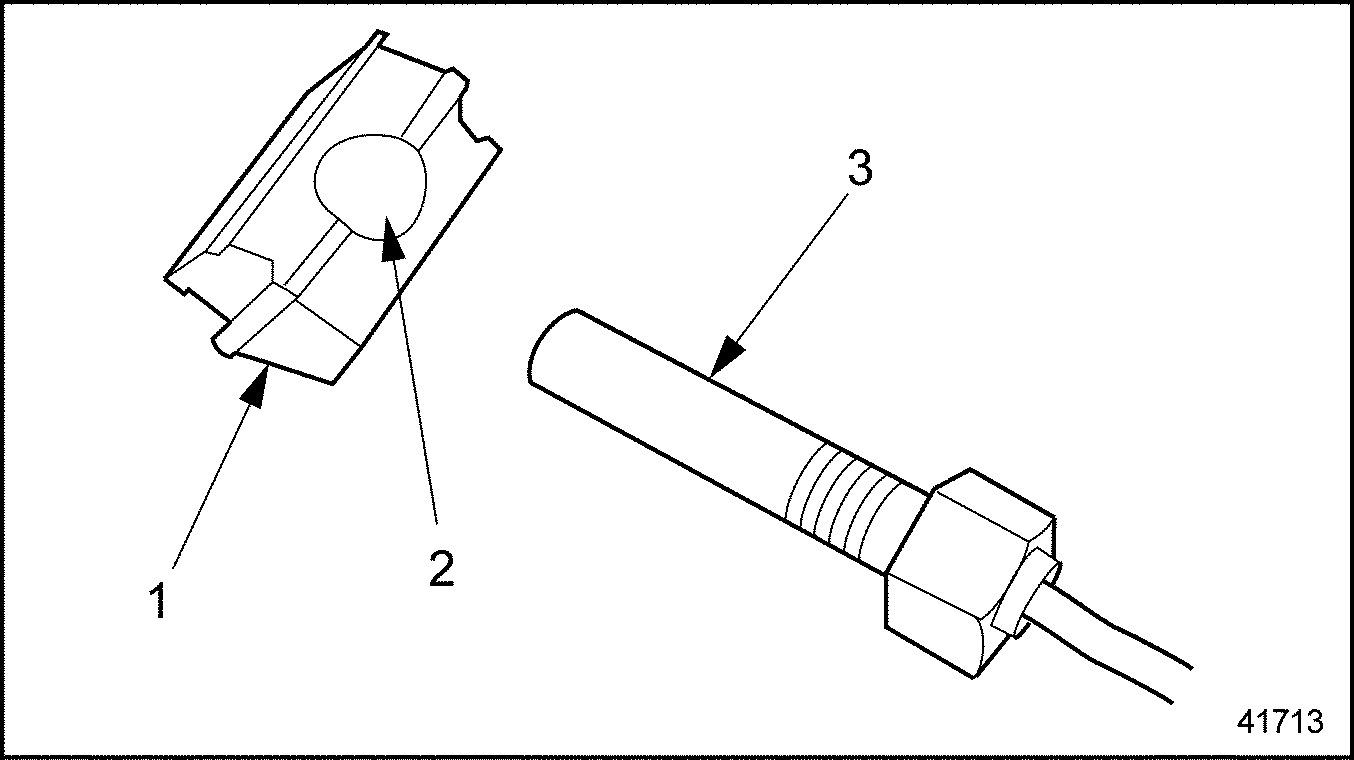
For Series 50 bus engines with Honeywell 4 Gm Exhaust Gas Recirculation (EGR) Systems: The variable nozzle turbine (VNT) turbocharger uses two, high-pressure, pneumatic actuators to regulate and control the EGR system. These actuators are mounted on brackets, attached to the turbocharger, and receive air pressure from the engine-mounted PWM/EGR valve assembly module. See Figure "VNT Actuator and Mating Parts" . The VNT actuator connects via a rod-end to a pin on the turbine external arm. Rotation of the external arm simultaneously rotates 15 pivoting nozzle vanes positioned inside the turbine housing at the outer periphery of the turbine wheel, adjusting turbocharger speed and boost in accordance with the DDEC engine management control.

|
1. Adjustable Rod End Assembly |
6. Stop and Stop Screw |
|
2. External Arm Pin |
7. Bracket Bolt (3) |
|
3. Turbocharger |
8. Adjusting Arm Locknut |
|
4. Retaining Ring (not shown) |
9. VNT Actuator |
|
5. Turbine Housing Bolt Circle |
10. Actuator Mounting Stud and Nut (3) |
Figure 5. VNT Actuator and Mating Parts
The second, called the EGR valve actuator, opens and closes the EGR valve. The EGR valve outlet is connected to the EGR cooler and recirculates a fraction of the engine exhaust gases to the intake manifold for purposes of engine emission control. See Figure "EGR Housing Assembly" .

|
1. EGR Actuator |
3. Pressure Line |
|
2. Bracket |
4. Hot Pipe |
Figure 6. EGR Housing Assembly
Servicing of both actuators is limited to their replacement. The EGR actuator is serviced by replacing the EGR Valve Assembly and does not require calibration. Servicing can usually be accomplished without removing the turbocharger from the engine. With the VNT actuator, it is recommended that the turbocharger first be removed from the engine to perform the necessary calibration settings of the replacement actuator.
Section 6.5.1
Repair or Replacement of Turbocharger (Series 50 Diesel)
To determine if repair is possible or replacement of the turbocharger is necessary perform the following procedure. See Figure "Flowchart for Repair or Replacement of Turbocharger (Series 50 Diesel)" .

Figure 7. Flowchart for Repair or Replacement of Turbocharger (Series 50 Diesel)
Section 6.5.2
Cleaning and Removal of Turbocharger
Cleaning the turbocharger is not necessary before removal.
|
PERSONAL INJURY |
|
To avoid injury from hot surfaces, wear protective gloves, or allow engine to cool before removing any component. |
Prior to removal, visually check for:
- Missing or loose nuts and bolts.
- Loose or damaged intake and exhaust ducting.
- Damaged oil supply and drain lines.
- Cracked or deteriorating turbocharger housings.
- External oil leakage.
- Replace damaged parts with new parts.
To remove the turbocharger, perform the following:
NOTICE: |
|
Do not attempt to remove carbon or dirt buildup on the compressor or turbine wheels without removing the turbocharger from the engine. If chunks of carbon are left on the blades, an unbalanced condition will exist and subsequent failure of the bearings will result if the turbocharger is operated. However, it is not necessary to disassemble the turbocharger to remove dirt or dust buildup. |
- Disconnect and remove the CAC ducting at the compressor housing.
- Disconnect and remove the air inlet hose attached to the compressor housing.
- Disconnect the exhaust outlet pipe from the turbine housing of the turbocharger. For proper operation, the turbocharger rotating assembly must turn freely. Whenever the exhaust ducting is removed, spin the turbine wheel by hand.
- Remove the inlet oil line from the top of the center housing.
- Remove the oil drain line from the bottom of the center housing.
- Attach a chain hoist and a suitable lifting sling to the turbocharger assembly.
- Remove the nuts securing the turbocharger assembly to the exhaust manifold. Then, lift the turbocharger assembly away from the engine and place it on a bench.
- Cover the end of the oil drain line, the oil outlet line, the air inlet and the exhaust outlet openings on the engine and turbocharger to prevent the entry of foreign material.

PERSONAL INJURY
To avoid injury from improper use of chemicals, follow the chemical manufacturer's usage, handling, and disposal instructions. Observe all manufacturer's cautions.
- Clean the exterior of the turbocharger with a non-caustic cleaning solvent before disassembly.
Section 6.5.3
Disassembly of Turbochargers
EGR system turbochargers are not repairable. EGR/VNT turbocharger servicing is limited to it's replacement.
Disassemble the turbocharger as follows:
- Mark the related positions of the compressor housing, center housing and turbine housing with a punch or scribe to assure reassembly in the same relative position.
NOTICE:
Exercise care when removing the compressor housing and turbine housing to prevent damage to the compressor and turbine wheels.
- Loosen the V-band coupling securing the compressor housing to the backplate assembly and remove the compressor housing and V-band.
- Loosen the V-band coupling securing the turbine housing to the center housing. See Figure
"Series TV45 Turbocharger (Series 50 Diesel)"
.

1. Compressor Housing
3. Turbine Housing
2. Compressor Housing and Rotating Assembly
4. V-Band Couplings
Figure 8. Series TV45 Turbocharger (Series 50 Diesel)
- Remove the turbine housing from the center housing.
Section 6.5.3.1
Inspection and Cleaning of Turbocharger
Ceramic turbine wheels are extremely resistant to high temperatures, but at the same time are brittle. If debris is left in the air intake system, it may find its way through the engine and into the exhaust path. If large enough, these particles may cause turbine wheel chipping or "wheel burst."
NOTICE: |
|
If the ceramic wheel becomes damaged or bursts, Detroit Diesel recommends replacing the exhaust system muffler if positioned in such a way that debris will fall back into the turbine housing. This precaution will prevent damage to the turbocharger at engine start-up. |
Similar damage can result from a contaminated exhaust system. Any debris left in the exhaust system after service work can fall back into the exhaust wheel. If large enough, these particles may cause turbine wheel damage at initial engine startup. The exhaust manifold and exhaust piping attached to the turbocharger should also be inspected for debris and cleaned, if necessary, before being installed.
Any time the charge air cooler is removed, all charge air cooling system components must be inspected to make sure they are clean and free of any casting slag, core sand, welding slag, or any other contaminants that could break free during engine operation and damage the ceramic turbine wheel.
Inspect the disassembled turbocharger, discarding any damaged parts, in the following manner:
- Visually check for nicked, crossed or stripped threads.
- Visually check the turbine wheel shroud and turbine wheel for signs of rubbing.
- Visually check the compressor wheel for signs of rubbing or damage from foreign material. The wheel must be free of dirt and other foreign material.
- Check the bearing axial end play:
- Clamp the center housing assembly in a bench vise equipped with soft jaws. See Figure "Checking Bearing Axial End Play (Series 50 Diesel)" .
- Fasten the dial indicator and magnetic clamp, part of magnetic base dial indicator set, J 7872-2 part of J 7872 , to the center housing so that the indicator tip rests on the end of the rotating shaft on the compressor side. See Figure "Checking Bearing Axial End Play (Series 50 Diesel)" .
- Move the shaft axially back and forth by hand. The total indicator reading (thrust float) should be 0.0762-0.254 mm (0.003 to 0.010 in.). If the total dial indicator readings do not fall within the specified limits, replace the rotating assembly.

Figure 9. Checking Bearing Axial End Play (Series 50 Diesel)
- Check the shaft radial movement as follows:
- Install the turbo shaft checker, J 39164 , to the oil drain opening of the center section. The special curved end of the tool must contact the wheel shaft through the oil outlet port and an internal opening in the center casting. See Figure "Checking Shaft Radial Movement" .
- Install a dial indicator. See Figure "Checking Shaft Radial Movement" .
- Place the swivel adaptor, part of magnetic base dial indicator set, against the scribed line of the turbo shaft checker, J 39164 .
- Grasp each end of the rotating assembly and, applying equal pressure at each end, move the rotating shaft first toward and then away from the dial indicator, creating a transverse movement in the shaft. The total indicator reading (radial movement) should be 0.127-0.165 mm (0.005-0.0065 in.). If the total indicator readings do not fall within the specified limits, replace the rotating assembly.

Figure 10. Checking Shaft Radial Movement
Section 6.5.3.2
Checking Wastegate Calibration
Check the wastegate calibration as follows:
- Remove hose from wastegate actuator.
- Using DDC tool set, TLZ00100 , set up an indicator at the end of the wastegate actuator adjusting rod to measure actuator rod travel. The indicator should have a minimum travel of 2.54 mm (0.100 in.).
-
Connect regulator and pressure gage setup to wastegate actuator. See Figure
"Checking Wastegate Calibration"
.

Figure 11. Checking Wastegate Calibration
-
Apply specified calibration pressure as listed in Table
"Wastegate Calibrations"
, to the wastegate actuator.
Manufacturer
Model
Rating
Can Pressure
Rod Travel
Garrett®
8.5L
250–350 Hp
210.29–217.19 kPa(30.5–31.5 lb·in.2 )
1.016 mm(0.040 in.)
Table 11. Wastegate Calibrations
Garrett® is a registered trademark of Honeywell. - Close air supply shutoff valve. The pressure should hold at 210.29–217.19 kPa (30.5–31.5 lb·in.2 ). If not, check air hose and fitting connections for leaks. If none are found, replace wastegate actuator. Refer to "6.5.4 Removal of Wastegate Actuator " .
- Open vent to relieve pressure. Check gage for zero pressure reading. Adjust regulator to zero pressure and close vent valve.
- Adjust dial indicator so it just contacts the actuator rod end and adjust to zero reading.
- Open air supply shutoff valve and slowly adjust regulator until dial indicator reads 1.016 mm (0.040 in.) for Garrett turbo systems. Switch pressure on and off, opening and closing supply air and vent valves, to ensure dial indicator travel is from 0.00–1.016 mm (0.00–0.040 in.); and that the pressure reading is consistent.
- For currently calibrated wastegate actuator, a pressure within 210.29–217.19 kPa (30.5–31.5 lb·in.2 ) will be required to obtain precisely the correct amount of actuator rod travel. If the pressure required is outside this range, wastegate adjustment is necessary. Refer to "6.5.5.1 Setting the Wastegate " .
Section 6.5.4
Removal of Wastegate Actuator
Remove the wastegate actuator as follows:
- Remove actuator hose from top side of actuator can. See Figure "Checking Wastegate Calibration" . With the pressure gage setup, apply enough pressure to the actuator can until the rod begins to move. Refer to "6.5.5.1 Setting the Wastegate " .
-
Remove the retaining clip that holds the actuator rod end on the worm pin. Lift rod off the wastegate lever pin.
NOTICE:
Never remove the rod end from the wastegate lever pin without applying pressure to the top side actuator port, or damage to the actuator diaphragm may result.
- Remove the locknuts that secure the actuator can to the base of the actuator bracket and remove the can from the turbocharger assembly.
Section 6.5.5
Installation of Wastegate Actuator
Further adjustment of the actuator will be necessary to achieve the correct pressure setting, listed in Table "Wastegate Calibrations" .
Install the wastegate actuator as follows:
- Install actuator can on bracket; tighten locknuts.
- Using pressure gage setup, apply enough pressure to the new service actuator can until the rod begins to move.
- Adjust actuator rod end by turning either clockwise or counterclockwise on rod so that the rod end hole lines up with the wastegate lever arm. While wastegate is held shut, slip rod over pin.
- Before installing retaining clip, the rod end will need to be adjusted to the correct setting. Refer to "6.5.5.1 Setting the Wastegate " .
Section 6.5.5.1
Setting the Wastegate
Before performing this procedure, check the actuator set pressure to see if adjustment is needed. Refer to "6.5.3.2 Checking Wastegate Calibration " .
Set pressure adjustment as follows:
-
Loosen the jam nut that secures the rod end on the actuator rod. If locking collar is present on the actuator rod, remove and discard collar. See Figure
"Wastegate Adjustment"
.

Figure 12. Wastegate Adjustment
- Remove the retaining clip that holds the actuator rod end on the wastegate lever arm pin.
- Using pressure gage setup, apply enough pressure to the top side actuator can port until the rod begins to move, lifting the wastegate valve off its seal. See Figure "Wastegate Adjustment" .
- Slip rod end off the wastegate lever arm pin.
-
Adjust rod as needed:
- To INCREASE pressure setting at 0.04 in., turn rod end CLOCKWISE.
- To DECREASE pressure setting at 0.04 in., turn rod end COUNTERCLOCKWISE.
- With pressure still applied to actuator, replace rod end on wastegate lever arm.
- Check actuator set pressure again.
- If actuator is still out of adjustment. Refer to "6.5.3.2 Checking Wastegate Calibration " .
- If actuator is within specified set pressure, install retaining clip on wastegate lever arm pin.
- Tighten jam nut to secure rod end.
Section 6.5.6
Assembly of Turbocharger
Use the following procedure to assemble the turbocharger:
NOTICE: |
|
As the parts are assembled, cover the openings to prevent entry of dirt or other foreign material, which may cause component damage. |
- Cover all openings.
- Position the turbine housing as marked at disassembly against the center housing and secure it in place.
NOTICE:
Failure to properly orient the "T" bolt end of the clamp can result in an exhaust leak, turbine wheel damage or both.
- Position the V-band coupling between the turbine housing and center housing so that the "T" bolt end does not interfere with the turbine housing. Then tighten the V-band coupling nut, as follows:
- Lubricate the toggle bolt threads with a high temperature anti-seize compound.
- Torque the nut on the V-band toggle bolt to approximately 18 N·m (160 lb·in.).
- Loosen the V-band coupling nut to approximately 6 N·m (50 lb·in.) torque, then torque the nut to 12-15 N·m (106-130 lb·in.).
Note: Do not pull a misaligned turbine housing into alignment with the V-band coupling. The parts must be aligned and seated first.
- Position the compressor housing as marked at disassembly against the backplate assembly and secure it in place with the V-band coupling.
- Lightly lubricate the threads of the toggle bolt with engine oil and torque the nut to 12-15 N·m (106-130 lb·in.).
Section 6.5.7
Installation of Turbocharger
To install the turbocharger:
- Attach a chain hoist and a suitable lifting sling to the turbocharger assembly.
- Remove any covers that were placed over the openings of the air inlet and exhaust outlet openings on the engine and turbocharger when the turbocharger was removed.
- Remove any covers on the oil inlet and drain lines, and the oil inlet and drain openings on the turbocharger.
- Place the turbocharger assembly into position on the exhaust manifold. Use a new gasket between the exhaust manifold and the turbine housing flange.
- Secure the turbocharger to the exhaust flange. Tighten the nuts just enough to hold the turbocharger in place.
- Slide the charge air cooler air inlet tube hose over the compressor housing outlet opening and secure it in place with the hose clamps.

EYE INJURY
To avoid injury from flying debris, wear a face shield or goggles.
NOTICE:
Do not use any type of lubricant on the inside of any air inlet hose or on the hose contact surfaces of the turbocharger compressor housing, CAC ducting or the intake manifold.
- Torque the turbocharger to exhaust manifold locknuts to 58-73 N·m (43-54 lb·ft).
- Install the oil drain line, using a new gasket, between the opening in the bottom side of the turbocharger center housing and the drain hose that runs to the cylinder block. Torque the bolts to 30-38 N·m (22-28 lb·ft).
- Refer to "11.1.3 Turbocharger" for verification of proper turbocharger installation.
Section 6.5.8
Removal of VNT Actuator
For engines equipped with a VNT actuator, remove as follows:
Note: The actuator is an assembly and internal parts are not available.
- Remove turbocharger. Refer to "6.5.2 Cleaning and Removal of Turbocharger"
.

EYE INJURY
To avoid injury from flying parts when working with components under spring tension, wear adequate eye protection (face shield or safety goggles).
NOTICE:
Ensure the speed sensor (black plastic plug and green-colored wire) electrical connector/lead wire does not become trapped under the turbocharger. Position the turbocharger on workbench in a matter that it does not cause damage to external parts.
NOTICE:
Fit a temporary mask using either tape, shipping plug, shop towel, etc. to the compressor inlet to preclude the entry of foreign material/objects, which could cause damage to the compressor wheel blades.
- Place turbocharger on bench with the compressor inlet pointing upwards to expose the actuator and adjusting linkage.
- Clean the actuator and VNT external linkage with a non-caustic solvent. See Figure
"VNT Actuator and External Linkage"
.

1. Adjustable Rod End Assembly
6. Stop and Stop Screw
2. External Arm Pin
7. Bracket Bolt (3)
3. Turbocharger
8. Adjusting Arm Locknut
4. Retaining Ring (not shown)
9. VNT Actuator
5. Turbine Housing Bolt Circle
10. Actuator Mounting Stud and Nut (3)
Figure 13. VNT Actuator and External Linkage

EYE INJURY
To avoid injury from flying parts when working with components under spring tension, wear adequate eye protection (face shield or safety goggles).
NOTICE:
Do not attempt to remove the rod end from the pin at this time as the rod is still under residual load from the internal actuator spring. Attempts to pry the rod end off can result in damage to the actuator or to the VNT linkage.
- Using Waldes Tru-Arc #5304 Klip Ring tool, or suitable equivalent tool, to remove the Truarc retaining ring and save for reuse.
Note: In the event this tool is not available, a small screwdriver tip and needle-nose pliers may be used. Place a shop towel in the cupped hand close to the ring. This is to help catch the ring during its removal.
Note: It is advisable to have a spare ring on hand in the event the original becomes deformed or lost.
- Remove the three, 12–point actuator bracket attachment bolts from the turbine housing bolt circle. See Figure
"Removal of VNT Actuator and Mating Parts"
.
Note: Penetrating oil may be needed to assist in removal.

1. Adjustable Rod End Assembly
6. Stop and Stop Screw
2. External Arm Pin
7. Bracket Bolt (3)
3. Turbocharger
8. Adjusting Arm Locknut
4. Retaining Ring (not shown)
9. VNT Actuator
5. Turbine Housing Bolt Circle
10. Actuator Mounting Stud and Nut (3)
Figure 14. Removal of VNT Actuator and Mating Parts
- Slip off the rod end from the external arm pin.
Note: Clean and lightly oil the bolt threads in preparation for reuse.
- Remove the three locknuts that fasten the actuator to the bracket and save for reuse.
- With a pocket scale, measure and record the approximate distance from the rod end to the base of the actuator can.

Figure 15. Measurement of the Rod End to Actuator Can Base
- Remove the locknut and adjustable rod end assembly from the threaded actuator rod; save locknut for installation of the replacement actuator.
Section 6.5.9
Installation and Calibration of VNT Actuator
For engines equipped with a VNT actuator, install and calibrate as follows:
- Assemble the replacement actuator to the bracket, installing the three locknuts and torque to 6–7 N·m (55–70 lb·in.). See Figure
"VNT Actuator"
.

1. Adjustable Rod End Assembly
6. Stop and Stop Screw
2. External Arm Pin
7. Bracket Bolt (3)
3. Turbocharger
8. Adjusting Arm Locknut
4. Retaining Ring (not shown)
9. VNT Actuator
5. Turbine Housing Bolt Circle
10. Actuator Mounting Stud and Nut (3)
Figure 16. VNT Actuator
- Install the adjustable rod end assembly with locknut loosely on to the threaded actuator rod at the same distance as measured in step 8 . Refer to "6.5.8 Removal of VNT Actuator" .
- Attach the air hose from the pressure regulator to the fitting. Apply approximately 20–25 psig pressure to the actuator. See Figure "VNT Actuator" .
- Rotate the external arm pin while fitting the rod end over the pin.
- Install the three, 12–point bracket mounting bolts and torque to 20–23 N·m (185–210 lb·in.). See Figure
"VNT Actuator"
.

EYE INJURY
To avoid injury from flying debris, wear a face shield or goggles.
- Using a Waldes Tru-Arc #5304 Klip Ring tool, install retaining clip.
- Gradually increase the pressure to the actuator to 75 psig minimum pressure. The actuator rod should extend approximately a half-inch and be at, or near, the minimum stop (adjustable screw and locknut, with blue “tattle-tale” paint).
Note: The adjustable stop screw and locknut has been preset at the factory and sealed with a special paint. Under NO circumstances should this stop be readjusted in the field.
- Reduce pressure to a value between 62.7–63.3 psig. Allow pressure to stabilize and readjust as required.
- If the external arm is not touching the end of the stop screw, rotate the adjuster body until contact is made.
- If the external arm is touching the end of the stop screw, rotate the adjuster body until clearance is obtained and then rotate in the reverse direction until contact with the end of the stop screw is made as in step 8a .
- Without rotating the adjuster body, torque the adjuster locknuts to 6–7 N·m (55–70 lb·in.).
- Reduce pressure to zero and check for proper operation. Slowly changing pressure from approximately zero to 65 psig should cycle the actuator from the maximum to the minimum stop.
- Cycle a few times until satisfied that the rod position at minimum stop has been satisfactorily set and the actuator is stroking from one stop to the other.
- Remove the compressor inlet cover.
- Install turbocharger on the engine. Refer to "6.5.7 Installation of Turbocharger" .
Section 6.5.10
Removal of EGR Cooler and Piping Assembly
For engines equipped with the EGR cooler, remove as follows:
- Drain coolant. Refer to "13.5.4 Cooling System" or you may clamp off coolant hoses with vice-grips.
- Remove clamp from each end of the EGR cooler assembly. See Figure
"EGR Cooler"
.

1. PWM Valve Assembly
6. Coolant Line(s)
2. EGR Temperature Sensor
7. Bracket
3. EGR Pressure Sensor
8. Pressure Sensor Connection/Hoses
4. EGR Cooler
9. Bolts
5. Clamp(s)
Figure 17. EGR Cooler
- Disconnect coolant lines.
- Remove bracket attaching bolts.
- Remove EGR cooler.
- Loosen the clamp on the other end of the cold pipe.
- Disconnect pressure sensor connection and hoses.
- Disconnect temperature sensor connection.
- Remove the cold pipe.
- Loosen the clamp on the other end of the hot pipe.
- Remove the hot pipe.
Section 6.5.10.1
Inspection of the EGR Cooler and Piping Assembly
Inspect the EGR cooler as follows:
- Examine flanges for corrosion.
- If corroded, bent or damaged, replace the EGR cooler.
- If no damage found, reuse component.
- Test EGR cooler for leakage as follows:
- Plug one end of the coolant connection.

EYE INJURY
To avoid injury from flying debris when using compressed air, wear adequate eye protection (face shield or safety goggles) and do not exceed 276 kPa (40 psi) air pressure.
- Apply air pressure, maximum of 15 psi.
- Listen for leakage, or immerse into a tank of water to view for any bubbles. If any bubbles appear, replace the cooler.
- Plug one end of the coolant connection.
- Inspect the cold pipe for damage.
- If the cold pipe is cracked, corroded or damaged; replace the pipe.
- If no damage was found on the cold pipe; reuse the pipe.
- Inspect the hot pipe for damage.
- If the hot pipe is cracked, corroded or damaged; replace the pipe.
- If no damage was found on the hot pipe; reuse the pipe.
Section 6.5.11
Installation of the EGR Cooler and Piping Assembly
Install the EGR cooler as follows: (See Figure "EGR Cooler" .)

|
1. PWM Valve Assembly |
6. Coolant Line(s) |
|
2. EGR Temperature Sensor |
7. Bracket |
|
3. EGR Pressure Sensor |
8. Pressure Sensor Connection/Hoses |
|
4. EGR Cooler |
9. Bolts |
|
5. Clamp(s) |
|
Figure 18. EGR Cooler
- Connect temperature sensor connection.
- Connect pressure sensor connection and hoses.
- Loosely assemble clamp on the intake end of the cold pipe.
- Loosely assemble the clamp on the turbo end of the hot pipe.
- Fit EGR cooler to the engine, loosely assemble both clamps on each end of the EGR cooler.
- Tighten EGR cooler clamps.
- Tighten bolts on clamp to the turbocharger.
- Tighten clamp on the cold pipe to the intake.
- Torque bolts from bracket to cooler at 30–38 N·m (22–28 lb·ft).
- Torque bolts from bracket to engine at 58–73 N·m (42–53 lb·ft).
- Connect coolant lines.
- Fill with coolant. Refer to "13.5.4 Cooling System" . Remove vice-grips, if used.
- Refer to "11.1.3 Turbocharger" for verification of proper EGR cooler installation.
Section 6.5.12
Removal of PWM Valve Assembly
Remove the pulse width modulated (PWM) assembly as follows: (See Figure "PWM Valve Assembly" .)

|
1. EGR Solenoid |
5. Electrical Connectors |
|
2. PWM Valve Air Line |
6. Bolt |
|
3. EGR Solenoid Air Line |
7. Bracket |
|
4. Air Supply Air Line (hidden) |
|
Figure 19. PWM Valve Assembly
- Disconnect the PWM valve air line to the VNT actuator.
- Disconnect the EGR solenoid air line to the EGR actuator.
- Disconnect the air supply air line.
- Disconnect both electrical connectors.
- Remove the two bolts that hold the bracket to the cylinder block.
NOTICE:
When removing the PWM valve assembly, take care not to damage the engine harness.
- Remove the PWM valve assembly.
Section 6.5.13
Installation of PWM Valve Assembly
Install the PWM assembly as follows: (See Figure "PWM Valve Assembly" .)
- Install the two bolts that hold the bracket to the cylinder block.
- Connect both electrical connectors.
- Connect the air supply air line.
- Connect the EGR solenoid air line to the EGR actuator.
- Connect the PWM valve air line to the VNT actuator.
Section 6.5.14
Removal of EGR Valve Assembly
The EGR valve assembly includes the EGR valve and actuator. It is only serviced as a complete assembly. The EGR valve actuator rod is preset at the factory and should not be altered in the field.
For engines equipped with the EGR Valve Assembly, remove as follows:
- Disconnect the air supply line to actuator. See Figure
"Turbocharger Oil Flow Diagram (Series 50 Diesel)"
.

1. EGR Actuator
3. Pressure Line
2. Bracket
4. Hot Pipe
Figure 20. EGR Valve Assembly
- Remove the coupling from EGR housing to “hot” pipe leading to the EGR cooler. See Figure
"EGR Valve and Piping Assemblies"
.

1. PWM Valve Assembly
6. Coolant Line(s)
2. EGR Temperature Sensor
7. Bracket
3. EGR Pressure Sensor
8. Pressure Sensor Connection/Hoses
4. EGR Cooler
9. Bolts
5. Clamp(s)
Figure 21. EGR Valve and Piping Assemblies
- Apply approximately 60 psig air pressure to the actuator to remove spring tension.
- Remove the five, 12–point headed EGR housing bolts.
Note: Penetrating oil may be needed to facilitate removal.
- Remove EGR housing assembly.
Section 6.5.15
Installation of EGR Valve Assembly
For engines equipped with an EGR valve assembly, install as follows:
- Clean the mounting surface prior to installing the replacement EGR valve assembly.
Note: No gasket or sealing compound is used between the EGR housing and the turbine housing.
- Apply approximately 60 psig air pressure to the actuator to remove spring tension.
- Install replacement assembly and torque the five attachment bolts to 20–23 N·m (185–210 lb·in.). See Figure
"EGR Actuator"
.

1. EGR Actuator
3. Pressure Line
2. Bracket
4. Hot Pipe
Figure 22. EGR Actuator
- Check function of new EGR valve by connecting a regulated source of compressed air to the actuator fitting. A minimum pressure of approximately 41 psig is required to start opening the valve arm. A pressure of approximately 72 psig is required for full stroke.
- Connect the pressure line to the actuator and the “hot” pipe to the EGR housing outlet.
Section 6.5.16
Removal of the Speed Sensor
Remove the turbocharger speed sensor from the turbocharger as follows:
Note: If the turbocharger speed sensor is difficult to access, removal of the turbocharger may be required. Refer to "6.5.2 Cleaning and Removal of Turbocharger" .
- Clean the center housing area around the base of the speed sensor. See Figure
"Location of Speed Sensor"
.

1. Turbocharger Speed Sensor
2. Center Housing
Figure 23. Location of Speed Sensor
- Remove 12–point bracket bolt in line with the speed sensor.
- Place turbocharger speed sensor socket J 45643
on speed sensor while threading the lead wire through the slot in the side. See Figure
"Installation of Turbocharger Speed Sensor Socket"
.

1. Sensor Lead Wire
2. Turbocharger Speed Sensor Socket
Figure 24. Installation of Turbocharger Speed Sensor Socket
NOTICE:
Ensure the turbocharger shaft is secured and not rotated when the turbocharger speed sensor is removed from the bearing spacer. Turning the shaft without the sensor in place can rotate the bearing spacer. If the sensor is not properly positioned in the opening of the bearing spacer, see Figure "Turbocharger Speed Sensor Position" , the sensor and turbocharger bearings will be damaged during sensor installation.

1. Bearing Spacer
3. Turbocharger Speed Sensor
2. Through Hole of Spacer
Figure 25. Turbocharger Speed Sensor Position
- Loosen and remove the sensor while avoiding excessive pulling, bending, or twisting of the sensor lead wire.
Section 6.5.17
Installation of the Speed Sensor
Install the turbocharger speed sensor in the center housing as follows:
- Place the turbocharger speed sensor socket J 45643 over the head of the turbocharger speed sensor with the lead wire through the slot on the side of the socket.
- Inspect the threaded hole for the speed sensor and ensure the hole in the bearing spacer is aligned and the rotor shaft is visible.
- Manually insert the turbocharger speed sensor into the threaded hole of the center housing wall. Turn the sensor until the sealing lip on the underside of the sensor seats against the flat on the center housing and the sensor is finger tight.
- Turn the turbocharger rotor to ensure it spins freely with minimal resistance. If binding occurs, repeat speed sensor installation.
NOTICE:
Ensure the turbocharger rotor turns freely. If the shaft binds, the speed sensor is not aligned with the bearing spacer and damage can occur to the shaft and speed sensor.
- Tighten the speed sensor to 10–11 N·m (90–100 lb·in.) torque.
- Install the 12–point bracket bolt in line with the speed sensor. Tighten the bolt to 20–23 N·m (185–210 lb·in.) torque.
| Series 50 Service Manual - 6SE50 |
| Generated on 10-13-2008 |