Section 1.4
Valves, Springs, Guides, Inserts, Seals and Rotators
Four valves per cylinder, two intake and two exhaust, give the Series 50 Engines excellent breathing and cooling characteristics. See Figure "Intake and Exhaust Valve Arrangements" . Each valve has a single valve spring. See Figure "Valve, Valve Seat, Valve Guide, Springs and Rotators" .

Figure 1. Intake and Exhaust Valve Arrangements
Valves are made of heat-treated alloys, with heads and stems precision ground. Stem ends are hardened to minimize wear in contact with the valve rocker buttons.
Hard-alloy valve seat inserts, pressed into both intake and exhaust ports, can be replaced when worn to restore new engine performance.
Valves are positioned and aligned by replaceable valve guides pressed into the cylinder head. See Figure "Valve, Valve Seat, Valve Guide, Springs and Rotators" .

|
1. Valve Guide |
5. Valve Stem Oil Seal |
|
2. Valve Spring Seat |
6. Valve Spring |
|
3. Valve Insert |
7. Valve Rotator |
|
4. Valve |
8. Valve Keepers |
Figure 2. Valve, Valve Seat, Valve Guide, Springs and Rotators
Replacement guides are reamed to close tolerances, and do not require reaming after installation.
All valves are retained by valve rotator spring caps and two-piece tapered valve locks.
Valve stem oil seals, installed on both intake and exhaust valves, provide controlled valve stem lubrication while limiting oil consumption.
Note: New valve seat inserts are pre-ground and only need to be checked for concentricity after installation. Do not grind a new seat insert unless concentricity exceeds 0.05 mm (0.002 in.). Before grinding, be sure the valve guide is not excessively worn or bent, which could cause an erroneous concentricity reading. If the firedeck has been resurfaced, the valves will have to be seated deeper to restore the valve head recess depth to specification limits. Do not grind seat inserts for this purpose. Reduced thickness inserts are available that are 0.2540, 0.5080 and 0.7620 mm (0.010, 0.020 and 0.030 in.) shallower than standard. When a reduced thickness valve seat insert is used, a correspondingly thicker valve spring seat must be used. Maximum allowable valve seat width and minimum valve stem diameter are illustrated, see Figure "Standard Valve Seat Insert Thickness Series 50/50G" and see Figure "Minimum Valve Stem Diameter" .

Figure 3. Standard Valve Seat Insert Thickness Series 50/50G
When servicing exhaust valves, determine which type of exhaust valve is contained in the engine. If an exhaust valve must be replaced, use the same type that was removed. Do not mix exhaust valve types within an engine. Both exhaust valves are available from service stock for this purpose. Exhaust valve lash settings are affected by the type of exhaust valve that is contained in the engine. The valve lash settings and injector timing height are listed on the rocker cover.

Figure 4. Minimum Valve Stem Diameter
Series 50 Engines use an austenitic based alloy which can be identified by a forged H on the combustion face, and by a machined identification ring above the valve lock groove. See Figure "Exhaust Valve Identification" .
S50G exhaust valves for automotive engines are an inconnel based material. They are marked with a "J" on the face of the valve and a "J6-E-5" and a green dot on the top of the stem of the valve.

Figure 5. Exhaust Valve Identification
Beginning with engine model number 4R29201, distinguishing an intake valve from an exhaust valve can be identified by the different size dimples located on the combustion face of the valve, rather then forged lettering. See Figure "Exhaust Valve Identification" and see Figure "Intake Valve Identification" . This applies to all Series 50 diesel applications.

Figure 6. Intake Valve Identification
After engine serial number 4R37769 the Series 50 Diesel Engine will use a Nickel Alloy exhaust valve. This valve can be identified by the deletion of the machined identification ring above the keeper groove, and the raised bump on the combustion face of the exhaust valve. See Figure "Exhaust Valve Identification" .

Figure 7. Exhaust Valve Identification
Section 1.4.1
Repair or Replacement of Valves
To determine if repair is possible or replacement is necessary perform the following procedure. See Figure "Flowchart for Repair or Replacement of Valves" .

Figure 8. Flowchart for Repair or Replacement of Valves
Section 1.4.2
Removal and Cleaning of Valve Spring (Cylinder Head Installed)
Perform the following steps for valve spring removal:
- Clean any dirt and debris from the rocker cover joint area around the top of the cylinder head. Remove the rocker cover. Refer to "1.6.2 Cleaning and Removing of Two-piece Rocker Cover-Diesel Engines Only" .
- If the engine has a Jake Brake, remove the Jake Brake housings that cover the rocker arm and shaft assembly for the valve to be serviced, refer to "1.30.2 Removal of Jake Brake" .
- Remove the rocker arm shaft assembly; refer to "1.3.2 Removal of Rocker Arm Assembly"
.
Note: Fuel must be removed from the cylinder head fuel galleries prior to removing the injectors. Refer to "2.3.2 Removal of Unit Injector" .
- Remove the injector from the appropriate cylinder. Refer to "2.3.2 Removal of Unit Injector" .
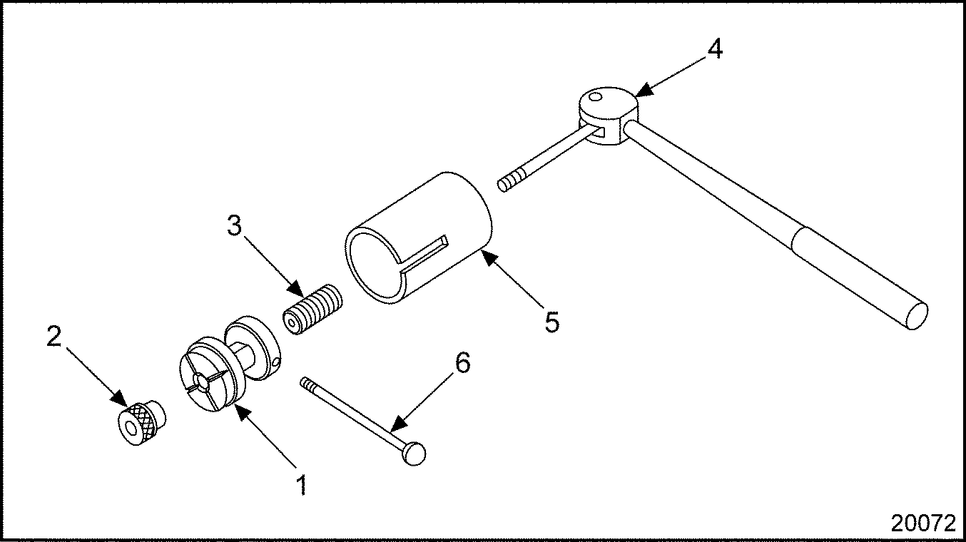
- Insert the threaded portion of the valve spring compressor, J 35580
into the threaded inboard camshaft cap hole adjacent to the valve being worked on. See Figure
"Installing Valve Spring Compressor"
.

Figure 9. Installing Valve Spring Compressor
- Position the spring compressor cage portion of the valve spring compressor directly over the valve spring to be compressed. Engage the dowel of the cage in the closest slot of the valve spring compressor handle.
NOTICE:
Do not contact the valve with the compressor tool, as the spring will be damaged.
- Compress the valve spring and remove the valve locks using a small magnet to prevent the locks from falling into the cylinder head oil return galleries. See Figure
"Compressing Valve Spring"
.

Figure 10. Compressing Valve Spring
- Release the spring and remove the valve rotator and valve spring.
Note: If the valve stem oil seal is to be replaced, remove the seal and discard it.
- Repeat step 1
through step 8
on the other three valves for the cylinder being worked on.
Note: All valve spring or seal removal and replacement must be completed for each cylinder being serviced while the piston is at top-dead-center, before turning the crankshaft to work on another cylinder.
Section 1.4.3
Removal and Cleaning of Valve Spring (Cylinder Head Removed)
With the cylinder head assembly removed from the engine, remove the valve springs as follows:
- Bolt the engine overhaul stand adaptor, J 39652
, to the engine overhaul stand, J 29109
, using the hardware provided with the adaptor. See Figure
"Engine Overhaul Stand"
.

Figure 11. Engine Overhaul Stand
- Bolt the cylinder head adaptor plate, J 35636-A , to the cylinder head using the bolts provided with the adaptor.
- Mount the cylinder head and adaptor plate to the overhaul stand adaptor by engaging the slots in the cylinder head adaptor plate to the dowels on the overhaul stand adaptor.
- Install the six nut and bolt assemblies that secure the cylinder head adaptor plate to the overhaul stand adaptor.
- Remove the cylinder head lifting hardware.
- Turn the crank of the engine overhaul stand to position the cylinder head in an upright position.
NOTICE:
Do not contact the valve with the compressor tool, as the spring will be damaged.
- Use valve spring compressor, J 8062-1 part of J 8062
, with jaws, J 8062-3 part of J 8062
installed, to compress each valve spring and remove the valve locks. See Figure
"Compressing Valve Spring"
. Refer to "1.4.5.2 Inspection of Valve Springs"
for inspection procedures.

Figure 12. Compressing Valve Spring
- Release the spring and remove the valve, valve rotator and valve spring.
- Remove the valve stem oil seal and discard the seal.
- Remove the valve spring seat.
- As parts are removed, mark or segregate them according to their original position for possible reuse.
Section 1.4.3.1
Cleaning of Valves
Clean the valves and parts as follows:
|
EYE INJURY |
|
To avoid injury from flying debris when using compressed air, wear adequate eye protection (face shield or safety goggles) and do not exceed 276 kPa (40 psi) air pressure. |
- Using proper eye protection, clean all of the disassembled parts with fuel oil and dry with compressed air.
Section 1.4.3.2
Cleaning of Valve Stems
Perform the following for valve stem cleaning:
- Clean the carbon from the valve stems and wash the valves with fuel oil.
Section 1.4.3.3
Cleaning of Valve Guide Bore
Perform the following for valve guide bore cleaning:
- Clean the valve guide bore with bore brush, J 5437 (or equivalent), to remove all gum and carbon deposits.
Section 1.4.4
Valve Guide Removal
Perform the following steps for valve guide removal:
Note: Valve guides are not replaceable on natural gas engines
- Assemble the valve guide remover, J 34696-B
, to an air chisel. See Figure
"Valve Guide Remover"
.

Figure 13. Valve Guide Remover
- Position the cylinder head firedeck side up on a turn over stand or supported on 102 x 102 mm (4 x 4 in.) wooden blocks on a workbench.
- Insert the tool into valve guide from the firedeck side of the cylinder head. See Figure
"Valve Guide Removal"
.

Figure 14. Valve Guide Removal
- Hold the tool vertical to the cylinder head and drive the valve guide until it is free of the cylinder head.
Section 1.4.5
Removal of Intake and Exhaust Valve Seat Insert
As the intake and exhaust valve seats are different in size, two different tools are required for removal. Use the cam-operated valve seat remover, J 23479-460A , with collet, J 23479–100 (Part of J 23469–460A) , to remove the larger intake valve seat insert. Use valve seat remover, J 23479-271 , with collet J 23479-29 to remove the smaller exhaust valve seat insert. See Figure "Valve Seat Insert Remover Tools " .

|
1. Collet |
4. Valve Seat Insert Puller |
|
2. Knurled Knob |
5. Collar |
|
3. Spring |
6. Collet Lever |
Figure 15. Valve Seat Insert Remover Tools
Remove the intake and exhaust valve seats as follows:
- Place the cylinder head in a horizontal position with the valve seats facing up.
NOTICE:
Follow instructions supplied with tools J 23479-460A , J 23479-100-A , J 23479-271 , and J 23479-29 to ensure longer tool life and unnecessary collet damage.
- Follow the instructions furnished with the valve seat remover tool to assemble the remover.
- Using a new valve seat insert as a guide, turn the knurled knob on the end of the shaft to tighten and expand the collet until the valve seat insert will just slip off the collet. Refer to instructions supplied with the valve seat remover tool for correct tool operation.
Section 1.4.5.1
Inspection of Valve
The valve stems must be free from scratches or scuff marks and the valve faces must be free from ridges or cracks. Some pitting of the valve face is normal, and is acceptable as long as no leak paths are evident. If leak paths exist, reface the valves or install new valves. If the valve heads are warped or the valve stem is bent, replace the valves.
If suitable for reuse, a valve may be refaced as long as the valve rim width, after refacing, is not less than 2.0 mm (0.078 in.) for intake valves and 2.2 mm (0.086 in.) for exhaust valves. See Figure "Valve Face Refacing and Rim Width" .

Figure 16. Valve Face Refacing and Rim Width
Section 1.4.5.2
Inspection of Valve Springs
Inspect the valve springs and replace any that are pitted or cracked. The entire spring should be inspected. When a broken spring is replaced, the rotator and valve locks for that valve should also be replaced.
Use valve spring tester, J 22738-02 , to test the springs. See Figure "Testing Valve Spring" .

Figure 17. Testing Valve Spring
If the spring load is less than 297 N (67 lb) at a compressed length of 67.25 mm (2.648 in.), the spring should be replaced and the valve locks should be discarded.
Section 1.4.5.3
Inspection of Valve Guides
Inspect the guides for cracks, chipping, scoring or excessive wear.
Measure the valve guide bore with a small hole gage or gage pin, and measure the valve stem diameter with a micrometer. Compare the measurements to determine valve stem clearance. If the clearance is greater than 0.13 mm (0.005 in.), the valve guide must be replaced.
Section 1.4.5.4
Inspection of Valve Seat Inserts
Inspect valve seat inserts for wear, cracking or incorrect seat angle, which should be 31°, standard valve seat insert thickness.
Section 1.4.6
Installation of Intake and Exhaust Valve Seat Insert
Perform the following steps for intake and exhaust valve seat insert installation:
|
EYE INJURY |
|
To avoid injury from flying debris when using compressed air, wear adequate eye protection (face shield or safety goggles) and do not exceed 276 kPa (40 psi) air pressure. |
- Clean the seat insert counterbores and the new seat inserts with a suitable solvent and blow dry with compressed air.
- Use valve seat insert installers, J 33190
(intake), and J 34983
(exhaust), to install new inserts. See Figure
"Valve Seat Insert Installation Tools"
.

Figure 18. Valve Seat Insert Installation Tools
- Start the insert squarely into its counterbore with the seat facing up. See Figure
"Valve Seat Insert Insertion"
.

Figure 19. Valve Seat Insert Insertion
- Pilot the installer into the valve guide from the firedeck surface. See Figure
"Valve Seat Insert Installation"
.

Figure 20. Valve Seat Insert Installation
- Drive the insert solidly into its seat in the cylinder head. See Figure
"Seating Valve Seat Insert"
.

Figure 21. Seating Valve Seat Insert
- Check the concentricity of valve seat with the valve guide using dial indicator, J 8165-2
, and pilot, J 35623-A
. See Figure
"Check Valve Seat Concentricity"
.

Figure 22. Check Valve Seat Concentricity
- If the concentricity is not within 0.05 mm (0.002 in.), grind the seat only enough to true it up, being sure to lightly grind a full 360°.
Valve seat insert grinding should be limited to light clean-up or concentricity truing. For a fine, accurate finish, the eccentric grinding method using tool J 7040-A is recommended, because the grinding wheel contacts the insert at only one point at any time, and a micrometer feed permits controlled fine adjustment. Seats must be ground to a 31° angle. See Figure "Grinding Valve Seat Insert" .

Figure 23. Grinding Valve Seat Insert
The valve head recess depth from the firedeck is increased by valve and/or insert grinding. It should be checked with a sled gage, J 22273-01 (or equivalent). See Figure "Measuring Valve Head Recess Depth" .

Figure 24. Measuring Valve Head Recess Depth
If the valve head recess depth is not between 1.4 to 1.8 mm (0.055-0.070 in.), the valve and seat must be replaced.
If the valve head recess depth is not between 0.91-1.34 mm (0.036-0.053 in.), the exhaust valve and seat must be replaced.
If the valve head recess depth is not between 0.91-1.34 mm (0.036-0.053 in.), the intake 0.79-1.17 mm (0.031-0.046 in.) valve and seat must be replaced for the Series 50G.
After light clean-up, thoroughly clean the valve seat with fuel oil and blow dry with compressed air. Check seat-to-valve face contact by applying a light coat of Prussian Blue (or equivalent) to the valve seat land. Insert the valve in the guide and "bounce" the head on the seat insert without rotating the valve. A full 360° contact line should appear approximately centered on the valve face.
Section 1.4.7
Valve Guide Installation
Perform the following steps for valve guide installation:
Note: Valve guides are not replaceable on natural gas engines
- Start the chamfered end of the valve guide into the cylinder head from the top. See Figure
"Valve Guide Installation"
.

Figure 25. Valve Guide Installation
- Insert the driver into an air chisel. Insert the driver into the valve guide limiting sleeve and install this assembly over the valve guide. Drive the guide into the cylinder head using valve stem seal installer, J 35599
until the installer bottoms in the limiting sleeve. See Figure
"Valve Guide Installation"
.

Figure 26. Valve Guide Installation
- Properly used, the installer ensures the correct protrusion of the valve guide from the cylinder head of 37.75 mm (1.486 in.).
Section 1.4.8
Valve Spring, Seal and Rotator Installation
Perform the following steps for valve installation:
- Position the cylinder head vertically on the overhaul stand. Lubricate the valve stems with clean engine lubricating oil and slide them into their respective valve guides and against the valve seats. If reusing valves, install them to their original positions.
- Install the valve spring seat over the valve guide. Install the valve stem oil seals using valve stem oil seal installation tools. See Figure
"Valve Stem Oil Seal Installation Tools"
.

1. Valve Stem Seal Installer
4. Valve Guide
2. Oil Seal Protector Cap
5. Valve
3. Valve Spring Seat
6. Valve Stem Oil Seal
Figure 27. Valve Stem Oil Seal Installation Tools
- Check the length of the plastic seal protector cap relative to the lock groove on the valve stem. See Figure
"Oil Seal Protection Cap Sizing"
.

Figure 28. Oil Seal Protection Cap Sizing
- If the seal protector cap extends more than 1.5 mm (1/16 in.) beyond the groove, trim off the excess length of the cap.
- Install the cap over the valve stem. See Figure
"Oil Seal Protection Cap Installation"
.

Figure 29. Oil Seal Protection Cap Installation
NOTICE:
Be sure that all valve spring seats have been installed before the valve stem seal is installed.
- The valve stem oil seal may be installed with or without oil. Push the seal over the protector. See Figure
"Valve Stem Oil Seal Installation"
.
Note: The valve stem oil seal on the natural gas engine has a larger inside diameter than the seal on the diesel engine.

Figure 30. Valve Stem Oil Seal Installation
- Push the seal down on the valve stem using the seal installer, J 39109
while holding the valve head against the sea. See Figure
"Valve Stem Oil Seal Installer"
.

Figure 31. Valve Stem Oil Seal Installer
- When the installer tool contacts the cylinder head, the seal is correctly positioned. Be sure the installer is square against the cylinder head. Remove the seal installer and protector cap.
- Install the valve spring and rotator. See Figure
"Valve Spring and Related Parts"
. If reusing parts, install them to their original positions.

1. Valve Key Locks
4. Valve Stem Oil Seal
2. Valve Rotator
5. Valve Guide
3. Valve Spring
6. Valve Spring Seat
Figure 32. Valve Spring and Related Parts
Note: Always install new valve key locks when installing valves.
- Using the valve spring compressor tool, J 8062-1 part of J 8062
, compress the valve spring only as much as required to install the valve locks. After installing the valve locks, rap the end of the valve stem sharply with a plastic mallet to seat the valve locks.
Note: Be sure the valve rotator is properly centered and aligned to avoid scoring the valve stem. Do not compress the spring any more than necessary to install the locks, to avoid damaging the oil seal.
- After all of the valves are installed, check the spring opening pressure on each valve using spring load gage, J 25076-B
(or equivalent). See Figure
"Checking Valve Spring Load"
.

Figure 33. Checking Valve Spring Load
- Note the gage reading when the valve just starts to unseat. The force required to unseat the valve must not be less than 290 N (65 lb).
- Remove the cylinder head from the overhaul stand and install it on the engine. Refer to "1.2.5 Installation of Cylinder Head" .
- Install the camshaft and rocker arm assemblies. Lightly lubricate the overhead assemblies with clean engine oil. Refer to "1.22.5 Installation of Camshaft and Camshaft Bearing" .
- If the engine is equipped with a Jake Brake, install the brake. Refer to "1.30.5 Installation of the Jake Brake" .
- Adjust the valve clearance and injector timing. Refer to "12.2 Valve Lash, Injector Height (Timing) and Jake Brake
® Lash Adjustments" . - If the engine is equipped with a Jake Brake, lash the brake. Refer to "1.30 Jake Brake" .
- Install any other components that were removed.
- Fill the engine crankcase, refer to "13.5.1 Lubricating Oil" , with the proper lubricant. Refer to "5.2 Lubricating Oil" for proper lubricant.
- Close any drain cocks that were opened and fill the cooling system. Refer to "13.5.4 Cooling System"
. Purge the air from the system using the vent in the thermostat housing. Complete filling of the cooling system is essential for proper engine operation.

PERSONAL INJURY
Diesel engine exhaust and some of its constituents are known to the State of California to cause cancer, birth defects, and other reproductive harm.
- Always start and operate an engine in a well ventilated area.
- If operating an engine in an enclosed area, vent the exhaust to the outside.
- Do not modify or tamper with the exhaust system or emission control system.
- Start the engine and check for leaks.
| Series 50 Service Manual - 6SE50 |
| Generated on 10-13-2008 |