Section 1.30
Jake Brake
The engine brake has been designed to fit on the Series 50 engine with no additional valve cover spacers. There are three styles of valve covers for the Series 50 engine. On engines equipped with a two-piece aluminum valve cover, it is NOT necessary to remove the lower valve cover to install the engine brake. However, one style of upper valve cover may require modification at the breather housing location (inside) for engine brake clearance.
The model, part number and serial number are located on the nameplates at the top of each housing. See Figure "Nameplate Location on Housing" .

|
1. Identification Plate |
|
Figure 1. Nameplate Location on Housing
NOTICE: |
|
Only the specific brake model can be used with the engine model it was designed for. Also, the correct slave piston adjustment specification must be used. Failure to follow these instructions may result in serious engine or engine brake damage. |
Listed in Table "Jake Brake Model Information" are the different Jake Brake models used and the slave piston adjustment specification.
|
Model Number |
Engine Displacement |
Engine Brake |
Slave Piston Adjustment |
|
6047GU28 |
8.5 L |
750 |
0.660 mm (0.026 in.) |
|
6047GU60 |
8.5 L |
750 |
0.660 mm (0.026 in.) |
|
6047GK28 |
8.5 L |
750 |
0.660 mm (0.026 in.) |
|
6047GK60 |
8.5 L |
750 |
0.660 mm (0.026 in.) |
|
6047TK60 |
8.5 L |
750A |
0.584 mm (0.023 in.) |
|
6047TK45 |
8.5 L |
750A |
0.584 mm (0.023 in.) |
|
6047TK28 |
8.5 L |
750A |
0.584 mm (0.023 in.) |
|
6047MK60 |
8.5 L |
750B |
0.584 mm (0.023 in.) |
|
6047MK50 |
8.5 L |
750B |
0.584 mm (0.023 in.) |
|
6047MK45 |
8.5 L |
750B |
0.584 mm (0.023 in.) |
|
6047MK57 |
8.5 L |
750B |
0.584 mm (0.023 in.) |
|
6047MK28 |
8.5 L |
750B |
0.584 mm (0.023 in.) |
All slave piston adjustments shown here are current as of the date of this manual and supersede all previous adjustments.
Current Jake Brake production models for the Series 50 engine are the 750, 750A and 750B.

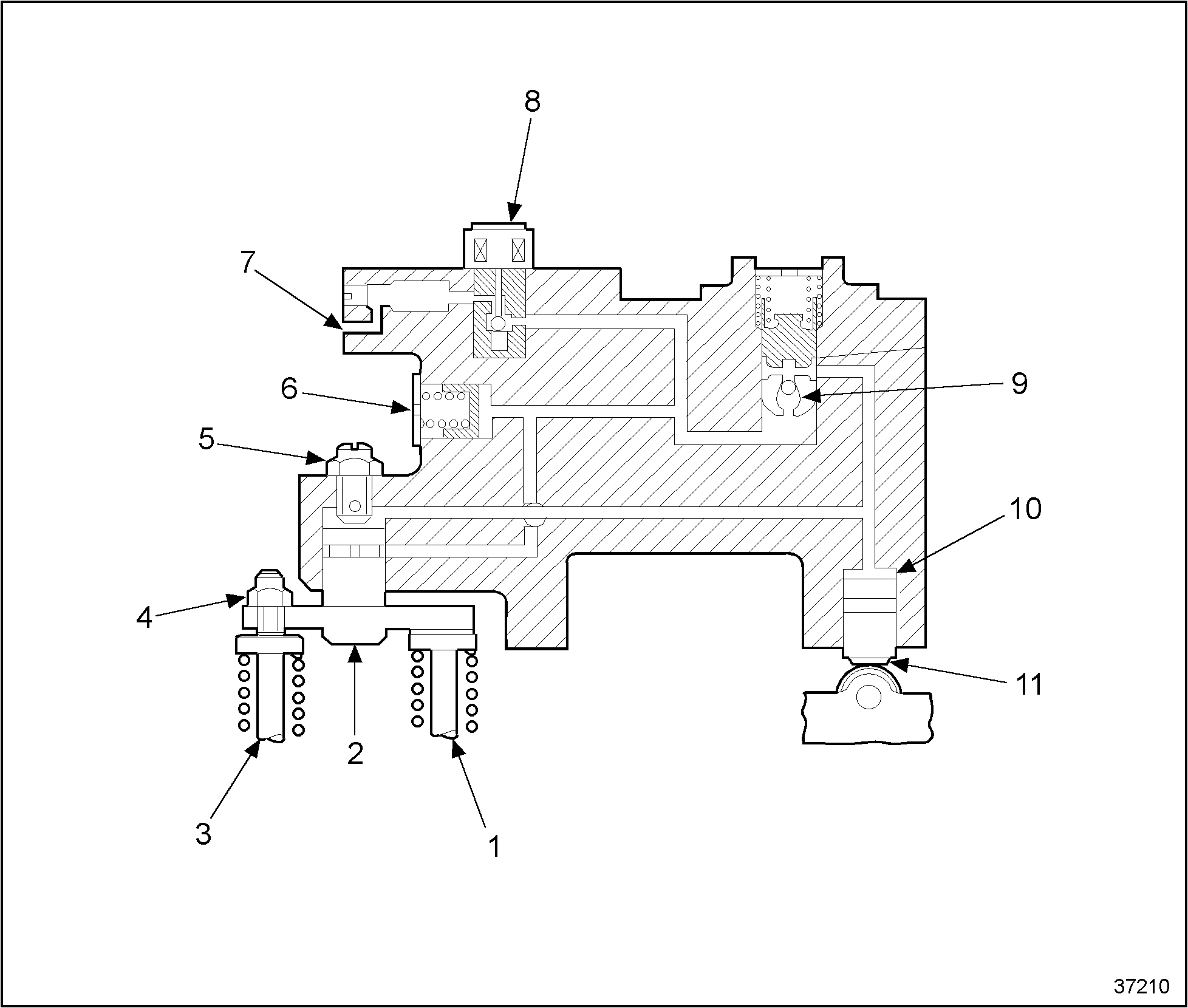
|
1. Exhaust Valve |
7. Oil In |
|
2. Slave Piston Assembly |
8. Solenoid Valve |
|
3. Exhaust Valve |
9. Control Valve |
|
4. Leveling Screw |
10. Master Piston |
|
5. Slave Piston Adjusting Screw |
11. Injector Pin and Roller |
|
6. Accumulator |
|
Figure 2. Jake Brake Schematic
The blowdown of compressed air to atmospheric pressure prevents the return of energy to the engine piston on the expansion stroke, the effect being a net energy loss, since the work done in compressing the cylinder charge is not returned during the expansion process.
Exhaust blowdown occurs as the energized solenoid valve permits engine lube oil to flow under pressure through the control valve to both the master piston and the slave piston.
See Figure "Jake Brake Schematic" .
Oil pressure causes the master piston to move down, coming to rest on the injector rocker
arm roller.
The injector rocker arm begins its travel as in the normal injection cycle, moving the master piston upward and directing high-pressure oil to the slave piston. The ball check valve in the control valve traps high-pressure oil in the master-slave piston system.
High pressure oil causes the slave piston to move down, momentarily opening the exhaust valves, while the engine piston is near its top-dead-center position, releasing compressed cylinder air to the exhaust manifold.
At the bottom of its stroke, the slave piston separates from the valve in the slave piston adjusting screw, allowing high pressure oil to flow into the accumulator. This reduces the pressure in the high pressure circuit, permitting the slave piston to retract and the exhaust valves to close in preparation for the normal exhaust valve cycle. The oil pressure reserved in the accumulator insures that the hydraulic circuit is fully charged for the next cycle. Compressed air escapes to the atmosphere, completing a compression braking cycle.
The Jake Brake is electronically controlled. Jake Brake control system wiring will vary depending on the vehicle manufacturer. For a general overview of the Jake Brake, see Figure "Typical Jake Brake Assembly" .

|
1. Control Valve |
5. Slave Piston |
|
2. Solenoid Valve |
6. Bridge |
|
3. Accumulator Piston |
7. Master Piston |
|
4. Slave Piston Adjusting Screw |
|
Figure 3. Typical Jake Brake Assembly
Section 1.30.1
Repair or Replacement of Jake Brake
To determine if repair is possible or replacement is necessary, perform the following procedure. See Figure "Jake Brake Repair or Replacement Flowchart" .

Figure 4. Jake Brake Repair or Replacement Flowchart
Section 1.30.2
Removal of Jake Brake
Remove the Jake Brake as follows:
|
PERSONAL INJURY |
|
To avoid injury, never remove any engine component while the engine is running. |
- Disconnect starting power for engine. Refer to OEM guidelines.
- Remove the engine rocker cover. Refer to "1.6.2 Cleaning and Removing of Two-piece Rocker Cover-Diesel Engines Only"
.
Note: If the engine is equipped with an aluminum two-piece valve cover, remove only the upper valve cover when installing the engine brake.
- Note the location of the rocker arm shaft, the exhaust valve rocker arm, the fuel injector rocker arm, and the intake valve rocker arm.
- Disconnect the solenoid wiring harness connectors from the engine brake solenoids.
See Figure "Jake Brake Assembly" .

1. Cylinder Head
4. Washers (3 Each)
2. Jake Brake Assembly
5. Bolts (3 Each)
3. Solenoid
6. Engine Brake Harness
Figure 5. Jake Brake Assembly
- Remove the six (6) mounting bolts and washers that secure the engine brake assemblies to the cylinder head. See Figure "Jake Brake Assembly" .
- Remove the engine brake assemblies and the spacer bar.
Section 1.30.3
Disassembly of Jake Brake
Remove the control valve as follows:
|
EYE INJURY |
|
To avoid injury from flying debris, wear a face shield or goggles. |
- Press down on control valve washer using an appropriate diameter rod to relieve spring pressure. See Figure
"Relieving Spring Pressure"
.

1. Jake Brake Assembly
3. Snap Ring Retainer
2. Spring
4. Snap Ring Pliers
Figure 6. Relieving Spring Pressure
- Using retaining ring pliers, remove retaining ring.
- Slowly remove cover until spring pressure ceases, then remove the two control valve springs and collar. See Figure
"Removing Control Valve Springs and Collar"
.

1. Jake Brake Assembly
5. Washer
2. Control Valve
6. Collar Spring
3. Collar
7. Control Valve Spring
4. Snap Ring Retainer
Figure 7. Removing Control Valve Springs and Collar
- Using needle-nose pliers, reach into the bore and grasp the stem of the control valve. Remove control valve.
Remove the slave piston adjusting screw as follows:
- Loosen slave piston adjusting screw locknut.
- Remove adjusting screw from housing. See Figure
"Removing Slave Piston Adjusting Screw"
.

1. Jake Brake Assembly
2. Slave Piston Adjusting Screw
Figure 8. Removing Slave Piston Adjusting Screw
Remove the solenoid valve as follows:
NOTICE: |
|
To avoid possible engine damage, do not disassemble or tamper with the solenoid valve. |
- Disconnect solenoid valve harness.
- Using a 7/8 in. socket and extension for former solenoids or a 3/4 in., 6 point socket and extension for current solenoids, unscrew solenoid valve.
- Remove and discard the three rubber seal rings. See Figure
"Removing Rubber Seal Rings"
.

1. Seal Rings (3)
2. Solenoid
Figure 9. Removing Rubber Seal Rings
- If the lower ring stays in the bottom of the housing bore, remove with a piece of wire.
Remove the accumulator as follows:
|
EYE INJURY |
|
To avoid injury from flying parts when working with components under spring tension, wear adequate eye protection (face shield or safety goggles). |
- Push down on the accumulator cover using the appropriate diameter rod, and remove the retaining ring. See Figure
"Removing Retaining Ring"
.

1. Jake Brake Assembly
3. Retaining Ring Pliers
2. Retaining Ring
Figure 10. Removing Retaining Ring
- Relieve pressure on the accumulator cover.
- Remove the cover and spring.
- Use a magnet to remove the piston from the accumulator bore. See Figure
"Removing Piston from Accumulator Bore with Magnet"
.

1. Jake Brake Assembly
4. Retaining Ring
2. Piston
5. Washer
3. Spring
Figure 11. Removing Piston from Accumulator Bore with Magnet
Remove the master piston as follows:
- Remove the screw, washer, and master piston spring from the housing.
- Remove the master piston. See Figure
"Removing the Master Piston"
.
Note: Use needle-nose pliers, if necessary.

1. Washer and Screw Assembly
3. Master Piston
2. Jake Brake Assembly
4. Master Piston Spring
Figure 12. Removing the Master Piston
Remove the slave piston as follows:
- Remove the screw and washer that retains the slave piston return spring.
- Remove the bridge and the slave piston. See Figure
"Removing Bridge and Slave Piston"
.

1. Slave Piston Bridge
4. Return Spring
2. Jake Brake Housing
5. Washer
3. Slave Piston
6. Screw
Figure 13. Removing Bridge and Slave Piston
- Loosen the leveling screw locknut and remove the leveling screw from the bridge.
See Figure "Removing the Leveling Screw from the Bridge" .

1. Slave Piston Bridge
2. Slave Piston Leveling Screw
Figure 14. Removing the Leveling Screw from the Bridge
Section 1.30.3.1
Cleaning of Jake Brake
Clean the Jake Brake as follows:
Note: Use an OSHA-approved cleaning solvent when washing parts. Be sure to coat parts with clean engine oil when reinstalling them.
- Wash the control valves with approved cleaning solvent.
- Push a wire through the hole in the base of the valve to the distance required to ensure that the ball check is free.
Note: The ball should lift with light pressure on the wire.

EYE INJURY
To avoid injury from flying debris when using compressed air, wear adequate eye protection (face shield or safety goggles) and do not exceed 276 kPa (40 psi) air pressure.
- Dry the valve with compressed air, and wipe clean with a paper towel.
- Thoroughly clean the control valve bore in the housing using clean paper towels.
- Clean slave piston adjusting screw in an approved cleaning solvent.
NOTICE:
Use clean paper towels to clean the solenoid valve bore. Never use rags, as they may leave lint and residue which can plug the oil passageways, causing Jake Brake malfunction.
- Clean out the solenoid valve bore in the housing.
- Use a brush to clean the oil screen.
- Rinse the solenoid valve in cleaning solvent.
- Clean the master piston in approved cleaning solvent.
Section 1.30.3.2
Inspection of the Jake Brake
The Jacobs engine brake is typically a trouble-free device. However, inspections are necessary and some maintenance is required. Use the following procedures to keep the engine brake in top condition.
Inspect the Jake Brake as follows:
- Inspect slave piston adjusting screw for protrusion, spring pressure and freedom
of movement.
Note: The plunger should protrude from the bottom of the screw, have light spring pressure apparent when depressed, and move freely.
- If the plunger does not protrude, the spring does not have light pressure or does not move freely, replace the entire screw assembly. Refer to "1.30.4 Assembly of Jake Brake" .
- If the slave piston adjusting screw meets specifications, continue with inspection.
- Inspect the accumulator for wear or damage.
- If worn or damaged, replace the accumulator. Refer to "1.30.4 Assembly of Jake Brake" .
- If accumulator is not worn or damaged, continue with inspection.
- Inspect the master piston bore for wear or damage.
Note: Some wear marks are permissible.
- If worn or damaged, replace the master piston. Refer to "1.30.4 Assembly of Jake Brake" .
- If not worn or damaged, continue with inspection.
- Apply clean lube oil to the piston, and insert into bore.
Note: Master piston should move in and out freely with no binding.
- If binding occurs, replace master piston and/or housing. Refer to "1.30.4 Assembly of Jake Brake" .
- If no binding occurs, continue with inspection.
- Inspect master piston spring for relaxation.
Note: The spring should hold the master piston completely in the housing.
- If relaxed, replace the spring. Refer to "1.30.4 Assembly of Jake Brake" .
- If spring holds tightly, continue with inspection.
- Inspect slave piston components for excessive wear or damage.
- If worn or damaged, replace slave piston component.
- If not worn or damaged, proceed with inspection.
Section 1.30.3.3
Inspection of Control Valve
Inspect the control valve as follows:
- Dip the control valves in clean lube oil.
- Holding the control valve by the stem, let it drop into the bore.
- If binding occurs or if the ball sticks in the valve, replace the control valve. Refer to "1.30.4 Assembly of Jake Brake" .
- If no binding occurs and the ball does not stick in the control valve, assemble the Jake Brake. Refer to "1.30.4 Assembly of Jake Brake" .
Section 1.30.4
Assembly of Jake Brake
Install the control valve as follows:
- Slip the control valve into the bore. See Figure
"Installing the Control Valve"
.

1. Jake Brake Assembly
5. Washer
2. Control Valve
6. Collar Spring
3. Collar
7. Control Valve Spring
4. Snap Ring Retainer
Figure 15. Installing the Control Valve
- Install the control valve collar and two springs.
Note: Ensure the collar is installed with the longer sleeve area facing up. If the collar is installed upside down, the engine brake cylinder will not operate.
- Press the cover (washer) into place.
- While holding the cover tightly in place, install the retaining ring.
- Rotate retaining ring ears 90° to assure ring is seated in groove.
Install the slave piston adjusting screw as follows:
- Place the screw in the housing. See Figure
"Installing the Slave Piston Adjusting Screw"
.

1. Jake Brake Assembly
2. Slave Piston Adjusting Screw
Figure 16. Installing the Slave Piston Adjusting Screw
- Do not torque the slave piston adjusting screw locknut at this time.
Install the solenoid valve as follows:
Note: As of October 19, 1997, former solenoids have been replaced with the current improved solenoids. The current solenoids have an increased installation torque and improved durability. The current solenoid is interchangeable with the former.
- Coat new solenoid valve seal rings with clean lube oil.
Note: Use current upper seals when installing current solenoids. New seals are identified with yellow stripes.
- Install the upper and center seal rings on the solenoid valve body and the lower seal ring into the bottom of the bore in the housing. See Figure
"Installation of Solenoid Valve Seal Rings"
.

1. Seal Rings (3)
2. Solenoid
Figure 17. Installation of Solenoid Valve Seal Rings
- Make sure the seals are seated properly.
- Using a 7/8 in. socket and extension for former solenoids or a 3/4 in., 6 point socket and extension for current solenoids, carefully screw the solenoid valve into the housing without unseating the seals.
- Torque the former solenoid to 12.4 N·m (9 lb·ft). Torque the current solenoid to 20 N·m (15 lb·ft).
Note: Be careful not to twist the seals while installing.
Install the accumulator as follows:
- Place the piston into the accumulator bore.
- Insert the spring, and install the cover.
- Push down the accumulator cover, and insert retaining ring.
Install the master piston as follows:
- Apply clean lube oil to the piston.
- Insert master piston into bore. See Figure
"Inserting Master Piston into Bore"
.

1. Washer and Screw Assembly
3. Master Piston
2. Jake Brake Assembly
4. Master Piston Spring
Figure 18. Inserting Master Piston into Bore
- Install spring, washer, and screw.
Note: Make sure spring legs are centered around master piston boss.
- Torque screw to 10 N·m (7.4 lb·ft).
Install the slave piston as follows:
- Install the screw from the slave piston side of the bridge.
- Install the leveling screw locknut.
- Install the bridge with the leveling screw toward the center of the housing.
See Figure "Installing Bridge with Leveling Screw Toward Center of Housing" .

1. Washer
4. Bridge Assembly
2. Screw
5. Jake Brake Housing
3. Torsion Spring
Figure 19. Installing Bridge with Leveling Screw Toward Center of Housing
- Install the slave piston assembly torsion spring with the ends over the bridge.
See Figure "Installing the Slave Piston Assembly Torsion Spring" .

Figure 20. Installing the Slave Piston Assembly Torsion Spring
- Install the screw over the center part of the spring.
NOTICE:
While tightening the screw on the torsion spring, push the spring toward the slave piston assembly. Failure to do so may result in contact between the intake valve adjusting screw and torsion spring. Serious engine damage may result.
- Torque the screw to 20 N·m (15 lb·ft.).
Section 1.30.5
Installation of the Jake Brake
Install the Jake Brake as follows:
- Adjust the intake and exhaust valve clearances and set the injector heights.
Refer to "1.12.2 Cleaning and Removal of Crankshaft Vibration Damper" .

EYE INJURY
To avoid injury from flying debris when using compressed air, wear adequate eye protection (face shield or safety goggles) and do not exceed 276 kPa (40 psi) air pressure.
- Attach the length of tubing to a blow gun nozzle, and blow out the oil from the bolt holes.
- Cover the holes with hand towels to minimize oil spray.
Note: Removing the oil from the bolt holes prevents the cylinder head from cracking when tightening the bolts.
- Place the spacer bar on the exhaust manifold side of the cylinder head with the center notch facing the exhaust manifold. See Figure
"Location of Spacer Bar"
.

Figure 21. Location of Spacer Bar
- Place the two engine brake housings over the rocker shafts with the solenoid valves toward the camshaft side of the engine.
Note: Be sure housings do not interfere with wiring harness.
NOTICE:
Do not mix the rocker arm shaft bolts and the Jake Brake mounting bolts. If the rocker arm shaft bolt is mistakenly used to mount the Jake Brake housing, the longer shoulder on the bolt will block the oil supply to the Jake Brake on the camshaft side of the housing. The brake will not retard the engine as designed. This condition could cause loss of vehicle braking control on downgrades, which may create a risk of personal injury to the vehicle operator or other persons and damage to the vehicle or property of others.
Note: The rocker arm shaft mounting bolt and Jake Brake mounting bolt, part of the Jake Brake assembly, are similar in appearance. Both are M12 x 110 mm (4.33 in.) long and have 12 point heads.
Note: In the event of a housing hold down bolt failure on a Jacobs engine brake housing, replace all bolts on that particular housing.
NOTICE:
Use bolts that have the Jacobs logo, circled "J". Installation of bolts that do not have the circled "J" may result in damage to the engine, engine brake or both.
- The Jake Brake bolt has the Jacobs logo (circled "J") and the letters "EF" marked on the head. The bolt length is no longer marked atop the bolt head.
- The DDC rocker arm shaft bolt has the DDC logo (spinning arrows) and the vendor I.D. (F-C) on its head.
- [c] The DDC bolt shoulder is much longer, 17.0 mm (0.669 in.) versus 4 mm (0.157 in.) than the Jake Brake bolt. See Figure "Jake Brake and DDC Bolt Identification" .
Note: Be sure that only Jake Brake bolts, see Figure "Jake Brake and DDC Bolt Identification" , are installed in the Jake Brake housing.

Figure 22. Jake Brake and DDC Bolt Identification
Note: All the housing mounting bolts for models 750, 750A and 750B are the same length.
- Install a washer on each bolt, and install into housings (three bolts per housing).
- Move the housing from side to side. For models 750 and 750B locate the housing in the center position of the movement. For model 750A locate the housing as far towards the camshaft side of the engine as possible. See Figure
"Locating Center Position of Housing"
.

Figure 23. Locating Center Position of Housing
- Torque the engine brake mounting bolts using the following sequence:
- Torque the two bolts on the camshaft side of the engine to 55 N·m (40 lb·ft).
- Torque the four bolts on the exhaust manifold side of the engine to 55 N·m (40 lb·ft).
- Repeat the tightening sequence and re-torque all bolts to 136 N·m (100 lb·ft).
- Check the torque to 136 N·m (100 lb·ft).
- Secure wire harness to spacer bars with plastic ties.
- Connect wiring harness solenoid connectors to solenoids.
Section 1.30.5.1
Adjustment of Slave Piston
Make the following adjustment with the engine stopped and cold, and the oil temperature at 60°C (140°F) or below. The exhaust valves on the cylinder must be in the closed position (rocker arm roller on the base circle of the camshaft). When setting the engine brake lash, the exhaust valves must be in the closed position.
Adjust the slave piston on all models as follows:
NOTICE: |
|
This application and adjustment information must be strictly followed. Failure to follow these instructions may result in serious engine or engine brake damage. |
Note: Model 750B Jacobs engine brake requires a special procedure for adjusting the slave piston. The procedure is clearly indicated in the following adjustment steps.
NOTICE: |
|
Improper slave piston adjustment can result in engine or brake housing damage. |
NOTICE: |
|
Strictly follow the slave piston adjustment procedure. Failure to use the proper adjustment procedure will result in poor engine brake performance and/or serious engine damage. |
- Refer to "1.30 Jake Brake" for proper slave piston clearance setting.
- Back out the leveling screw in the slave piston assembly until the end of the screw is beneath the surface of the bridge in the slave piston assembly. See Figure
"Location of Leveling Screw"
.
Note: The leveling screw is located in the bridge member of the slave piston assembly.

1. Locknut
2. Leveling Screw
Figure 24. Location of Leveling Screw
- Place the correct size feeler gage between the solid side of the slave piston (the side without the leveling screw) and the exhaust rocker arm adjusting screw. Refer to "1.30 Jake Brake" for proper feeler gage sizes.
- Turn the slave piston adjusting screw clockwise until a slight drag is felt on the feeler gage. See Figure
"Turn Slave Piston Adjusting Screw Clockwise"
.

1. Slave Piston Bridge
3. Feeler Gage
2. Slave Piston Adjusting Screw
Figure 25. Turn Slave Piston Adjusting Screw Clockwise
- Perform the following additional steps on model 750B:
- Turn in the J-Lash® adjusting screw until the solid side of the slave piston bridge assembly contacts the exhaust valve and the valve springs begin to compress. Turn in one additional turn.
- Back out the adjusting screw only until the correct size feeler gage can be inserted between the solid side of the slave piston bridge assembly and the exhaust valve.
- Adjust the J-Lash so that a light drag is felt on the feeler gage.
- Use a screwdriver to hold the J-Lash in place, and torque the lock nut to 34 N·m (25 lb·ft).
- Recheck the lash settings. If clearance setting is incorrect, repeat the J-Lash adjustment procedure.
NOTICE:
All oil must be purged from the J-Lash adjusting screw. Oil remaining in the J-Lash screw will cause inaccurate clearance adjustment, resulting in possible engine or engine brake damage. If oil is below room temperature (below 60°F), wait at least two minutes for oil to be purged from the J-Lash adjusting screw.
Note: Wait at least 30 seconds for oil to be purged from the J-Lash adjusting screw.
Note: Do not back out the J-Lash more than required to obtain a light drag on the feeler gage.
Note: If the J-Lash screw is backed out until it no longer compresses the slave piston spring, oil will enter the screw and the adjustment will be incorrect. If this occurs, repeat the J-Lash adjustment procedure.
Note: Once the engine brake has been run, oil enters the J-Lash screw making the engine brake adjustment unreadable. If unsure of the adjustment, repeat the J-Lash adjustment procedure.
- Hold the screw in position, and torque the locknut to 35 N·m (26 lb·ft).
- Check the adjustment, and repeat if necessary.
Note: Do not disassemble the slave piston adjusting screws.
- Place the correct feeler gage between the leveling screw and the rocker arm adjusting screw.
- Turn the leveling screw clockwise until a slight drag is felt on the feeler gage.
See Figure "Setting Clearance on Leveling Screw and Rocker Arm" .

1. Feeler Gage
3. Rocker Arm Adjusting Screw
2. Slave Piston Leveling Screw
Figure 26. Setting Clearance on Leveling Screw and Rocker Arm
- Hold the leveling screw in position, and torque the locknut to 47 N·m (35 lb·ft).
- Check adjustment, and repeat if necessary.
- Repeat the adjustment procedures for the remaining cylinders. Refer to step 2
.

PERSONAL INJURY
To avoid injury when working near or on an operating engine, remove loose items of clothing and jewelry. Tie back or contain long hair that could be caught in any moving part causing injury.
Note: Bar over the engine when necessary to place the exhaust valves in the closed position for slave piston adjustment.
- Install the engine rocker cover. Refer to .
- Install all remaining components that were removed for this procedure.
- Connect starting power for the engine.
- Verify proper Jake Brake installation by driving the vehicle, then checking engine brake performance.
| Series 50 Service Manual - 6SE50 |
| Generated on 10-13-2008 |