Section 32.2
SPN 168/FMI 1
This diagnosis is typically battery voltage low.
Section 32.2.1
Alternator and Battery Check
Check as follows:
- Check the condition of the alternator drive belt and replace, if required.
- If fault is no longer active, refer to "32.2.2.1 Verify Repairs" .
- If fault is still active, go to step 2 .
- Check for loose alternator mounting and retighten or repair, as required.
- If fault is no longer active, refer to "32.2.2.1 Verify Repairs" .
- If fault is still active, go to step 3 .
- Check for proper alternator operation and repair or replace, as required.
- If fault is no longer active, erase fault code memory.
- If fault is still active, go to step 4 .
- Check the condition of the battery (does it hold the charge?) and replace, if required.
- If fault is no longer active, refer to "32.2.2.1 Verify Repairs" .
- If fault is still active, refer to "32.2.2 Measure the Resistance" .
Section 32.2.2
Measure the Resistance
Measure the resistance as follows:
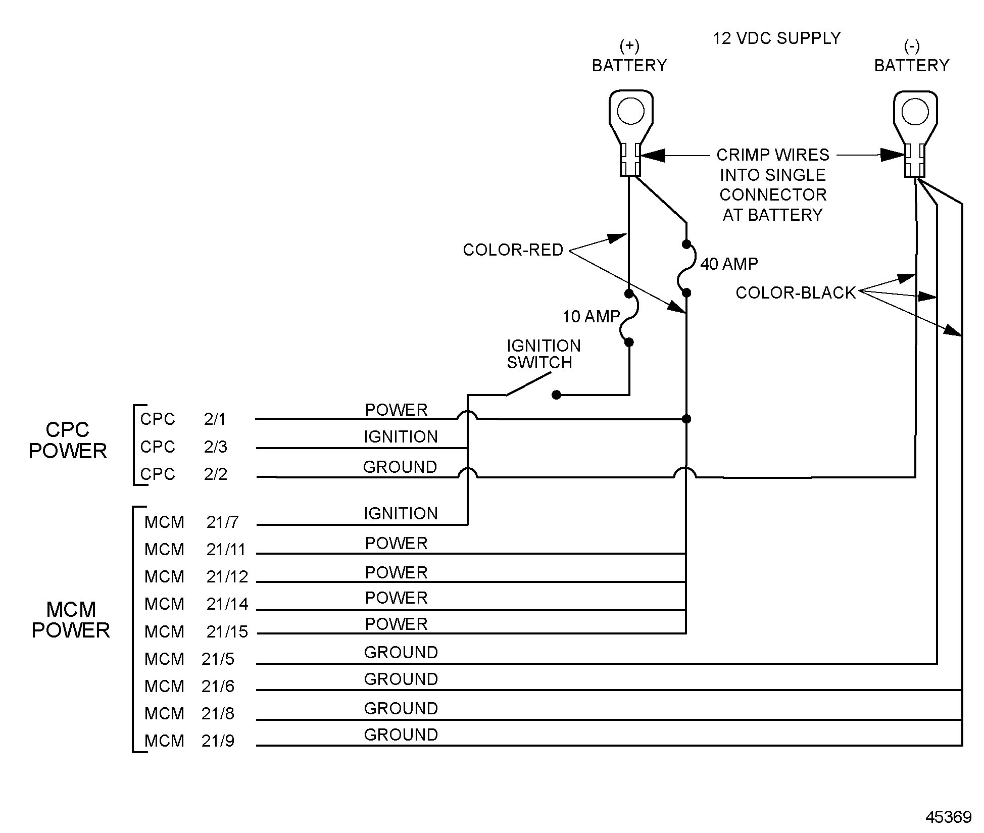
- Measure the resistance of the individual wires in the ground circuit (MCM 21/5, 21/6, 21/8, 21/9 and CPC 2/2). See Figure
"Power Wiring"
.
- If resistance is greater than 0.5 Ω in any wire, repair or replace the wire and connector.Refer to "32.2.2.1 Verify Repairs" .
- If resistance is less than 0.5 Ω in all wires, go to step 2 .

Figure 1. Power Wiring
- Measure the resistance of the individual wires in the power circuit (MCM 21/11, 21/12, 21/14, 21/15 and CPC 2/1) with the engine running and battery voltage greater than 12.5 V. See Figure
"Power Wiring"
.
- If resistance is greater than 0.5 Ω in any wire, repair or replace the power circuit wires and connector. Refer to "32.2.2.1 Verify Repairs" .
- If resistance is less than 0.5 Ω in any wire, go to step 3 .
- Measure the current drop of the individual wires in the ground circuit (MCM 21/5, 21/6, 21/8, 21/9 and CPC 2/2). See Figure
"Power Wiring"
.
- If the current drop is more than 0.2 volts in any wire, repair or replace the ground circuit wires and connector. Refer to "32.2.2.1 Verify Repairs" .
- If the current drop is less than 0.2 volts in any wire, go to step 4 .
- Measure the current drop of the individual wires in the power circuit (MCM 21/11, 21/12, 21/14, 21/15 and CPC 2/1).See Figure
"Power Wiring"
- If the current drop is more than 0.2 volts in any wire, repair or replace the power circuit wires and connector. Refer to "32.2.2.1 Verify Repairs" .
- If the current drop is more than 0.2 volts in any wire, refer to "32.2.2.1 Verify Repairs" .
Section 32.2.2.1
Verify Repairs
Verify repairs as follows:
- Turn ignition OFF.
- Reconnect any electrical connections that were disconnected to perform the diagnosis.
- Clear codes with DDDL 7.0 or latest version.
- Start and bring engine up to operating temperature (over 140°F/60°C).
- Verify operation is satisfactory and no warning lamps illuminate. If warning lamps illuminate, troubleshoot the codes. If assistance is required, call the Detroit Diesel Customer Support Center at 313–592–5800.
| EPA07 Series 60 DDEC VI Troubleshooting Guide - 6SE567 |
| Generated on 10-13-2008 |