Section 13.2
Valve Lash, Injector Height (Timing) and Jake Brake® Lash Adjustments
Accurate adjustment of clearance between valve buttons, intake and exhaust valves is important if maximum performance and economy are to be obtained.
Likewise, injector height should be properly maintained.
To ensure efficient engine performance and extended valve and injector service life, an initial valve lash and injector height measurement/adjustment requirement has been established.
Effective immediately, the valve lash and injector heights on all Series 60 engines must be measured and, if necessary, adjusted at the initial period listed in Table "Measurement/Adjustment Period" .
NOTICE: |
|
Failure to measure valve clearances and injector heights at the required initial period and make necessary adjustments may result in gradual degrading of engine performance and reduced fuel combustion efficiency. |
|
Engine Application |
Initial Valve Lash and Injector Height Measurement/Adjustment Period |
|
Vehicle Engines |
96,000 km (60,000 miles) or 24 months (Whichever comes first) |
Once the initial measurements and adjustments have been made, any adjustments beyond this point should be made only as required to maintain satisfactory engine performance.
Note: This is a change from the original recommendation, which required checking and (if necessary) adjusting valve lash and injector heights at 190,000 km (120,000 miles).
Note: On engines equipped with a Jake Brake®, measure valve lash and injector height before removing any brake housings. Only remove the brake housings necessary to provide access for adjustment.
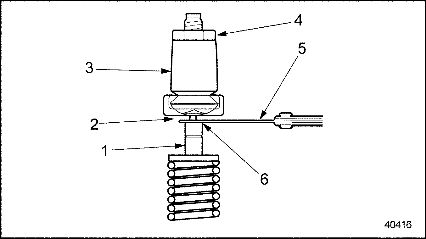
Intake and exhaust valve clearance and fuel injector height are adjusted by means of an adjusting set screw and locknut located at the valve end of the rocker arm. See Figure "Valve and Fuel Injector Rocker Arm Assembly Components" .

|
1. Exhaust Valve |
6. Intake Valve |
|
|
2. Intake Valve |
7. Fuel Injector Follower |
|
|
3. Locknut |
8. Valve Button |
|
|
4. Adjusting Set Screw |
9. Exhaust Valve |
|
|
5. Exhaust Rocker Arm Assembly |
|
Figure 1. Valve and Fuel Injector Rocker Arm Assembly Components
Note: Ensure the height gage seats on the machined surface with the tip in the pilot hole. Foreign material in the pilot hole or on the machined surface may prevent accurate setting of the injector height.
The fuel injector height is measured using the required Injector Height Gage as listed in Table "Checking Tolerance Chart" . On engines equipped with a Jake Brake®, move the handle on the injector height gage to the alternate position, 90 degrees to the shank. A height gage locating hole is provided in the injector body on the machined surface contacted by the injector clamp near the solenoid. See Figure "Using Timing Gage on DDEC II, DDEC III, and DDEC IV" .

Figure 2. Using Timing Gage on DDEC II, DDEC III, and DDEC IV
|
Components ‡ |
Setting Dimensions |
Tolerance † |
|
FUEL INJECTOR HEIGHTS Models: 6067GT40, 6067WT40, 6067WU40,6067GU40, 6063WU00, 6063GU00,6067WU60, 6067GU60, 6067GU91 (All DDEC I and DDEC II / 1986 - 1993) |
78.2 mm (3.079 in.) Use tool J–35637–A |
77.95 - 78.45 mm (3.069 - 3.089 in.) |
|
FUEL INJECTOR HEIGHTS Models: 6064TKXX, 6063TKXX, 6063EKXX, 606XGKXX, 606XWKXX, 606XSKXX (All DDEC III 1994-1997) |
78.8 mm (3.102 in.) Use tool J–39697 32J cam |
77.55 - 79.05 mm (3.053 - 3.112 in.) |
|
FUEL INJECTOR HEIGHTS Models: 6067TKXX, 606XPKXX, 606XGKXX (1997-98 DDEC IV and later 1997 DDEC III) |
80.3 mm (3.161 in.)Use tool J–42665 47J cam |
80.05 - 80.55 mm (3.152 - 3.171 in.) |
|
FUEL INJECTOR HEIGHTS Models: 6067EKXX, 606XBKXX, 606XMKXX, 606XLKXX, 606XHKXX, 606XFKXX (1998 & 1999 DDEC IV) |
81.0 mm (3.189 in.)Use tool J–42749 65J cam 92J cam |
80.75 - 81.25 mm(3.179 - 3.199 in.) |
|
FUEL INJECTOR HEIGHTS Models: § 6067BKXX, MKXX, HKXX 6067MKXX 606XBKXX 606XMKXX |
82.1 mm (3.23 in.) Use tool J–45002 w/101J cam 81.0 mm (3.189 in.) Use tool J–42749 w/92J cam 82.1 mm (3.23 in.) Use tool J–45002 w/107J cam on off-highway units only 82.1 mm (3.23 in.) Use tool J–45002 w/107J cam on off-highway units only |
0.8128 mm (0.032 in.) |
|
FUEL INJECTOR HEIGHTS Models: 6062HKXX, 6062TKXX (2000-2003) |
81.0 mm (3.189 in.) |
80.75 - 81.25 mm 3.179 - 3.199 in.) |
|
INTAKE VALVE CLEARANCE |
0.203 mm(0.008 in.) |
0.127 - 0.280 mm(0.005 - 0.011 in.) |
|
EXHAUST VALVE CLEARANCE - * "U" Models: 6067GT40, 6067WT40, 6067WU40, 6067GU40, 6063XX00, (1986 - 1990 All DDEC I & Early DDEC II) |
0.508 mm(0.020 in.) |
0.432 - 0.584 mm(0.017 - 0.023 in.) |
|
EXHAUST VALVE CLEARANCE - * "H" Models: 606XWUXX, 606XGUXX, 606XXKXX, (1991 - 1999 All DDEC IV, III and later DDEC II) |
0.660 mm(0.026 in.) |
0.584 - 0.736 mm(0.023 - 0.029 in.) |
|
EXHAUST VALVE CLEARANCE - * "H" Models: 6062HKXX, 6062TKXX (2000 - 2003) |
0.711 mm (0.028 in.) |
0.635 - 0.787 mm (0.025 - 0.031 in.) |
*"H" valves have a machined identification ring above the valve lock groove. "U" valves do not. Refer to section 1.4 for valve identification.
† When setting injector heights or valve clearances, the component should be set to the "Setting Dimension" shown.
‡ XX Any character in these positions, set to the adjacent column.
§ Check option label on valve cover for correct setting.
Note: When setting valve lash clearance or injector height, always set them to the dimension listed in Table "Checking Tolerance Chart" .
Adjust the valves and set the fuel injector heights as follows:
- Disconnect starting power for engine.
- Remove the engine valve rocker cover as outlined. Refer to "1.6.2 Removal and Cleaning of One-piece Rocker Cover For Diesel Engines Only" for one-piece, refer to "1.6.3 Removal and Cleaning of Two-piece Rocker Cover For Diesel Engines Only" for two-piece rocker cover, and refer to "1.6.5 Removal and Cleaning of Three-piece Rocker Cover" for three-piece rocker cover.
- Insert a 3/4 in. drive breaker bar or ratchet into the square hole in the center of the crankshaft pulley.
- Bar the engine in the direction of rotation and observe the intake and exhaust valve rollers at any cylinder that is close to TDC (top dead center). See Figure
"Valve Overlap Period"
. Choose a cylinder that has the exhaust valves almost completely closed. Just as the exhaust valves are closing, the intake valves will start to open. This is the valve overlap period.

1. Exhaust Valve Rocker Arm Assembly
4. Rocker Arm Shaft
2. Fuel Injector Rocker Arm Assembly
5. Cylinder Head
3. Camshaft
6. Intake Rocker Arm Assembly
Figure 3. Valve Overlap Period
- Stop engine rotation at the time of valve overlap. Note which cylinder this is, and follow the sequence listed in Table
"Valve Lash and Injector Height Adjustment Sequence"
to correctly set valves and injector heights. The timing can be started with any cylinder in valve overlap.
Cylinder with Valve Overlap
Set Valves on Cylinder No.
Set Injector Height on Cylinder No.
6
1
5
2
5
3
4
3
6
1
6
2
5
2
4
3
4
1
Table 6. Valve Lash and Injector Height Adjustment SequenceNOTICE:
Never set the valves and injector of the same cylinder at the same time. Doing this will result in engine damage.
- To adjust the intake valves, insert a 0.203 mm (0.008 in.) feeler gage between the tip of the valve stem and the valve button at the end of the rocker arm. See Figure
"Intake Valve Adjustment"
.

1. Intake Valve
4. Locknut
2. Valve Button
5. Feeler Gage
3. Intake Rocker Arm Assembly
6. Tip of Intake Valve
Figure 4. Intake Valve Adjustment
- Loosen the locknut, and turn the adjusting set screw until the feeler gage produces an even smooth pull between the valve stem and valve button.
- Torque the locknut to 41 - 47 N·m (30 - 35 lb·ft) and remove the feeler gage. Reinsert the feeler gage to ensure that the adjustment did not change when the locknut was tightened. Readjust as necessary.
- The exhaust valves are adjusted the same way as the intake valves, except use a 0.660 mm (0.026 in.) feeler gage (1991 and later models only). Early models (pre-1991 models) use 0.508 mm (0.020 in.) feeler gage as listed in Table
"Checking Tolerance Chart"
. See Figure
"Exhaust Valve Adjustment"
.

1. Location of Identification Groove
5. Locknut
2. Valve Button
6. Exhaust Rocker Arm Assembly
3. Allen Wrench
7. Feeler Gage
4. Adjusting Screw
8. Tip of Exhaust Valve
Figure 5. Exhaust Valve Adjustment
Note: Effective with all 1991 model year engines, a change was made to the exhaust valve material which requires a different exhaust valve lash setting. Refer to "1.4 Valves, Springs, Guides, Inserts, Seals and Rotators" for exhaust valve identification.
- After each set of intake and exhaust valves is adjusted, adjust the corresponding injector listed in Table "Valve Lash and Injector Height Adjustment Sequence" . Injector height settings and tools are listed in Table "Checking Tolerance Chart" .
- For natural gas applications the valves are adjusted the same way as on the diesel engine, except that a 0.036 in. (0.914 mm) feeler gage is used for exhaust valves and a 0.011 in. (0.279 mm) feeler gage is used for intake valves.
- Adjust the fuel injector height for the engine models in parentheses by placing the small end of the height gage in the hole provided in the fuel injector body, with the flat of the gage toward the fuel injector plunger. See Figure "Using Timing Gage on DDEC II, DDEC III, and DDEC IV" . The injector height settings for Series 60 engines are listed in Table "Checking Tolerance Chart" .
- Loosen the fuel injector rocker arm locknut and turn the adjusting set screw until the extended part (flag) of the gage will just pass over the top of the injector follower. An accurate "feel" will be developed. The objective is to adjust all six injectors to the same feel.
- Torque the locknut to 41 - 47 N·m (30 - 35 lb·ft). Check the adjustment with the height gage and, if necessary, readjust the set screw. Remove the height gage. See Figure
"Fuel Injector Height Adjustment"
.

1. Height Gage Flag
4. Set Screw
2. Height Gage
5. Locknut
3. Allen Wrench (3/16")
6. Fuel Injector Follower
Figure 6. Fuel Injector Height Adjustment
- Refer to the adjusting sequence listed in Table "Valve Lash and Injector Height Adjustment Sequence" and proceed to the next cylinder in the adjustment sequence.
- Bar the engine over in the direction of normal rotation until the next cylinder in the adjustment sequence is in its valve overlap period.
- Repeat the valve adjustment and fuel injector height adjustments procedures until all the valves and fuel injectors have been adjusted.
- Replace the engine rocker cover.
- Reconnect starting power to the engine.
Adjust the valves and N3 fuel injector settings as follows :
- Disconnect starting power for engine.
- Remove the engine valve rocker cover as outlined. Refer to "1.6.2 Removal and Cleaning of One-piece Rocker Cover For Diesel Engines Only" for one-piece, refer to "1.6.3 Removal and Cleaning of Two-piece Rocker Cover For Diesel Engines Only" for two-piece rocker cover, and refer to "1.6.5 Removal and Cleaning of Three-piece Rocker Cover" for three-piece rocker cover.
- Insert a 3/4 in. drive breaker bar or ratchet into the square hole in the center of the crankshaft pulley.
- Bar the engine in the direction of rotation and observe a cylinder where the injector rocker arm is just beginning to depress the injector plunger, both the intake and exhaust valves should be closed.
- Stop turning the engine and mount a magnetic base dial indicator so you can monitor the upward lift of travel of that injector lobe.
- Set the pedestal of the dial indicator on the top of the injector cam roller. Adjust the pedestal so it can travel the entire upward movement of the lobe.
- Continue to slowly bar the engine over in the direction of rotation until the dial indicator shows no more upward lift. The needle of the dial indicator will stop moving indicating maximum lift.
- This is the point of maximum injector roller lift, the injector can now be set.
- If you rotate the engine beyond this point you will have to bar the engine over in the opposite direction at least 1/4 turn and then bar the engine over in the direction of rotation until maximum injector roller lift is obtained.
- Stop engine rotation and note which cylinder this is, and follow the sequence listed in Table
"Valve Lash and N3 Injector Setting Adjustment Sequence"
to correctly set injector and valves.
Max. injector lobe travel on Cylinder No.
Adjust Injector on Cylinder No.
Adjust Valves on Cylinder No.
6
6
2
2
2
4
4
4
1
1
1
5
5
5
3
3
3
6
Table 11. Valve Lash and N3 Injector Setting Adjustment Sequence - This injector can now be set using this procedure:
- Loosen the locknut on the adjusting screw at least two full turns.
- Tighten the adjusting screw until the injector plunger bottoms out, torque value should be 4.51 N·m (40 in·lbs).
- Back the adjusting screw off 3/4 of a turn 0.75 mm ± 0.25 mm (0.03 in.± 0.01in.) and tighten the locknut to 41-47 N·m (30-35 lb·ft).
- The injector is now adjusted.
- Adjust the valves on the corresponding cylinders listed in Table
"Valve Lash and N3 Injector Setting Adjustment Sequence"
.
NOTICE:
Never set the valves and injector of the same cylinder at the same time. Doing this will result in engine damage.
- To adjust the intake valves, insert a 0.203 mm (0.008 in.) feeler gage between the tip of the valve stem and the valve button at the end of the rocker arm. See Figure
"Intake Valve Adjustment"
.

1. Intake Valve
4. Locknut
2. Valve Button
5. Feeler Gage
3. Intake Rocker Arm Assembly
6. Tip of Intake Valve
Figure 7. Intake Valve Adjustment
- Loosen the locknut, and turn the adjusting set screw until the feeler gage produces an even smooth pull between the valve stem and valve button.
- Torque the locknut to 41 - 47 N·m (30 - 35 lb·ft) and remove the feeler gage. Reinsert the feeler gage to ensure that the adjustment did not change when the locknut was tightened. Readjust as necessary.
- The exhaust valves are adjusted the same way as the intake valves, except use a 0.508 mm (0.020 in.) feeler gage see Figure
"Exhaust Valve Adjustment"
.

1. Location of Identification Groove
5. Locknut
2. Valve Button
6. Exhaust Rocker Arm Assembly
3. Allen Wrench
7. Feeler Gage
4. Adjusting Screw
8. Tip of Exhaust Valve
Figure 8. Exhaust Valve Adjustment
- Repeat steps thru until all injectors and valves have been set.
- Install the engine rocker cover.Refer to "1.6.8 Installation of One-Piece Rocker Cover" for a one-piece rocker cover and refer to "1.6.9 Installation of Two-Piece and Three-Piece Rocker Covers" for two and three piece rocker covers.
- Reconnect starting power to the engine.
Section 13.2.1
Slave Piston Adjustment (Jake Brake® Lash)
Refer to information listed in Table "Jake Brake® Models and Slave Piston Settings" for the correct slave piston adjustment specification.
NOTICE: |
|
The slave piston adjustment procedure must be strictly followed. Failure to use the proper adjustment procedure will result in poor engine brake performance, serious engine damage, or both. |
Note: Slave piston clearance settings for the different engine models are not the same.
|
MODEL NUMBER/DISPLACEMENT/MODEL YEAR |
ENGINE BRAKE |
SLAVE PISTON ADJUSTMENT |
|
6067WU40 11.1L PRE - 1991 |
760/760A |
0.660 mm (0.026 in.) |
|
6067GU40 12.7L PRE - 1991 |
760/760A |
0.508 mm (0.020 in.) |
|
6067WU60 11.1L 1991 - 93 |
760A |
0.660 mm (0.026 in.) |
|
6067GU60 12.7L 1991 - 93 |
765 |
0.660 mm (0.026 in.) |
|
6067WK60 11.1L 1994 - 97 |
760A |
0.660 mm (0.026 in.) |
|
6067GK60 12.7L 1994 - 97 |
765 |
0.660 mm (0.026 in.) |
|
6067WK28 11.1L 1994 - 97 |
760A |
0.660 mm (0.026 in.) |
|
6067GK28 12.7L 1994 - 97 |
765 |
0.660 mm (0.026 in.) |
|
6067EK60 11.1L 1998 DDEC IV |
760B |
0.584 mm (0.023 in.) |
|
6067PK60 12.7L 1998 DDEC IV |
765A |
0.584 mm (0.023 in.) |
|
6067TK60 12.7L 1998 DDEC IV |
765A |
0.584 mm (0.023 in.) |
|
6067FK6X, 6067BK6X, 6067HK6X 14L 1999 DDEC IV |
770 |
0.584 mm (0.023 in.) |
|
6067MK6X 12.7L 1999 DDEC IV |
770 |
0.584 mm (0.023 in.) |
|
6067LK6X 11.1L 1999 DDEC IV |
760B |
0.584 mm (0.023 in.) |
|
6067MK28, 6067MK45, 6067MK57, 6067MK60 — 12.7L Standard — 2000 |
790 |
0.660 mm (0.026 in.) |
|
6067BK28, 6067BK45, 6067BK57, 6067BK60 — 12.7L Premium – 2000 |
790 |
0.660 mm (0.026 in.) |
|
6067HK45, 6067HK60 — 14L U.S. — 2000 |
790A |
0.660 mm (0.026 in.) |
|
6067WK28, 6067WK60 — 11.1L — 2000 |
790B |
0.660 mm (0.026 in.) |
|
6067LK28, 6067LK45, 6067LK60 — 11.1L — 2000 |
790B |
0.660 mm (0.026 in.) |
|
6063GK60, 6067GK28, 6067GK45, 6067GK91, 6067PK62, 6067TK28, 6067TK60, 6067TK62 — 12.7L — 2000 |
790B |
0.660 mm (0.026 in.) |
|
6067HK62 — 14L Australian — 2000 |
790C |
0.660 mm (0.026 in.) |
|
6067MK28, 6067MK45, 6067MK57, 6067MK60 — 12.7L Standard — 2000 |
795 |
0.813 mm (0.032 in.) |
|
6067BK28, 6067BK45, 6067BK57, 6067BK60 — 12.7L Premium – 2000 |
795 |
0.813 mm (0.032 in.) |
|
6067HK45, 6067HK60 — 14L U.S. — 2000 |
795 |
0.813 mm (0.032 in.) |
|
6067WK28, 6067WK60 — 11.1L — 2000 |
795 |
0.813 mm (0.032 in.) |
|
6067LK28, 6067LK45, 6067LK60 — 11.1L — 2000 |
795 |
0.813 mm (0.032 in.) |
|
6063GK60, 6067GK28, 6067GK45, 6067GK91, 6067PK62, 6067TK28, 6067TK60, 6067TK62 — 12.7L — 2000 |
795 |
0.813 mm (0.032 in.) |
|
6067HK62 — 14L Australian — 2000 |
795 |
0.813 mm (0.032 in.) |
|
6067HK2E, 6067HK6E 14L— 2003 |
797 |
0.508 mm (0.020 in.) |
|
6067MK2E, 6067MK6E 12.7L— 2003 |
797 |
0.508 mm (0.020 in.) |
|
6067HV2E, 6067HV6E 14L— 2004 |
797 |
0.508 mm (0.020 in.) |
|
6067MV2E, 6067MV6E 12.7L— 2004 |
797 |
0.508 mm (0.020 in.) |
X= Any digit.
Note: Make the following adjustment with the engine stopped and cold with oil temperature 60°C (140°F) or below. The exhaust valves on the cylinder to be adjusted must be in the closed position (rocker arm loose).
Adjustments must be made with the engine stopped and cold with the oil temperature at 60°C (140°F) or below. Exhaust valves on the cylinder must be in the closed position (rocker arm roller should be on the base circle of the camshaft).
NOTICE: |
|
The slave piston adjustment procedure must be followed exactly. Failure to properly adjust Jake Brakes® will result in inefficient engine brake performance and may lead to severe engine or Jake Brake® damage. |
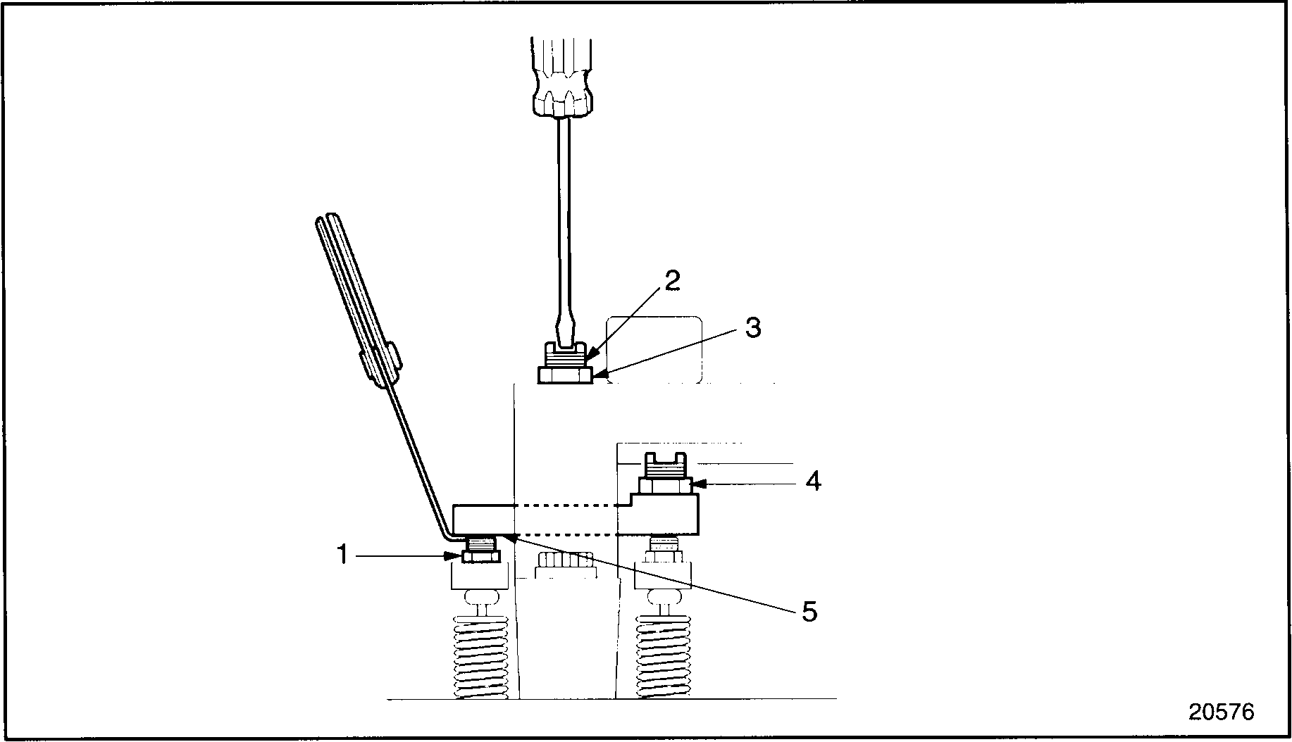
- Back out the bridge leveling screw in the slave piston assembly until the end of the screw is beneath the surface of the bridge in the slave piston assembly. See Figure
"Adjusting Slave Piston Screw-Except 790/795"
.

1. Rocker Arm Adjusting Screw and Locknut
4. Bridge Leveling Screw Locknut
2. Slave Piston Adjusting Screw
5. Bridge
3. Locknut
Figure 9. Adjusting Slave Piston Screw-Except 790/795
- Place the required feeler gage listed in Table
"Jake Brake® Models and Slave Piston Settings"
between the solid side of the bridge (the side without the leveling screw) and the exhaust rocker arm adjusting screw.
Note: The slave piston adjusting screws used in the Series 60 engine brake prior to August 1994 were reset screws. Reset screws are not to be dissembled in the field. Effective with August 1994 engines, reset screw assemblies were replaced with Power-Lash® assemblies.
Power-Lash® is a registered trademark of Jacobs Vehicle Systems™. - Turn the slave piston adjusting screw clockwise until a light drag is felt on the feeler gage.
- Hold the screw in this position and torque the locknut to 34 N·m (25 lb·ft). Remove the feeler gage.
- Place the feeler gage from step 4 between the leveling screw and the rocker arm adjusting screw. Turn the leveling screw clockwise until a light drag is felt on the feeler gage. See Figure
"Adjusting Leveling Screw"
.

Figure 10. Adjusting Leveling Screw
- Hold the leveling screw in this position and torque the locknut to 47 N·m (35 lb·ft).
- Repeat the adjustment procedures in steps 1 through 6 for the remaining cylinders. Rotate the engine when necessary to put the exhaust valves in the closed position for slave piston adjustment.
Adjust Model 790/795 Jake Brake® slave piston lash as follows:
- Turn in the adjusting screw until the solid side of the slave piston bridge assembly, contacts the exhaust valve and the valve springs begin to compress, then turn in one additional turn.
Note: Wait at least 30 seconds for oil to be purged from the J-Lash adjusting screw. If oil is below room temperature (below 16 °C [60°F]), wait at least two minutes for oil to be purged from the J-Lash adjusting screw.
NOTICE:
Serious engine damage may occur from improper lash setting.
- Using a 3/16 in. hex wrench, back out the adjusting screw ONLY until the correct size feeler gage (listed in Table
"Jake Brake® Models and Slave Piston Settings"
) can be inserted between the solid side of the slave piston bridge assembly and the exhaust valve. See Figure
"Setting Slave Piston Lash"
.

1. J-Lash Adjusting Screw
3. Exhaust Valve Spring
2. Slave Piston
Figure 11. Setting Slave Piston Lash
- Adjust the adjusting screw so that a light drag is felt on the feeler gage. Do not back out the adjusting screw more than required to obtain a light drag on the feeler gage. Use a screwdriver to hold the adjusting screw in place and torque the lock nut to 38 N·m (28 lb·ft.). See Figure
"Setting Slave Piston Lash"
.
Note: If the J-Lash adjusting screw is backed out until it no longer compresses the slave piston spring, oil will enter the screw and the adjustment will be incorrect. If this occurs, repeat step 2 and step 3 .
Note: For Model 795 applications, skip to step 4 .
- Hold the solid adjusting screw in place and torque the locknut to 38 N·m (28 lb·ft).
-
Recheck lash settings. If lash setting is incorrect, repeat step 1
through step 3
.
Note: Once the engine brake has been run, you will not be able to check the engine brake adjustments for engines using J-Lash™ adjusting screws. This is due to oil retained in the J-Lash™ adjusting screw. If unsure of the adjustment, repeat step 1 and step 4 .
- Repeat step 1 through step 5 for the remaining slave piston on the same cylinder.
- Repeat step 1
through step 5
for the remaining cylinders.

EYE INJURY
To avoid injury from oil spray, wear adequate eye protection (face shield or safety goggles) when performing the oil test procedure.

FIRE
To avoid injury from fire, contain and eliminate leaks of flammable fluids as they occur. Failure to eliminate leaks could result in fire.
- Install all remaining components that were removed for this procedure.
Note: Ensure that all wires are away from moving parts.
- Complete the installation by installing the rocker cover. Refer to "1.6 Rocker Cover" .
- Start and drive the vehicle to verify proper Jake Brake® performance.
| Series 60 Service Manual - 6SE483 |
| Generated on 10-13-2008 |