Section 7.1
Overview of Exhaust Manifold Components
There are five exhaust manifold configurations available for Off-Highway engines.
- Standard three-piece with fey rings (see Figure "Standard Three-Piece Exhaust Manifold with Fey Rings" )
- High mount three-piece with fey rings (see Figure "High Mount Three-Piece Exhaust Manifold with Fey Rings " )
- Three-piece without fey rings (see Figure "Three-Piece Exhaust Manifold without Fey Rings" )
- Three-piece thermal wrapped (see Figure "Three-Piece Thermal-Wrapped Exhaust Manifold and Gasket Configuration" )

|
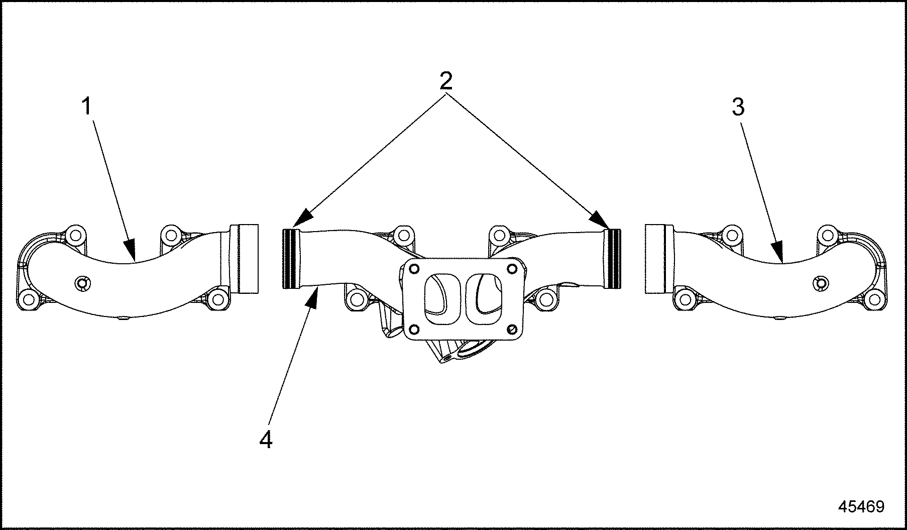
1. Rear Exhaust Manifold |
3. Front Exhaust Manifold |
|
2. Fey Rings |
4. Center Exhaust Manifold |
Figure 1. Standard Three-Piece Exhaust Manifold with Fey Rings

|
1. Rear Exhaust Manifold |
3. Front Exhaust Manifold |
|
2. Fey Rings |
4. Center Exhaust Manifold |
Figure 2. High Mount Three-Piece Exhaust Manifold with Fey Rings

Figure 3. Three-Piece Exhaust Manifold without Fey Rings

Numbers indicate torque sequence.
Figure 4. Three-Piece Thermal-Wrapped Exhaust Manifold and Gasket Configuration
| Series 60 Service Manual - 6SE483 |
| Generated on 10-13-2008 |