Section 3.7
Thermatic Oil Control Valve
A dual spin-on lube oil filter adaptor assembly with a temperature-sensitive thermatic oil control valve is available on Series 60, 11.1L low compression (15:1) automotive engines and certain 12.7L engines. See Figure "Thermatic Oil Control Valve" .

|
1. Thermatic Oil Control Valve |
5. Insert, Full-Flow to Adaptor |
|
2. O-ring, Adaptor to Block |
6. Oil Filter, Full-Flow (2) |
|
3. O-ring, Adaptor to Block |
7. Oil Filter Adaptor |
|
4. Pipe Plugs (5) |
|
Figure 1. Thermatic Oil Control Valve
The thermatic oil control valve is installed in the oil filter adaptor assembly where it operates like a thermostat to control the flow of lube oil through the engine and oil cooler. The thermatic oil control valve operates in the following manner: See Figure "Thermatic Oil Control Valve Operation" .

Figure 2. Thermatic Oil Control Valve Operation
At lube oil temperature below 104°C (220°F) the thermatic oil valve stays in the bypass mode. Filtered engine oil bypasses the oil cooler and flows directly to the main oil gallery. With no oil passing through the oil cooler, engine oil warms up rapidly. When oil temperature is between 104° -108°C (220° -227°F) the thermatic oil valve begins to open. The valve senses oil temperature and modulates oil both through and around the oil cooler. At oil temperatures of 114°C (237°F) the thermatic oil valve is fully open, and all oil flows through the oil cooler. To test the valve refer to "3.7.2.2 Testing Thermatic Oil Control Valve" .
Use of the thermatic oil control valve allows the engine lube oil to reach its normal temperature range quickly, reducing the amount of time during which the engine operates on heavier cold engine lube oil. During light load engine operation, the thermatic valve keeps the oil within the proper temperature range for optimum lubrication. By maintaining the engine oil temperature within the 104° -114°C (220° -237°F) range, friction and pumping losses are minimized, resulting in more efficient engine operation.
Section 3.7.1
Repair or Replacement of Thermatic Oil Control Valve
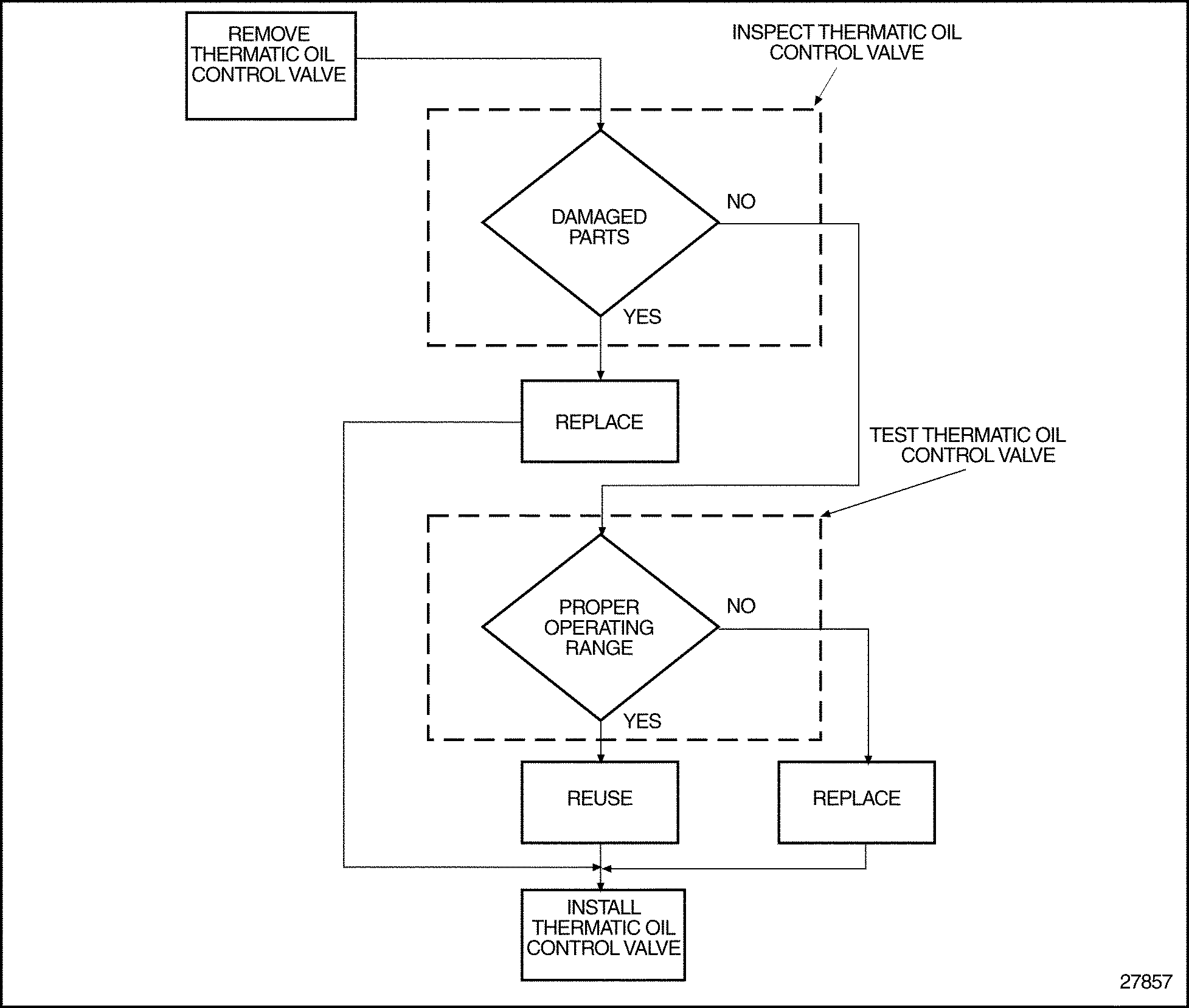
To determine if repair is possible or replacement is necessary, perform the following procedure. See Figure "Flowchart for Repair or Replacement of Thermatic Oil Control Valve" .

Figure 3. Flowchart for Repair or Replacement of Thermatic Oil Control Valve
Section 3.7.2
Removal and Cleaning of Thermatic Oil Control Valve
Remove the thermatic oil control valve as follows:
NOTICE: |
|
Use care when removing oil filter adaptor assembly so as not to drop thermatic oil control valve from inside of oil filter adaptor assembly, if engine is so equipped. |
- Remove the oil filter adaptor. Refer to "3.6.2 Removal of Oil Filter Adaptor" .
- Remove the thermatic oil valve from oil filter adaptor.
- Clean the thermatic oil control valve in clean fuel oil.

EYE INJURY
To avoid injury from flying debris when using compressed air, wear adequate eye protection (face shield or safety goggles) and do not exceed 276 kPa (40 psi) air pressure.
- Dry thermatic oil control valve with compressed air.
Section 3.7.2.1
Inspection of Thermatic Oil Control Valve
Inspect the thermatic oil control valve as follows:
Inspect the thermatic oil control valve as follows:
- Inspect the thermatic oil control valve for wear.
- If wear is found, replace the thermatic oil control valve.
- If no wear is found, reuse the thermatic oil control valve.
- Inspect the thermatic oil control valve for damage.
- If damage is found, replace the thermatic oil control valve.
- If no damage is found, reuse the thermatic oil control valve.
Section 3.7.2.2
Testing Thermatic Oil Control Valve
Check the operation of the thermatic oil control valve as follows:
NOTICE: |
|
Ensure thermatic oil control valve is operational. If the thermatic oil control valve motion becomes impaired, engine overheating may result. An engine that has overheated may also cause the thermatic oil control valve to become inoperative. A thermatic oil control valve that does not fully open may cause overheating. A thermatic oil control valve stuck in the open position may cause poor fuel economy in cold starting conditions. |
- Immerse a thermometer and the thermatic oil control valve in a container with clean engine oil. Do not allow thermometer or thermatic oil control valve to touch the sides of the container. See Figure
"Checking Thermatic Oil Control Valve Operation"
.

Figure 4. Checking Thermatic Oil Control Valve Operation

FIRE
To avoid injury from combustion of heated lubricating-oil vapors, stop the engine immediately if an oil leak is detected.

FIRE
To avoid injury from fire, do not smoke or allow open flames when working on an operating engine.

FIRE
To avoid injury from fire from a buildup of volatile vapors, keep the engine area well ventilated during operation.

EYE INJURY
To avoid injury from oil spray, wear adequate eye protection (face shield or safety goggles) when performing the oil test procedure.
- While slowly agitating the clean engine oil to maintain an even temperature, apply heat to the container. Allow at least 10 minutes for the thermatic oil control valve to react before determining if it is opening at the correct temperature range.

SCALDING
To avoid injury from scalding, use lifting tools and wear heat-resistant gloves when retrieving the thermostat from boiling water.
- As the mixture is heated, the thermatic oil control valve should begin to open. (The normal opening temperature is stamped on the thermostat.) The start-to-open temperature range is 104-107°C (220-225°F). The thermostat is fully opened to 8.13 mm (0.320 in.) at 114°C (237°F).
- If the thermatic oil control valve does not operate properly, replace.

EYE INJURY
To avoid injury from flying debris when using compressed air, wear adequate eye protection (face shield or safety goggles) and do not exceed 276 kPa (40 psi) air pressure.
- If the thermatic oil control valve operates properly, dry with compressed air and apply a thin coat of lubricating oil to protect surfaces from corrosion.
Section 3.7.3
Installation of Thermatic Oil Control Valve
Install the thermatic oil control valve as follows:
Note: If the thermatic oil control valve dislodges from the oil filter adaptor during installation and falls to the ground, ensure valve is undamaged and is free of dirt and debris before continuing with installation.
- Apply light coating of petroleum jelly on underside of thermatic oil control valve upper lip to aid in installation.
- Insert beveled end of thermatic oil control valve into oil filter adaptor.
- Install oil filter adaptor onto block. Be careful not to dislodge thermatic oil control valve from oil filter adaptor. Refer to "3.6.4 Assembly of Oil Filter Adaptor" .
- Refer to "12.3 Running" for verification of proper oil filter adaptor installation.
| Series 60 Service Manual - 6SE483 |
| Generated on 10-13-2008 |