Section 1.11
Gear Case Cover Exhaust Gas Recirculation (EGR) Model
The gear case cover and gear case bolt together at the front of the engine to form a sealed compartment for the engine gear train. See Figure "Engine Gear Case and Cover Series 60 EGR Model" .

Figure 1. Engine Gear Case and Cover Series 60 EGR Model
The gear case cover also serves as a retainer for the crankshaft front oil seal. See Figure "Crankshaft Front Oil Seal" .

|
1. Oil Seal |
Figure 2. Crankshaft Front Oil Seal
The front engine support is bolted to the front of the gear case cover, directly behind the crankshaft pulley and the vibration damper. See Figure "Front Engine Support" .

|
1. Front Engine Mount |
2. Bolt |
Figure 3. Front Engine Support
Components that are mounted to the gear case cover include the fan bracket and accessory drive assembly. See Figure "Gear Case Cover Mounted Components EGR Model" .

|
1. Accessory Drive Assembly |
3. (Optional) Power Steering Pump Location |
|
2. Fan Support Bracket |
Figure 4. Gear Case Cover Mounted Components EGR Model
Access covers are provided on the gear case cover for service of the engine without removing the gear case cover. Removal of the fan support bracket provides access to the adjustable idler gear. With the fan support bracket and camshaft drive gear access cover removed, the gear lash between the adjustable idler gear and the camshaft drive gear can be measured and adjusted. Refer to "1.25.2.2 Engine Timing for the Compact Gear Train Assembly" . See Figure "Gear Case Cover Fan Bracket and Camshaft Access Cover" .

Figure 5. Gear Case Cover Fan Bracket and Camshaft Access Cover
Section 1.11.1
Repair or Replacement of Gear Case Cover
To determine if repair is possible or replacement is necessary, perform the following procedure. See Figure "Flowchart for Repair or Replacement of Gear Case Cover" .

Figure 6. Flowchart for Repair or Replacement of Gear Case Cover
Section 1.11.2
Removal of Gear Case Cover
With the engine on an overhaul stand, remove the gear case cover as follows:
- Drain engine coolant. Refer to "14.6.4 Cooling System" .
- Drain engine oil. Refer to "14.6.1 Lubricating Oil" .
- Loosen the fan hub mounting bolts. Loosen the fan adjusting bolt. Back the adjuster off far enough to remove the drive belts. Remove the fan and fan hub assembly. Refer to "4.6.2 Removal of Engine Cooling Fan" .
- For engines equipped with a fan support bracket, remove nine fan support bolts and remove fan support. See Figure
"Fan Support Bolt Locations"
.

Figure 7. Fan Support Bolt Locations
- For engines equipped with a cover plate, remove four bolts securing the cover and gasket to gear case cover. See Figure
"Cover Plate and Related Parts"
.

1. Bolt
3. Gasket
2. Cover
Figure 8. Cover Plate and Related Parts
- Rotate engine until cylinder No.1 is at TDC; install timing pin (J–45947)
into the slot in crankshaft.

1. Timing Pin
Figure 9. Timing Pin Location
- Remove Exhaust Gas Recirulation (EGR) delivery pipe. Refer to "8.3.1 Removal of Delivery Pipe" .
- Remove rocker covers. For one-piece rocker coverrefer to "1.6.2 Removal and Cleaning of One-piece Rocker Cover For Diesel Engines Only" . For two-piece rocker coverrefer to "1.6.3 Removal and Cleaning of Two-piece Rocker Cover For Diesel Engines Only" . For three-piece rocker coverrefer to "1.6.5 Removal and Cleaning of Three-piece Rocker Cover" .
- Remove Jake Brake® assemblies.Refer to "1.36 Jake Brake" .
- Remove rocker arm assemblies.Refer to "1.3.2 Removal of Rocker Arm Assembly" .
- Remove Synchronous Reference Sensor (SRS) from camshaft gear assembly cover.Refer to "2.30 Synchronous Reference Sensor Gear Case Mounted" .
- Remove camshaft gear assembly using tool J–46305 . Refer to "1.28 Camshaft and Camshaft Bearing" .
- Remove oil pan.Refer to "3.11 Oil Pan" .
- Remove alternator and alternator bracket from gear case cover and gear case.Refer to "9.2 Battery Charging Alternator" .
- Remove the crankshaft pulley.Refer to "1.15 Crankshaft Pulley" .
- Remove vibration damper and hub. Refer to "1.14.2 Cleaning and Removal of Crankshaft Vibration Damper" .
- Remove the front engine support by removing the four bolts securing the front engine support to the gear case cover. See Figure
"Front Engine Support"
.

1. Front Engine Support
2. Bolt
Figure 10. Front Engine Support
- Remove timing pin bracket.
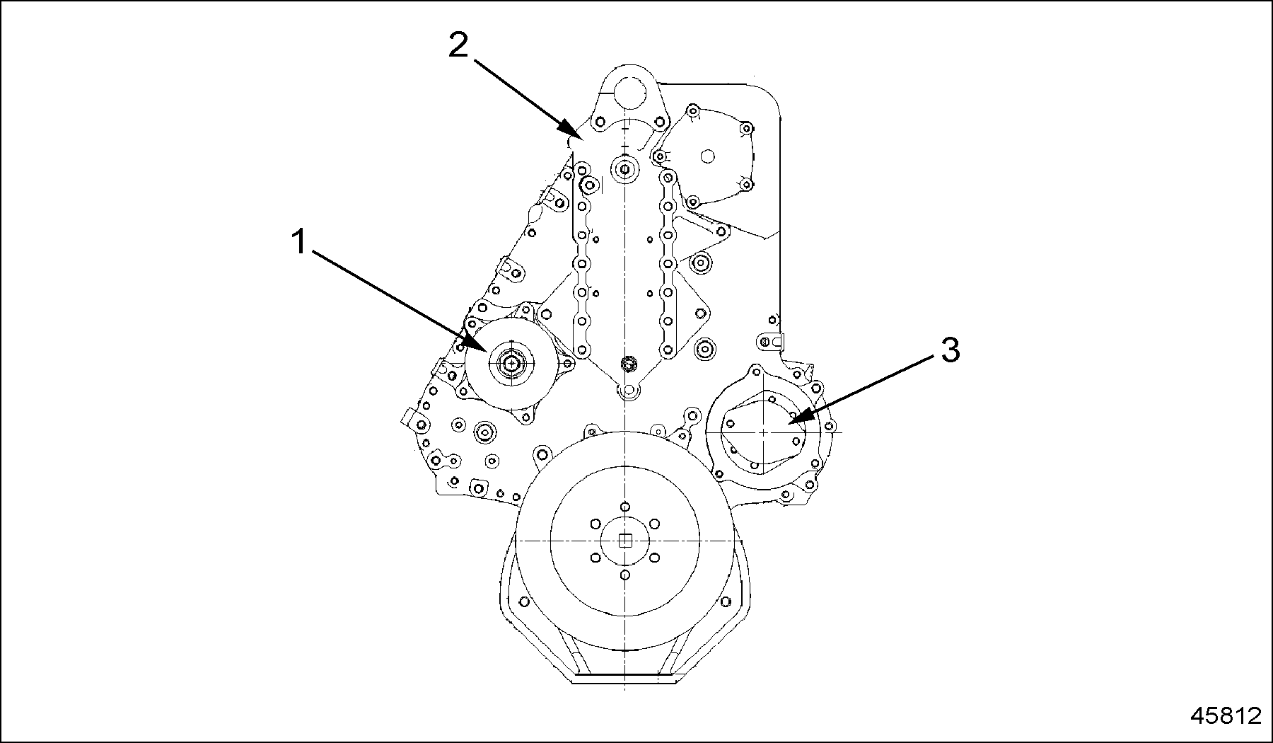
- Loosen and remove the five bolts that secure the accessory drive assembly to the gear case cover. See Figure
"Accessory Drive and Related Parts"
.

1. Bolt
3. O-ring
2. Accessory Drive
Figure 11. Accessory Drive and Related Parts
- Remove accessory drive by pulling it straight out of the gear case cover to avoid damaging the rubber O-ring.
- Remove fuel pump.Refer to "2.8 Fuel Pump With One-Piece Drive Shaft and Hub Assembly" .
- Remove air compressor.Refer to "11.1 Air Compressor (Vehicle Applications Only)"
.
Note: Ensure water pump bolt at the six O”clock position is removed for gear case cover removal.

1. Bolt
3. Air Compressor
2. Gear Case
Figure 12. Air Compressor Bolt Location
- Remove the 21 bolts securing gear case cover to gear case; remove gear case cover see Figure
"Gear Case Cover Bolt Locations"
.

Figure 13. Gear Case Cover Bolt Locations
Section 1.11.2.1
Inspection of Gear Case Cover EGR Model
Inspect the gear case cover as follows:
- Clean all of the old gasket sealer from the mating surfaces of the gear case and gear case cover. Refer to “Cleaning” in the GENERAL INFORMATION "General Information" Section.
- Clean the gasket sealer from the mating surfaces of any components or access covers that were removed from the gear case cover, and the gear case cover itself.

EYE INJURY
To avoid injury from flying debris when using compressed air, wear adequate eye protection (face shield or safety goggles) and do not exceed 276 kPa (40 psi) air pressure.
- Clean all of the removed parts, except the electrical components, with clean fuel oil and dry with compressed air.
Note: Any time the gear case cover is removed, the crankcase oil seal must be replaced. Install the new front oil seal after the gear case cover has been installed to the engine.
- If necessary, remove the crankshaft front oil seal at this time. Refer to "1.8.2 Removal of Front or Rear Crankshaft Oil Seal (Gear Case Cover or Flywheel Housing Removed)" . Inspect the gear case cover for stress cracks or breaks in the casting. Repair or replace as necessary.
- Inspect all O-rings for signs of dryness or splitting. Replace as necessary.
Section 1.11.3
Installation of Gear Case Cover EGR Model
Perform the following steps for gear case cover installation:
- Apply a continuous bead of Loctite® 518 (gasket eliminator) or equivalent to the mating surface of the gear case.
Note: Gasket eliminator cures with the absence of air. The length of time between gear case cover installation and torquing the bolts that secure the gear case cover to the gear case should be kept to a minimum.
Note: Ensure seal is installed in the rear of thr gear case cover
- Install two guide studs ( J–36107)
to the gear case. See Figure
"Gear Case and Gear Case Cover"
.

1. Gear Case Cover
4. Gear Case
2. Guide Studs
5. Gear Case Alignment Dowel
3. Gear Case Alignment Dowel
Figure 14. Gear Case and Gear Case Cover
- Position the gear case cover onto the guide studs and slide gear case cover to the mating surface of gear case. Index the two dowels in the gear case. See Figure "Gear Case and Gear Case Cover" .
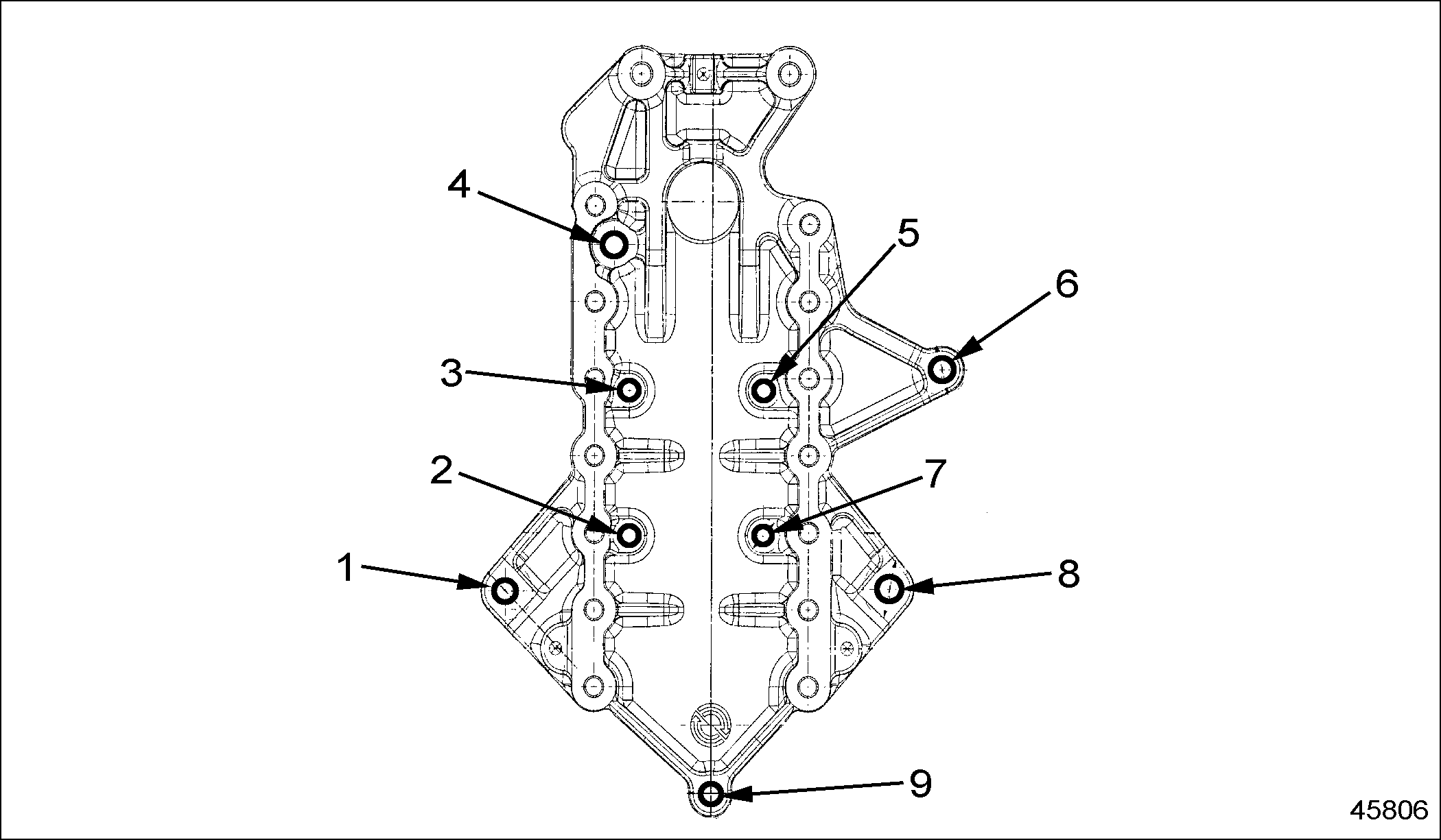
- There are 21 bolts that secure the gear case cover to the gear case. Torque gear case cover bolts No.1 through 19 to 58-73 N·m (43-54 lb·ft) and torque bolts 20 and 21 to 102-126 N·m (73-93 lb·ft). See Figure
"Gear Case Cover Torque Specifications and Torque Sequence"
.

Figure 15. Gear Case Cover Torque Specifications and Torque Sequence
- Install water pump assembly. Refer to "4.2.8 Installation of Water Pump (GCM)" .
- Install accessory drive.Refer to "1.35.5 Installation of the Accessory Drive" .
- Install air compressor.Refer to "11.1 Air Compressor (Vehicle Applications Only)" .
- Install fuel pump.Refer to "2.8 Fuel Pump With One-Piece Drive Shaft and Hub Assembly" .
- Install timing pin bracket to gear case cover with two bolts and torque bolts to 30-38 N·m (22-28 lb·ft). See Figure
"Timing Pin Bracket and Related Parts"
.

1. Bolt
2. Timing Pin Bracket
Figure 16. Timing Pin Bracket and Related Parts
- Install engine front mount to gear case cover. Torque four bolts to 160-200 N·m (118-148 lb·ft). See Figure
"Engine Front Mount"
.

1. Front Mount
2. Bolts
Figure 17. Engine Front Mount
- Install a new front crankshaft seal.Refer to "1.8.5 Installation of Front and Rear Crankshaft Oil Seal and Wear Sleeve" .
- Install vibration damper to crankshaft; refer to "1.14.3 Installation of Crankshaft Vibration Damper" .
- Install crankshaft pulley; refer to "1.15.3 Installation of Crankshaft Pulley"
.See Figure
"Crankshaft Pulley and Vibration Damper"
.

1. Bolt
3. Crankshaft Pulley
2. Washer
4. Vibration Damper
Figure 18. Crankshaft Pulley and Vibration Damper
- Rotate engine to TDC; install timing pin (J–45947) into slot in crankshaft.
- Install camshaft gear assembly; refer to "1.26.5 Installation of Camshaft Bearings and Camshaft Gear Assembly" .
- Measure and adjust gear lash;refer to "1.25.2.2 Engine Timing for the Compact Gear Train Assembly" .
- Install rocker arm assemblies.Refer to "1.3.3 Installation of Rocker Arm Shaft Assembly" .
- Adjust valve lash. Refer to "13.2 Valve Lash, Injector Height (Timing) and Jake Brake® Lash Adjustments" .
- Install Jake Brake® assemblies.Refer to "1.36.5 Installation of Model 760, 765, or 770 Jake Brake" .
- Adjust Jake Brake assemblies. Refer to "1.36 Jake Brake" .
- Install rocker covers; for one-piece refer to "1.6.8 Installation of One-Piece Rocker Cover" ; for two-and three-piecerefer to "1.6.9 Installation of Two-Piece and Three-Piece Rocker Covers" .
- Install EGR delivery pipeRefer to "8.3.4 Installation of Delivery Pipe"
.
Note: If engine is not equipped with a fan hub install cover plate and gasket, torque four bolts to 30-38 N·m (22-28 lb·ft). See Figure "Cover Plate and Related Parts" .

1.Bolt
3. Gasket
2. Cover Plate
Figure 19. Cover Plate and Related Parts
- If equipped install fan support bracket. Torque bolts F1, F3 and F5 to 102-126 N·m (75-93 lb·ft), torque bolts F2 and F4 to 160-201 N·m (118-148 lb·ft) and torque bolts F6-F9 to 30-38 N·m (22-28 lb·ft). See Figure
"Fan Bracket Bolt Locations"
.

Figure 20. Fan Bracket Bolt Locations
- Install engine oil pan. Refer to "3.11.4 Installation of Oil Pan" . Fill the crankcase with recommended lubricating oil.Refer to "14.6.1 Lubricating Oil" .
| Series 60 Service Manual - 6SE483 |
| Generated on 10-13-2008 |