Section 3.1
Overview of Lubricating System
The lubrication system consists of the following components:
- Oil Pump
- Pressure Relief Valve
- Oil Filter
- Oil Filter Adaptor
- Oil Cooler
- Oil Level Dipstick
- Oil Pan
- Ventilating System
- Piston Cooling
- Camshaft Oil Cooler
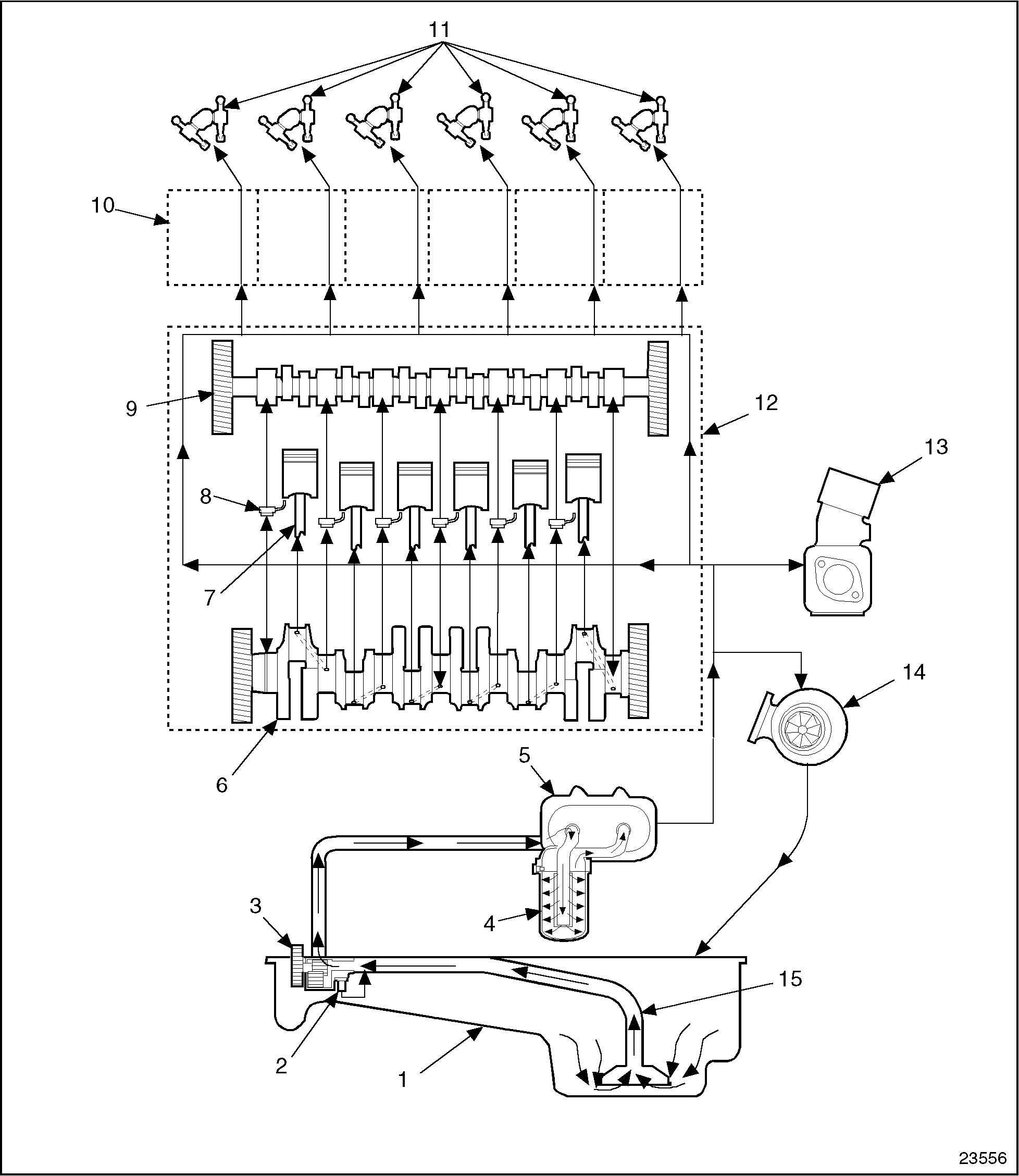
Oil leaving the oil pump is forced through the full-flow filter to the oil cooler and then into the oil gallery in the cylinder block. From there it is distributed to the various engine bearings and moving parts.
A schematic of the lubricating system is shown in the following illustration. See Figure "Lubrication System Schematic Diagram" .

|
1.Oil Pan |
9.Camshaft |
|
2.Oil Pressure Relief Valve |
10.Cylinder Heads |
|
3.Oil Pump Assembly |
11.Rocker Arm Assemblies |
|
4.Oil Filter |
12.Cylinder Block |
|
5.Oil Cooler Assembly |
13.Air Compressor Assembly |
|
6.Crankshaft |
14.Turbocharger |
|
7.Piston and Connecting Rod Assembly |
15.Oil Pickup Tube and Screen Assembly |
|
8.Piston Oil Nozzle |
16.Camshaft Oil Nozzle |
Figure 1. Lubrication System Schematic Diagram
| Series 55 Service Manual - 6SE55 |
| Generated on 10-13-2008 |