Section 2.3
Injector Fuel Nozzle
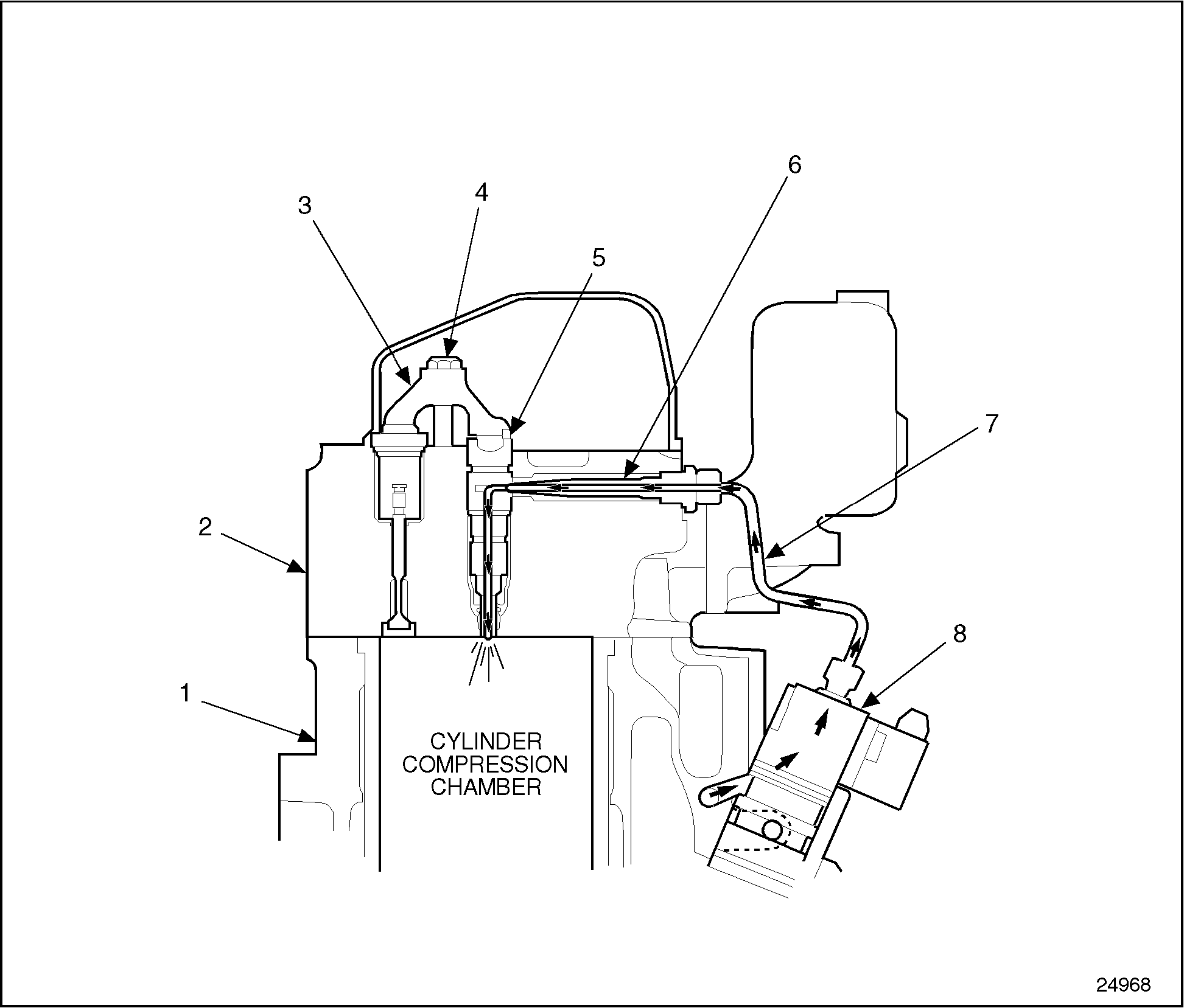
The injector nozzle provides fuel to the cylinder compression chamber. The fuel is atomized and injected under pressure. See Figure "Fuel Injector Flow Diagram" .

|
1.Cylinder Block |
5.Injector Nozzle |
|
2.Cylinder Head |
6.Internal Injector Line |
|
3.Nozzle Hold Down Crab |
7.High Pressure Fuel Line |
|
4.M10 Bolt |
8.Electronic Unit Pump |
Figure 1. Fuel Injector Flow Diagram
Section 2.3.1
Repair or Replacement of Injector Fuel Nozzle
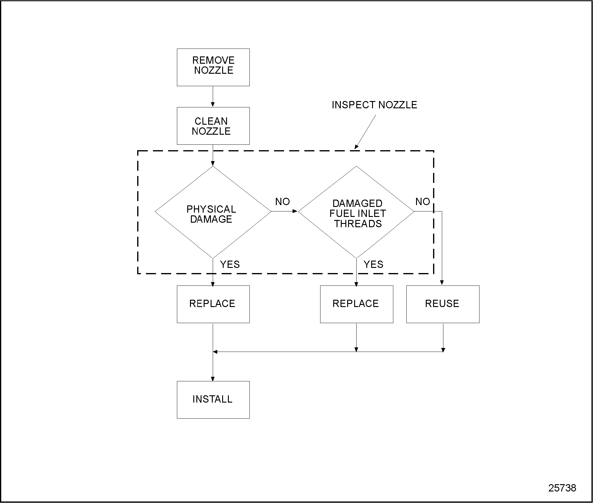
The injector fuel nozzle is not serviceable and must be replaced as an assembly.
To replace the injector fuel nozzle, refer to "2.3.2 Cleaning and Removal of Injector Fuel Nozzle" . See Figure "Fuel Nozzle Replacement Flowchart" .

Figure 2. Fuel Nozzle Replacement Flowchart
Section 2.3.2
Cleaning and Removal of Injector Fuel Nozzle
Pre-cleaning is not necessary. Remove the fuel nozzle as follows:
- Remove external high pressure line.
- Remove retainer nut.
- Remove internal injector fuel line. See Figure "Fuel Nozzle Assembly Removal" .
- Remove hold down crab. See Figure
"Fuel Nozzle Assembly Removal"
.

1.Injector Hold Down Crab
6.Copper Seal
2.M10 Bolt
7.Cylinder Head
3.Slide Hammer
8.Internal Injection Line
4.Injector Nozzle
9.Retaining Nut
5.Cylinder Head O-ring
Figure 3. Fuel Nozzle Assembly Removal
- Pull out nozzle holder assembly using the fuel nozzle puller adaptor, J 41570.
- Remove and discard copper seal from fuel nozzle. See Figure "Fuel Nozzle Assembly Removal" .
- Remove O-ring from nozzle holder assembly and discard.
Section 2.3.2.1
Inspection of Fuel Nozzle
Inspect the fuel nozzle as follows:
Note: Do not test new fuel injector nozzles prior to installation in the engine. The Kent-Moore® POP stand or Bosch® injector nozzle tester should only be used as diagnostic tools on nozzles that have been removed from an engine.
|
|
|
To avoid injury from flying debris when using compressed air, wear adequate eye protection (face shield or safety goggles) and do not exceed 40 psi (276 kPa) air pressure. |
- Clean the fuel nozzle with solvent, and dry it with compressed air.
- Inspect the fuel nozzle for signs of damage.
- If damage is detected, replace the fuel nozzle. See Figure
"Fuel Nozzle Testing Procedure"
.

1.Fuel Nozzle
2.Fuel Test Line
Figure 4. Fuel Nozzle Testing Procedure
Section 2.3.3
Installation of Fuel Nozzle
Perform the following steps to install the fuel nozzle:
Note: Do not test new fuel injector nozzles prior to installation in the engine. The Kent-Moore® POP stand or Bosch® injector nozzle tester should only be used as diagnostic tools on nozzles that have been removed from an engine.
- Install fuel nozzle in the cylinder head. (Install copper seal first, and treat O-ring with ATE-grease. Pay attention to orientation of the nozzle holder assembly to high pressure tube. See Figure
"Fuel Nozzle Assembly Installation"
.

1.Injector Nozzle Hold Down Crab
5.Copper Seal
2.Bolt
6.Cylinder Head
3.Nozzle Holder Assembly
7.Internal Injection Line
4.Cylinder Head O-ring
8.Retaining Nut
Figure 5. Fuel Nozzle Assembly Installation
- Insert copper seal.
- Install new O-ring and apply ATE grease.
NOTICE:
Orient the fuel nozzle holder to the high pressure tube. If alignment is not correct, the nozzle holder assembly will not function correctly.
- Install nozzle holder assembly hold down bracket with M10 screw, and torque to 60 N · m (44 lb · ft).
- Install high pressure tube.
- Install hollow nut, and torque to 35 N · m (26 lb · ft).
- Install injection line, and torque to 25 N · m (18 lb · ft).
Note: If single piece fuel line is used torque both nuts to 27 N · m (20 lb · ft).
| Series 55 Service Manual - 6SE55 |
| Generated on 10-13-2008 |