Section 2.47
Fuel Filter Type for the Series 50G Engine
The primary (High Pressure) natural gas filter and secondary (Low Pressure) natural gas filter must be a coalescing 0.3 micron @ 99.97% efficiency fuel filter. Detroit Diesel recommended filters include the following:
- Racor — fuel filter 23529393 for use only with fuel filter housing FFC-113
- Racor — fuel filter 23529394 for use only with fuel filter housing FFC-114
The high pressure gas filter is mounted between the manual shutoff valve and the DDEC controlled shutoff valve.
Section 2.47.1
Replacement of Fuel Filter for the Series 50G Engine
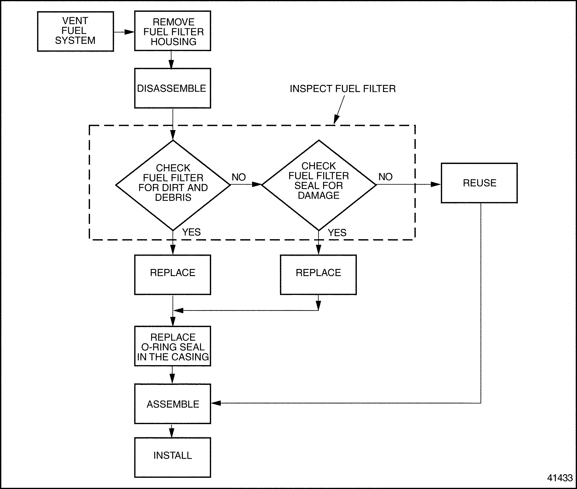
Replacement of the fuel filter. See Figure "Replacement of the Fuel Filter" .

Figure 1. Replacement of the Fuel Filter
Section 2.47.2
Removal of Fuel Filter for the Series 50G Engine
Prior to removal or replacement of the fuel filter, the fuel system must be vented. Refer to "2.43.1 Venting an Operable Engine to Relieve Natural Gas Pressure" and refer to "2.43.2 Venting an Inoperable Engine to Relieve Natural Gas Pressure" .
|
EXPLOSION |
|
To avoid injury from the explosion of natural gas, the engine must be kept in a well ventilated area away from open flames, sparks, and electrical resistance (heating) coils. |
|
EXPLOSION |
|
To avoid injury from an explosion of natural gas, the following precautions must be taken:
|
Remove fuel filter as follows:
- Unscrew the bottom fuel filter housing and filter element from fuel filter housing head. See Figure
"Current Fuel Filter Assemblies"
.

Note: Fuel filter seal is located on top of the fuel filter.Figure 2. Current Fuel Filter Assemblies
- Remove the two bolts from fuel filter housing head.
NOTICE:
Ensure the handle rests on the outer edge of the filter head to avoid damage to the threads.
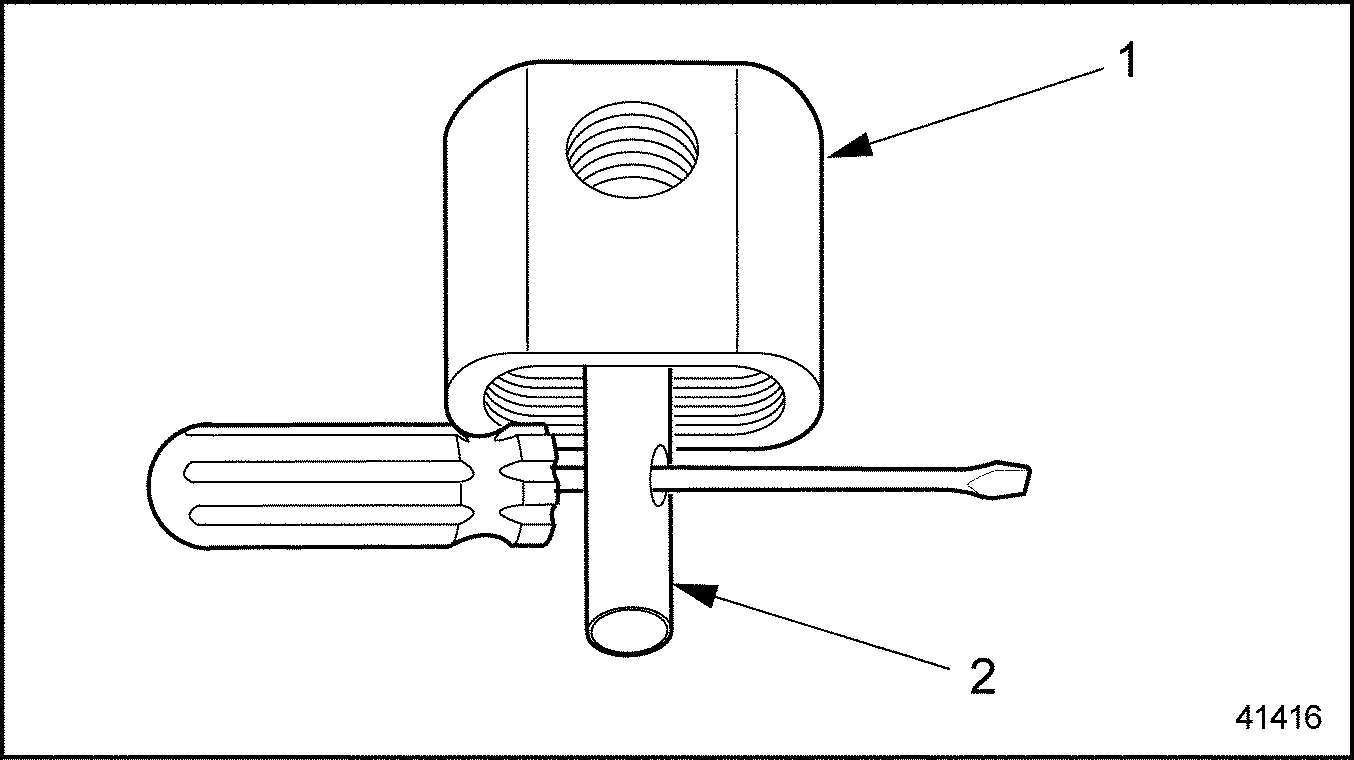
- Place a screwdriver or equivalent tool with a soft handle through the bypass holes in the center tube. See Figure
"Removal of Former Center Tube"
.

1. Filter Housing Head
2. Former Center Tube
Figure 3. Removal of Former Center Tube
- Remove the center tube by gently tapping the metal end of the screwdriver, down away from the filter head.
Note: Discard bypass spring and former center tube with holes.
Section 2.47.2.1
Inspection of Fuel Filter for the Series 50G Engine
Inspect the fuel filter as follows:
- Inspect the inside of the fuel filter for dirt, debris, foreign objects.
- If dirt, debris, foreign objects are found; replace the fuel filter.
- If no damage if found, reuse the fuel filter.
Note: Oil saturation on the outside of the fuel filter is a NORMAL condition of the oil coalescing process.
- Inspect the fuel filter seal on the fuel filter.
- If the fuel filter seal is worn, ripped, torn; replace the fuel filter.
- If no damage is found on the fuel filter seal ; reuse the fuel filter.
Section 2.47.3
Installation of Fuel Filter for the Series 50G Engine
NOTICE: |
|
The fuel filter is directional. Gas from the regulator must be plumbed to the fuel filter inlet port and from the fuel filter outlet port to the compuvalve. This provides proper filtration. |
|
EXPLOSION |
|
To avoid injury from an explosion of natural gas, the following precautions must be taken:
|
Install the fuel filter as follows:
- Place the fuel filter housing head on a flat surface facing up.
- Insert new center tube in the center hole of the fuel filter housing head.
Note: Use a press to push the center tube into the hole of the fuel filter housing head. Center tube should seat flush at rolled portion of tube.
- Install fuel filter housing head on mounting bracket with the two bolts torque to 40.67–47.45 N·m (30–35 lb·ft).
- Install correct fuel filter element into fuel filter housing head.
Note: Ensure that the correct fuel filter is being used with the correct fuel filter housing unit. FFC-113 and FFC-114 are not interchangeable. Fuel filter 23529393 cannot be used in the FFC-114 fuel filter housing; and fuel filter 23529394 cannot be used in the FFC-113 fuel filter housing. Fuel filter assemblies are listed in Table "Former and Current Part Numbers for the Fuel Filter Center Tube" .
Fuel Filter Housing
Former Fuel Filter Part Number
Current Fuel Filter Part Number
FFC-113
23528074
23529393*
FFC-114
23528074
23529394*
Table 7. Former and Current Part Numbers for the Fuel Filter Center Tube
* A new center tube (P/N 23529395) must be installed on the current FFC-113 and FFC-114 fuel filters. Discard former center tube with hole. - Insert the O-ring and install bottom fuel filter housing and torque to 33.90– 47.45 N·m (25–35 lb·ft).
- Pressurize fuel system.
- Refer to "2.43.3 Leak Checking the Natural Gas Fuel System" for leak checking procedure.
| Series 50 Service Manual - 6SE50 |
| Generated on 10-13-2008 |