Section 1.6
Camshaft
Remove the fuel system, turbocharger, cylinder head and front cover items first. Then remove the camshaft assembly as follows:
Section 1.6.1
Removal of Camshaft
Use the following procedure to remove the camshaft gear and camshaft:
- Remove roller tappets and roller tappet guides from their bores.
Note: Mark the tappets as to location in the crankcase to ensure they are returned to their original position.
-
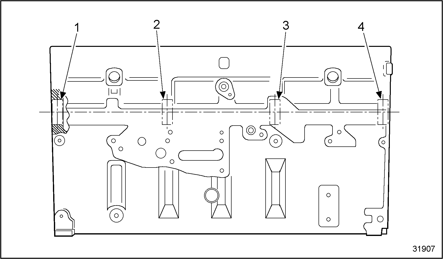
See Figure
"Gears and Timing Marks"
for location of gears and timing marks. Rotate the engine so that timing marks on lower and upper idler gears, crankshaft and camshaft gears are aligned.

1. Crankshaft
6. Upper Idler Gear
2. Rear Half Front Cover
7. Upper/Lower Idler Gear Timing Marks
3. Camshaft Gear with Timing Disk Plate
8. Air Compressor Gear Location
4. Cam Gear/Upper Idler Timing Marks
9. Lower Idler Gear
5. High Pressure Pump Gear Location
10. Lower Idler Gear/Crank Timing Marks
Figure 1. Gears and Timing Marks
Note: Prior to removing any gear, mount a magnetic base dial indicator onto the engine and check for gear backlash and end play.
- Remove the high pressure pump. Refer to "5.2 Lubricating Oil" .
- If removing the camshaft gear only, follow these instructions.
NOTICE:
To avoid damage, do not pry on the timing disk plate. Do not use an impact wrench as that could cause the camshaft to move rearward, resulting in excess camshaft end play.
- Remove the three (3) screws securing the timing disk plate to the camshaft gear. Remove the timing disk plate
- Install camshaft gear puller to cam gear.
- Turn the camshaft gear puller. When the cam gear has moved out approximately 13 mm (1/2 in.) use a pry bar or ratchet to force the camshaft gear to its forward most position. Finish removing camshaft gear. See Figure "Camshaft Removal " .

Figure 2. Camshaft Removal
- If removing the camshaft gear and camshaft as an assembly, remove two camshaft gear thrust plate bolts.
- The engine should be mounted in a turnover stand.
- Rotate the engine so the front of the engine is facing up (engine in vertical position) for easy removal of the camshaft assembly.
- Remove the camshaft from the crankcase by lifting the assembly straight up. See Figure
"Camshaft Removal"
.

1. Camshaft Assembly
2. Crankcase Assembly
Figure 3. Camshaft Removal
NOTICE:
Avoid damage to the camshaft journals and bushings by removing the camshaft from the crankcase by lifting straight up.
Section 1.6.1.1
Cleaning and Inspection of Camshaft
Follow these steps to clean and inspect the camshaft.
- Wash the camshaft in a suitable solvent using a soft bristle brush.
- Visually inspect camshaft. If any lobes are scuffed, scored or cracked, replace camshaft.
- Beyond visual inspection, evaluate camshaft journal and lobe condition using a micrometer as follows:
- Inspect camshaft journal for wear. Using a micrometer, measure camshaft journal diameter. If journals are worn beyond limits, replace the camshaft.
- Check camshaft lobe wear using a micrometer. Measure across (A-D) and across (B-C). Subtract (B-C) from (A-D). This will give cam lobe lift. Replace camshaft when cam lobe wear exceeds specifications.
- Visually inspect thrust plate for wear, cracks or distortion. Use a micrometer to measure thrust plate thickness. Replace thrust plate if worn, damaged or if excessive end play is measured.
- Visually inspect camshaft drive gear for worn or damaged teeth. Inspect the timing disk plate.
Section 1.6.2
Assembly of Camshaft
Assemble the camshaft, thrust plate, camshaft gear and timing disk plate as follows:
- Support the camshaft in an appropriate arbor press.
- Place the thrust plate on the keyway end of the camshaft against the bearing journal.
- Insert the Woodruff key into the keyway.
Note: Use a thermomelt stick, available at welding supply stores, to determine the temperature.
- Press cam gear onto camshaft.
Section 1.6.3
Installation of Camshaft Gear
Use the following steps to install the camshaft gear to the camshaft:
NOTICE: |
|
Heating a camshaft gear beyond 177°C (350°F) will cause it to turn blue. Any camshaft gear that has turned blue cannot be reused. |
- If only the camshaft gear was removed, perform the following steps:
- Heat the camshaft gear in an oven to 149-177°C (300-350°F).
- Use welding gloves to install the heated camshaft gear. Remove cam gear assembly from oven. Ensure the cam gear timing marks are aligned with the upper idler gear and install onto camshaft with timing marks showing. Hold the camshaft gear on camshaft until it tightens as it cools, approximately 30 seconds. See Figure "Camshaft Assembly" .

Figure 4. Camshaft Assembly
- Check camshaft end play by attaching an indicator dial. (End play should be 0.005 — 0.013 in.) If there is excessive end play, the camshaft has probably slipped back. Remove the camshaft gear and pull the camshaft forward. Check for end play again. Check timing disk run-out.
Section 1.6.3.1
Inspection of Camshaft Bushing
Perform the following steps to inspect the four camshaft bushings for wear and proper running clearance.
- Using a micrometer, measure camshaft bushing journal diameter at two (2) locations, 90 degrees apart, and record readings.
- Using a telescoping gage and micrometer, measure the camshaft bushing I.D. with bushing installed in the crankcase. Record the readings.
- Subtract the readings obtained in steps 1a and b, to determine running clearance.
- If maximum allowable running clearance is exceeded, refer to Specifications in Section 1.A. Replace the camshaft bushings using the camshaft bushing remover and installer, J 39537 .
Section 1.6.4
Removal of Camshaft Bushing
When servicing the camshaft bushings, the crankshaft and main bearing must be removed from the crankcase. Use the following procedure to remove the camshaft bushings:
- Use the camshaft bushing service set, J 39537
, to remove the camshaft bushings.
- The four camshaft bushings have the same inside diameter, but the outside diameter and widths of each bushing are different, as is the crankcase bore into which each bushing fits, as listed in Table "Camshaft Bushings" .
- Because of the different size outside diameters of the bushings, order of removal is limited as follows: remove the front and rear bushings first. Then, remove the two intermediate bushings through the front of the crankcase.
Bushing Bore Bushing Position
Bushing O.D.
Diameter in Crankcase
Bushing Width
Front
63.665 mm (2.5065 in.) 63.627 mm (2.5050 in.)
63.550 mm (2.5020 in.) 63.512 mm (2.5005 in.)
25.4 mm (1.00 in.)
Intermediate/Front
63.627 mm (2.4865 in.) 63.157 mm (2.4850 in.)
63.042 mm (2.4820 in.) 63.004 mm (2.4805 in.)
18.0 mm (0.709 in.) 17.5 mm (0.689 in.)
Intermediate/Rear
62.649 mm (2.4665 in.) 62.611 mm (2.4650 in.)
62.534 mm (2.4620 in.) 62.611 mm (2.4605 in.)
18.0 mm (0.709 in.) 17.5 mm (0.689 in.)
Rear
62.141 mm (2.4465 in.) 62.103 mm (2.4450 in.)
62.026 mm (2.4420 in.) 61.988 mm (2.4405 in.)
18.7 mm (0.740 in.) 16.7 mm (0.660 in.)
Table 6. Camshaft Bushings - Using a camshaft bushing remover and installer tool, J 39537
, select the proper size expanding collet and backup nut and assemble onto the expanding mandrel. With the expanding collet collapsed, install the collet assembly into the camshaft bushing to be removed and tighten the backup nut onto the expanding mandrel until the collet fits the camshaft housing. See Figure
"Camshaft Bushing Removal"
; see Figure
"Camshaft Bushings"
.

1. Pulling Nut
6. Camshaft Bushing (See Note)
2. Puller Screw
7. Backup Nut
3. Thrust Bearing
8. Expanding Collet
4. Extension Tube
9. Expanding Mandrel
5. Puller Screw Extension
10. Pulling Plate
Figure 5. Camshaft Bushing Removal

1. Rear Bushing
3. Front Intermediate Bushing
2. Rear Intermediate Bushing
4. Front Bushing
Figure 6. Camshaft Bushings
Note: Hold the end of the puller screw with a wrench to prevent it from turning when tightening the pulling nut.
- Assemble the puller screw and extension, if necessary, and install onto the expanding mandrel. Tighten the pulling nut against the thrust bearing and pulling plate to remove the camshaft bushing.
Note: To remove the rear bushing, install the puller screw from the rear of the crankcase. All other bushings are removed by going through the front of the crankcase.
Section 1.6.5
Installation of Camshaft Bushing
Perform the following steps to install the camshaft bushings:
- Identify each bushing by its outside diameter, as listed in Table "Camshaft Bushings" .
- Lubricate new camshaft bushings as well as crankcase bushing bore with clean engine oil.
- Install new bushing onto expanding collet and tighten collet by turning backup nut until bushing is held securely. See Figure
"Collet and Bushing "
.

1. Bushing
2. Expanding Collet
Figure 7. Collet and Bushing
- Mark oil hole location on back up nut of installation tool to aid in alignment of bushing and crankcase oil holes. See Figure
"Oil Hole Location Marked"
.

1. Bushing Oil Hole
2. Alignment Mark
Figure 8. Oil Hole Location Marked
Note: Repeat this step for each bushing installed.
- Install rear intermediate bushing through front of crankcase, then pull it onto place at rear of crankcase by turning pulling nut on puller screw. Remove tool and inspect oil hole alignment.
Note: The bushings must be installed in the proper order because of the different outside diameters of the bushings.
- Install front intermediate bushing next. See Figure
"Front Intermediate Bushing Installation"
.

Figure 9. Front Intermediate Bushing Installation
- Next install front camshaft bushing by pulling it into place from rear.
- The rear camshaft bushing must be pulled into place from front of crankcase.
Note: The bushing oil holes must be aligned with the oil holes in the crankcase.
Section 1.6.5.1
Inspection of Tappet
Visually inspect all roller tappets and rollers for pitting, roughness and free rotation of roller. Check dimensionally, if specifications are exceeded replace the tappet.
Section 1.6.5.2
Pushrod Cleaning and Inspection
Follow these steps to clean and inspect the pushrods.
|
|
|
To avoid injury from flying debris when using compressed air, wear adequate eye protection (face shield or safety goggles) and do not exceed 40 psi (276 kPa) air pressure. |
- Thoroughly clean each pushrod using a suitable solvent and dry using filtered compressed air.
- Visually inspect each rod for wear at ends. Replace as required.
- Check all pushrods for straightness by rolling on a flat surface. See Figure
"Straightness Check"
. Replace any rod that is bent.

Figure 10. Straightness Check
- Check pushrod run-out. If specifications are exceeded, replace the rod.
Section 1.6.6
Camshaft Assembly Installation
Follow these steps to install the camshaft assembly:
- With the engine in the vertical position, lubricate the camshaft and the camshaft bushings using clean engine oil.
Note: Avoid nicking or scratching the camshaft bushings with the cam lobes.
- Gently slide camshaft assembly into crankcase. Be careful not to damage camshaft bushings.
- Install two (2) thrust plate mounting bolts and torque to specifications. Refer to Specifications
in Section 1.A. See Figure
"Thrust Plate Mounting Bolts "
.

Figure 11. Thrust Plate Mounting Bolts
- Install cam gear timing disk plate over two (2) dowel pins and torque to specifications. Refer to Specifications
in Section 1.A. See Figure
"Timing Disk Plate"
.

Figure 12. Timing Disk Plate
- Install idler gears.
- Check camshaft gear backlash and camshaft end play.
Section 1.6.7
Installation of Tappets
If roller tappets are reusable, lubricate roller tappets and guides with clean engine oil. Install into their original bores, unless new tappets are used. See Figure "Roller Tappets" .
Note: Ensure the tappet rollers all turn in the same direction as when removed.

Figure 13. Roller Tappets
Section 1.6.8
Installation of Pushrods
Install pushrods with the cup end up. Refer to "1.20.1 Installation of Valve Assembly" .
| Series 40E Service Manual - 6SE410 |
| Generated on 10-13-2008 |