Section 32.1
Description of SID 254 – DDEC-VCU Fault
SID 254 indicates that a fault has occurred in the DDEC-VCU.
This diagnostic condition is typically:
- Internal Error in DDEC-VCU (254 12).
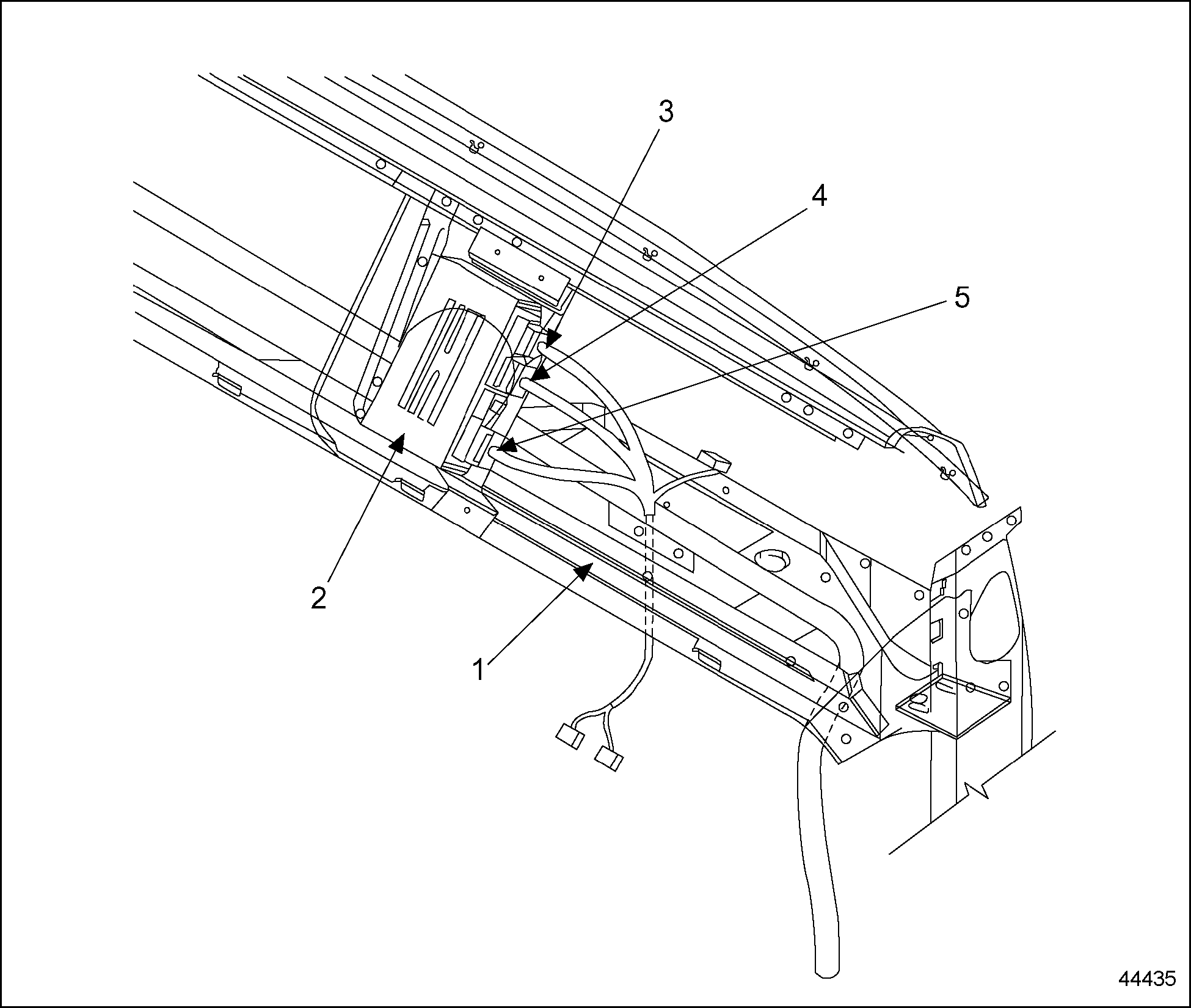
See Figure "Location of DDEC-VCU and Wiring Harness Connectors" for location of DDEC-VCU.

|
1. Passenger-Side Dash |
4. 18-Pin Connector |
|
2. DDEC-VCU |
5. 21-Pin Connector |
|
3. 15-Pin Connector |
|
Figure 1. Location of DDEC-VCU and Wiring Harness Connectors
| MBE 900/4000 Troubleshooting Guide - 6SE422 |
| Generated on 10-13-2008 |