Section 31.1
Description of SID 248 – Pld-Mr DDEC-VCU Datalink Fault
SID 248 indicates that a fault has occurred in the PLD-MR DDEC-VCU datalink.
The diagnostic condition is typically:
- Propriety Datalink Fault (248 02)
- DDEC-VCU Internal Error Fault (248 14)
See Figure "Location of DDEC-VCU and Wiring Harness Connectors" for location of wiring harness connectors. See Figure "Connector Positions on DDEC-VCU" for connector positions on DDEC-VCU. See Figure "PLD-MR Engine Bulkhead Schematic — Business Class" and see Figure "PLD-MR Engine Bulkhead Schematic — Acterra" for wiring schematics.

|
1. Passenger-Side Dash |
4. 18-Pin Harness Connector (VC3) |
|
2. DDEC-VCU |
5. 21-Pin Harness Connector (VC1) |
|
3. 15-Pin Harness Connector (VC4) |
|
Figure 1. Location of DDEC-VCU and Wiring Harness Connectors

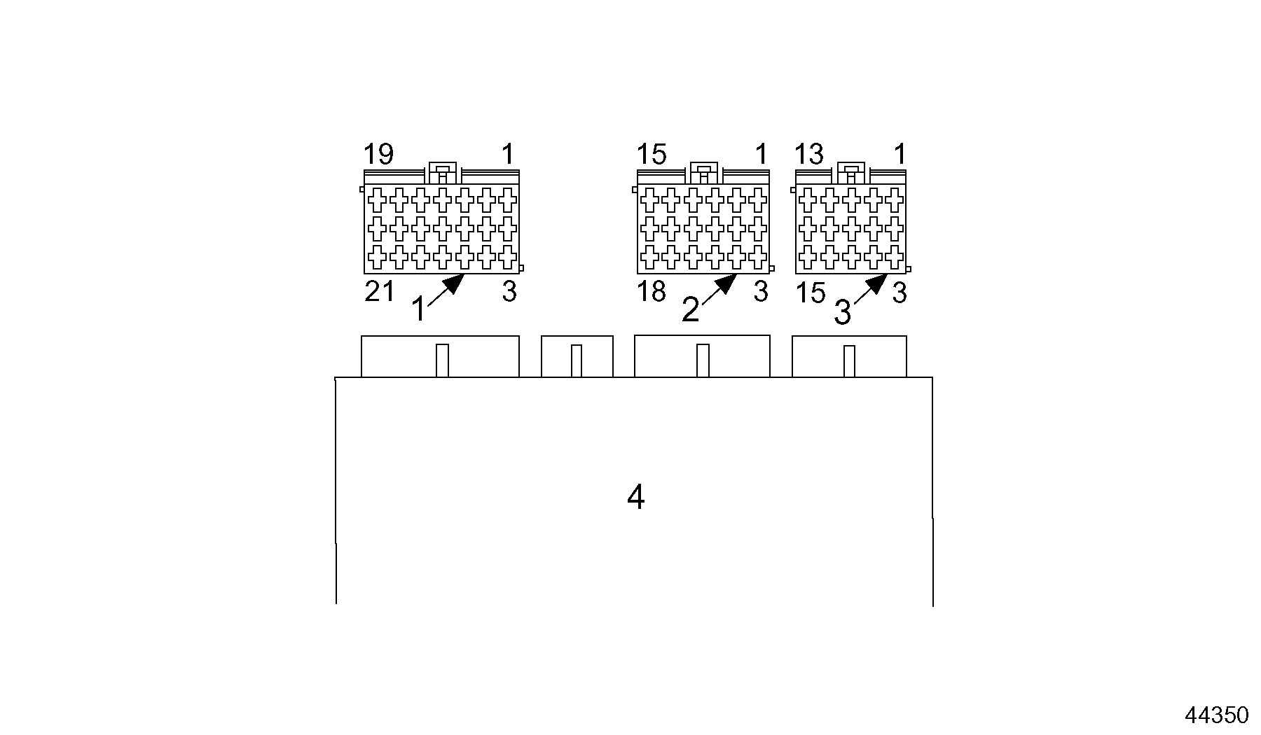
|
1. 21-PinPin DDEC-VCU Connector (VC1) |
3. 15-Pin DDEC-VCU Connector (VC4) |
|
2. 18-Pin DDEC-VCU Connector (VC3) |
4. DDEC-VCU |
Figure 2. Connector Positions on DDEC-VCU

Figure 3. PLD-MR Engine Bulkhead Schematic — Business Class

Figure 4. PLD-MR Engine Bulkhead Schematic — Acterra
| MBE 900/4000 Troubleshooting Guide - 6SE422 |
| Generated on 10-13-2008 |