General Information
SCOPE AND USE OF THIS MANUAL
This manual contains complete instructions on operation, adjustments (including valve lash), preventive maintenance, and repair (including complete overhaul) for the MBE 900 engine. This manual was written primarily for persons servicing and overhauling the engine. In addition, this manual contains all of the instructions essential to the operators and users. Basic maintenance and overhaul procedures are common to all MBE 900 engines, and apply to all engine models.
This manual is divided into numbered sections. Section one covers the engine (less major assemblies). The remaining sections cover a complete system such as the fuel system, lubrication system, or air system. Each section is divided into subsections which contain complete maintenance and operating instructions for a specific engine subassembly. Each section begins with a table of contents. Pages and illustrations are numbered consecutively within each section.
Information can be located by using the table of contents at the front of the manual or the table of contents at the beginning of each section. Information on specific subassemblies or accessories within the major section is listed immediately following the section title.
GENERAL DESCRIPTION
The MBE 900 engine described in this manual is a water-cooled, four-stroke, direct-injection diesel engine. The cylinders are arranged inline on both the 6-cylinder and 4-cylinder models. Each has a separate fuel injection pump (unit pump) with a short injection line to the injection nozzle, which is located in the center of the combustion chamber. The unit pumps are attached to the crankcase and are driven from the camshaft. Each cylinder has two intake valves and one exhaust valve.
Charge-air cooling and an exhaust gas turbocharger are standard equipment on all MBE 900 engines (wastegate turbochargers are optional).
The engine has a fully electronic control system, which regulates the fuel injection quantity and timing using solenoid valves, providing extremely low-emission operation. The control system consists of an engine-resident pump and nozzle control unit (DDEC-ECU) and a vehicle control unit (DDEC-VCU). The two are connected by a proprietary datalink.
Engine braking is controlled by a pneumatically-operated exhaust brake on the turbocharger and by a constant-throttle system (optional).
The cylinder block has integrated oil and water channels. The upper section of the cylinder bore is induction-hardened. The single-piece cylinder head is made of cast iron. The cylinder head gasket is a three-layer, adjustment-free seal with Viton sealing elements.
The pistons are made of aluminum alloy with a shallow combustion chamber recess. The pistons are cooled by oil spray nozzles.
The crankshaft is precision-forged with seven main bearings (five on the 4-cylinder engine), six of which have custom-forged counterweights (four on the 4-cylinder engine), and a vibration damper at the front end.
The camshaft is made of induction-hardened steel and has seven main bearings (five on the 4-cylinder engine). Each cylinder has cams for intake and exhaust valves and a unit pump. The valves are controlled by mushroom tappets, pushrods, and rocker arms. The intake valves are opened and closed by a valve-guided bridge.
There is a force-feed lubricating oil circuit supplied by a rotary oil pump. This pump is positioned at the front of the crankcase and driven by gears from the crankshaft. The oil cooler is located near the front of the crankcase on the right-hand side near the turbocharger.
The gear-type fuel pump is bolted to the front of the crankcase. The pump is driven from the forward end of the camshaft.
The air compressor, with a power-steering pump attached, is driven by a gear on the camshaft (optional).
The vehicle is cooled by a closed system using recirculated coolant; temperature is regulated automatically by a thermostat (two thermostats on the 6-cylinder engine).
The alternator and coolant pump (and other accessories) are driven by a belt with automatic belt tensioner. Electrical equipment includes a starter and an alternator.
GENERAL SPECIFICATIONS AND ENGINE VIEWS
For a general view of the MBE 900 4-cylinder engine, showing major components, see Figure "Left Side, 4-Cylinder Engine" for the left-hand side, and see Figure "Right Side, 4-Cylinder Engine" for the right-hand side.

|
1. Cylinder Head Cover |
9. Belt Tensioner (behind fan) |
|
2. DDEC-ECU Control Unit |
10. Alternator Pulley (behind fan) |
|
3. Fuel Pre-Filter |
11. Intake Manifold Inlet |
|
4. Air Compressor (optional) |
12. Turbo Compressor Outlet |
|
5. Power Steering Pump |
13. Crankcase Breather (oil separator) |
|
6. Oil Dipstick |
14. Oil Fill Cap |
|
7. Fuel Filter |
15. Intake Manifold |
|
8. Fan |
Figure 1. Left Side, 4-Cylinder Engine

|
1. Oil Fill Cap |
7. Starter Motor |
|
2. Turbo Compressor Outlet |
8. Exhaust Brake (optional) |
|
3. Intake Manifold Inlet |
9. Flywheel Housing |
|
4. Oil Filter |
10. Exhaust Manifold |
|
5. Alternator |
11. Intake Manifold |
|
6. Turbocharger |
Figure 2. Right Side, 4-Cylinder Engine
For a general view of the MBE 900 6-cylinder engine, showing major components, see Figure "Left Side, 6-Cylinder Engine" for the left-hand side, and see Figure "Right Side, 6-Cylinder Engine" for the right-hand side.

|
1. Fan |
10. Cylinder Head Cover |
|
2. Belt Tensioner (behind fan) |
11. Fuel Filter |
|
3. Alternator Pulley (behind fan) |
12. Fuel Pre-Filter |
|
4. Oil Filter |
13. DDEC-ECU Control Unit |
|
5. Turbo Compressor Outlet |
14. Air Compressor (optional) |
|
6. Intake Manifold Inlet |
15. Power Steering Pump |
|
7. Crankcase Breather (oil separator) |
16. Oil Dipstick |
|
8. Oil Fill Cap |
17. Coolant Pump Pulley |
|
9. Intake Manifold |
Figure 3. Left Side, 6-Cylinder Engine

|
1. Cylinder Head Cover |
7. Alternator |
|
2. Intake Manifold |
8. Turbocharger |
|
3. Exhaust Manifold |
9. Starter Motor |
|
4. Intake Manifold Inlet |
10. Flywheel Housing |
|
5. Oil Fill Cap |
11. Exhaust Brake (optional) |
|
6. Turbo Compressor Outlet |
Figure 4. Right Side, 6-Cylinder Engine
The general specifications for the MBE 900 NON-EGR engines are listed in Table "General Technical Information" .
|
Description |
4-Cylinder Engines |
6-Cylinder Engines |
|
Engine Type |
Vertical, inline cylinder block with turbocharger and charge-air cooler |
|
|
Cooling System |
Liquid Circuit |
|
|
Combustion Principle |
4-Stroke direct-injection diesel |
|
|
Number of Cylinders |
4 |
6 |
|
Bore |
102 mm (4.02 in) |
|
|
Stroke |
130 mm (5.11 in) |
|
|
Displacement (total) |
4.25 liters (259 in³) |
6.37 liters (389 in³) |
|
Compression Ratio |
17.4:1 |
|
|
Starting Speed |
Approximately 100 rpm |
|
|
Direction of Engine Rotation (viewed from flywheel) |
Counterclockwise |
|
|
Starter |
Electric Motor |
|
|
Coolant Capacity of Engine (Does not include capacity of cooling system.) |
Max. 8.5 liters (9.0 qt.) |
Max. 12.5 liters (13.2 qt.) |
|
Lubricating Oil Fill Capacity (In standard pan, including oil filter.) |
Max. 15.8 liters (16.7 qt.) |
Max. 29.0 liters (30.6 qt.) |
|
Cold-Start Temperature Limit (Without starting aids and with battery 75 percent charged) |
Down to –20°C (–4°F) |
|
|
Engine "Dry" Weight |
395 kg (871 lb) |
530 kg (1169 lb) |
|
Valve Lash (with engine cool) |
Intake = 0.40 mm (0.016 in) |
|
|
Exhaust = 0.60 mm (0.024 in) |
||
|
Valve Lift (at maximum valve clearance) |
Intake = 9.7 mm (0.38 in) |
|
|
Exhaust = 10.7 mm (0.42 in) |
||
|
Engine Oil Pressure |
At idle rpm = 50 kPa (7 psi) |
|
|
At maximum rpm = 250 kPa (36 psi) |
||
|
Fuel Injectors |
Minimum opening pressure = 24 500 kPa (3553 psi) |
|
|
Maximum opening pressure = 25 700 kPa (3727 psi) |
||
|
Coolant Thermostat |
Opening temperature = 81° to 85°C (178° to 185°F) |
|
|
Normal operating temperature = 95°C (203°F) |
||
GENERAL DESCRIPTION OF MBE 900 EGR SYSTEM AND ENGINE VIEWS
The purpose of the Exhaust Gas Recirculation (EGR) System is to reduce engine exhaust gas emissions in accordance with EPA regulations. See Figure "MBE 900 EGR System Components" , , , , and for EGR component locations.

|
1. Turbocharger |
5. Reed Valves (Models 904, 924 and 926) |
|
2. EGR Rotary Valve |
6. Water Return Line |
|
3. EGR Cooler |
7. Water Inlet Line. |
|
4. EGR Cool Air Mixer |
|
Figure 5. MBE 900 EGR System Components
The EGR system consists of:
- Turbocharger
- EGR Cooler
- EGR Rotary Valve
- Reed Valves
- EGR Mixer
The MBE 900 engines for on-highway EPA 2004 regulation applications use a water cooled EGR system. Exhaust gases from the front three cylinders on six cylinder engines (all four cylinders on four cylinder engines) are routed from the exhaust manifold through the EGR cooler, past control and reed valves (not on MBE 906), and mixed with the intake manifold charge air. The addition of cooled exhaust gases back into the combustion airflow reduces the peak in cylinder combustion temperature. Less oxides of nitrogen (NOx) are produced at lower combustion temperatures.
The recycled exhaust gases are cooled before engine consumption in a twin tube-and-shell engine water cooler. See Figure "Air Flow Diagram Through Engine with EGR System" .

Figure 6. Air Flow Diagram Through Engine with EGR System
The MBE 904, MBE 924 and MBE 926 engines have reed valves to assist in the transport of exhaust gasses. In order to drive exhaust gas transport to the engine, the pressure in the exhaust manifold must greater than the charge air pressure. The pressure of gasses in the exhaust manifold changes over time, peaking when the exhaust valves open. Exhaust gasses pass through the reed valves during these pressure peaks. The reed valves permit transport of exhaust gasses only during the time when the exhaust gasses pressure is greater than the charge air pressure. See Figure "Reed Valve Location (MBE 904, MBE 924 and 926 engines only)" for the location of the reed valves. See Figure "Top View of EGR Components" for a top view of the MBE 906 EGR engine, indicating major EGR parts.

|
1. Charge Air Tube Manifold |
3. Reed Valves (Models 904, 924 and 926) |
|
2. EGR Delivery Pipe |
4. EGR/CA Mixer Tube (Model 906) |
Figure 7. Reed Valve Location (MBE 904, MBE 924 and 926 engines only)

|
1. Charge Air Tube |
8. EGR Cooler Flange Heat Shield |
|
2. Grid Heater |
9. Coolant Return Tube |
|
3. Reed Valve (904, 924 and 926 models only) |
10. EGR/CA Mixer |
|
4. Fuel Filter Pre and Main |
11. Turbocharger |
|
5. Thermostat Cover and Housing |
12. EGR Cooler (upper and lower) |
|
6. Coolant Inlet Tube |
13. Charge Air Housing |
|
7. EGR Delivery Pipe |
14. EGR Rotary Valve |
Figure 8. Top View of EGR Components

|
1. Starter Motor |
6. EGR Cooler |
|
2. Flywheel Housing |
7. Turbocharger Compressor Out |
|
3. Exhaust Manifold |
8. Breather Tube |
|
4. Cylinder Head Cover |
9. Turbocharger Heat Shield |
|
5. Air Intake Manifold |
10. Oil Pan |
Figure 9. Right Rear View of MBE 900 2004 EGR Engine and Components

|
1. Air Compressor |
6. Oil Centrifuge |
|
2. DDEC-ECU |
7. Air Intake Manifold |
|
3. Pre Fuel Filter |
8. Cylinder Head Cover |
|
4. Main Fuel Filter |
9. Flywheel Housing |
|
5. Oil Fill Cap |
10. Oil Pan |
Figure 10. Left Rear View of MBE 900 2004 EGR Engine and Components
The general specifications for the MBE 900 EGR engines are listed in Table "General Technical Information for MBE 900 EGR Engines"
|
Description |
4-Cylinder EGR Engines |
6-Cylinder EGR Engines |
||
|
Engine Type |
Vertical, inline cylinder block with turbocharger and charge-air cooler |
|||
|
Cooling System |
Liquid Circuit |
|||
|
Combustion Principle |
4-Stroke direct-injection diesel |
|||
|
Number of Cylinders |
4 |
6 |
||
|
Bore |
102 mm (4.02 in) |
106 mm (4.17 in) |
102 mm (4.02) |
106 mm (4.17 in.) |
|
Stroke |
130 mm(5.11 in.) |
136 mm (5.35 in.) |
130 mm (5.11 in.) |
136 mm (5.35 in.) |
|
Displacement (total) |
4.3 liters (259 in³) |
4.8 liters (292 in³) |
6.4 liters (389 in³) |
7.2 liters (439 in³) |
|
Compression Ratio |
18:1 |
18:1 |
17.5:1 |
|
|
Starting Speed |
Approximately 100 rpm |
|||
|
Direction of Engine Rotation (viewed from flywheel) |
Counterclockwise |
|||
|
Starter |
Electric Motor |
|||
|
Coolant Capacity of Engine (Does not include capacity of cooling system.) |
Max. 8.5 liters (9.0 qt.) |
Max. 12.5 liters (13.2 qt.) |
||
|
Lubricating Oil Fill Capacity(In standard pan, including oil filter.) |
Max. 15.8 liters (16.7 qt.) |
Max. 29.0 liters (30.6 qt.) |
||
|
Cold-Start Temperature Limit (Without starting aids and with battery 75 percent charged) |
Down to –15°C (+5°F) |
|||
|
Engine "Dry" Weight |
420 kg (926 lb) |
560 kg (1235 lb) |
||
|
Valve Lash (with engine cool) |
Intake = 0.40 mm (0.016 in) |
|||
|
Exhaust = 0.60 mm (0.024 in) |
||||
|
Valve Lift (at maximum valve clearance) |
Intake = 9.7 mm (0.38 in) |
|||
|
Exhaust = 10.7 mm (0.42 in) |
||||
|
Engine Oil Pressure |
At idle rpm = 50 kPa (7 psi) |
|||
|
At maximum rpm = 250 kPa (36 psi) |
||||
|
Fuel Injectors |
Minimum opening pressure = 24,500 kPa (3553 psi) |
|||
|
Maximum opening pressure = 25,700 kPa (3727 psi) |
||||
|
Coolant Thermostat |
Opening temperature = 81° to 85°C (178° to 185°F) |
|||
|
Normal operating temperature = 95°C (203°F) |
||||
IDENTIFICATION
Engine Identification Number
The engine identification number is lasered in large font onto an enlarged labeling surface on the rear right block. See Figure "Location of Engine Identification Numbers" . The etched identification number contains the type reference followed by a sequential manufacturing number. See Figure "Engine Identification Number" .

Figure 11. Location of Engine Identification Numbers

Figure 12. Engine Identification Number
The last six numbers are the serial numbers of the engine (263172 in see Figure "Engine Identification Number" ). See Figure "Engine Identification" for an explanation of the first six numbers found in the engine identification number.

Figure 13. Engine Identification
Note: In addition to the fourteen digit number etched on the crankcase, there is a ten digit number used for warranty and service that is found on the DDEC-ECU label. The ten digit number is derived from the fourteen digit number (see Figure "Engine Serial Number and DDEC-ECU Label" ).

Figure 14. Engine Serial Number and DDEC-ECU Label
Emission Label
The MBE 900 engine is built in accordance with sound technological principles and based on state-of-the-art technology. It complies with all United States Environmental Protection Agency (USEPA) and California Air Resources Board (CARB) emission standards. An emission label is attached to the cylinder head cover, as required by law. See Figure "Emission Label for 6-Cylinder Non-EGR Engine" for the emission label for the 6-cylinder non-EGR model and see Figure "Emission Label for the 4-Cylinder Non-EGR Engine" for the 4-cylinder non-EGR model label. See figure 17 for the emission label for the 6-cylinder EGR model and see figure 18 for the 4-cylinder EGR model label.

Figure 15. Emission Label for 6-Cylinder Non-EGR Engine

Figure 16. Emission Label for the 4-Cylinder Non-EGR Engine

Figure 17. Emission Label for the 6-Cylinder EGR Engine

Figure 18. Emission Label for the 4-Cylinder EGR Engine
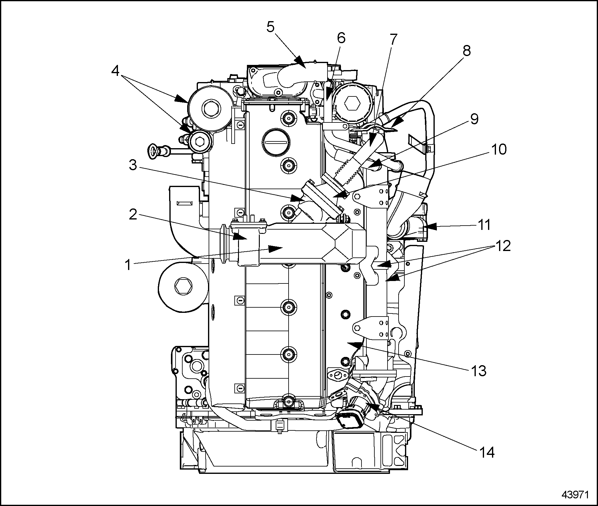
Sensor Locations
See Figure "Sensor Location on the Right Side of the MBE 900 EGR Engine" and see Figure "Sensor Location on the Left Side of the MBE 900 EGR Engine" for sensor locations for MBE 900 EGR engines. See Figure "Sensor Location on the MBE 900 Non-EGR Engine" for sensor locations on the MBE 900 non-EGR engines.

|
1. Intake Manifold Pressure/Temperature Sensor |
3. Engine Oil Pressure Sensor |
|
2. Engine oil Temperature |
Figure 19. Sensor Location on the Right Side of the MBE 900 EGR Engine

|
1. EGR Temperature Sensor |
4. Barometric Pressure Sensor (integrated into DDEC-ECU) |
|
2. Engine Coolant Temperature Sensor |
5. Camshaft Position Sensor (on camshaft) |
|
3. Supply Fuel Temperature Sensor |
6. Crankshaft Position Sensor (on timing case) |
Figure 20. Sensor Location on the Left Side of the MBE 900 EGR Engine
Note: Some early non-EGR engines had a single oil temperature/pressure sensor.

|
1. Engine Oil Pressure/Temperature Sensor |
5. Barometric Pressure Sensor (integrated into DDEC-ECU) |
|
2. Engine Coolant Temperature Sensor |
6. Camshaft Position Sensor (on camshaft) |
|
3. Intake Manifold Pressure/Temperature Sensor |
7. Crankshaft Position Sensor (on timing case) |
|
4. Supply Fuel Temperature Sensor |
Figure 21. Sensor Location on the MBE 900 Non-EGR Engine
Despite this, the engine may constitute a risk of damage to property or injury to persons under the following conditions:
- It is not used for its intended purpose.
- It is modified or converted in an incorrect manner.
- The safety instructions are disregarded.
SAFETY INSTRUCTIONS AND PRECAUTIONS
The following safety measures are essential when working on the MBE 900 engine.
To reduce the chance of personal injury and/or property damage, the following instructions must be carefully observed:
- Proper service and repair are important to the service technician and the safe, reliable operation of the engine. If part replacement is necessary, the part must be replaced with one of the same part number or with an equivalent part number. Do not use a replacement part of lesser quality.
- The service procedures recommended and described in this manual are effective methods of performing a repair. Some of these procedures require the use of specially designed tools.
Accordingly, anyone who intends to use a replacement part, procedure or tool that is not recommended, must first determine that neither personal safety nor the safe operation of the engine or warranty will be jeopardized by the replacement part, procedure or tool selected.
Note: It is important to note that this manual contains various ” Dangers”, “Warnings”, Cautions” and “Notices” that must be carefully observed in order to reduce the risk of personal injury during repair or the possibility that improper repair may damage the engine or render it unsafe. It is also important to understand that these “Dangers”, “Warnings”, “Cautions” and “Notices” are not exhaustive, because it is impossible to warn personnel of all the possible hazardous consequences that might result from failure to follow these instructions.
Air
Cautions involving the use of compressed air are indicated throughout the manual.
|
EYE INJURY |
|
To avoid injury from flying debris when using compressed air, wear adequate eye protection (face shield or safety goggles) and do not exceed 276 kPa (40 psi) air pressure. |
Batteries
Electrical storage batteries emit highly flammable hydrogen gas when charging and continue to do so for some time after receiving a steady charge.
|
Battery Explosion and Acid Burn |
|
To avoid injury from battery explosion or contact with battery acid, work in a well ventilated area, wear protective clothing, and avoid sparks or flames near the battery. If you come in contact with battery acid:
|
Always disconnect the battery cable before working on the electrical system.
|
PERSONAL INJURY |
|
To avoid injury from accidental engine startup while servicing the engine, disconnect/disable the starting system. |
Disconnect the batteries or disable an air starter when working on the engine to prevent accidental starting.
Cleaning Agent
Avoid the use of carbon tetrachloride as a cleaning agent because of the harmful vapors that it releases. Ensure the work area is adequately ventilated. Use protective gloves, goggles or face shield, and apron. Exercise caution against burns when using oxalic acid to clean the cooling passages of the engine.
|
PERSONAL INJURY |
|
To avoid injury from harmful vapors or skin contact, do not use carbon tetrachloride as a cleaning agent. |
Clothing
Make sure that safe work clothing fits and is in good condition. Use work shoes that are sturdy and rough-soled. Bare feet, sandals or sneakers are not acceptable foot wear when adjusting and/or servicing an engine. Do not wear rings, wrist watches, bracelets, necklaces and loose fitting clothing could catch on moving parts causing serious injury.
|
PERSONAL INJURY |
|
To avoid injury when working near or on an operating engine, remove loose items of clothing and jewelry. Tie back or contain long hair that could be caught in any moving part causing injury. |
|
PERSONAL INJURY |
|
To avoid injury when working on or near an operating engine, wear protective clothing, eye protection, and hearing protection. |
Coolant System
Vehicle cooling systems are under pressure when at operating temperature. Allow engine to cool down before removing pressure control cap. Scalding may occur from expulsion of hot coolant if cap is removed without allowing system to cool. Wear adequate protective clothing (face shield, rubber gloves, apron and boots). Remove cap slowly to relieve pressure.
|
HOT COOLANT |
|
To avoid scalding from the expulsion of hot coolant, never remove the cooling system pressure cap while the engine is at operating temperature. Wear adequate protective clothing (face shield, rubber gloves, apron, and boots). Remove the cap slowly to relieve pressure. |
|
PERSONAL INJURY |
|
To avoid injury from scalding, drain the radiator when the engine and coolant are cool. |
Exhaust (Start/Run Engine)
Before starting and running an engine, adhere to the following safety precautions:
|
PERSONAL INJURY |
|
To avoid injury before starting and running the engine, ensure the vehicle is parked on a level surface, parking brake is set, and the wheels are blocked. |
|
PERSONAL INJURY |
|
Diesel engine exhaust and some of its constituents are known to the State of California to cause cancer, birth defects, and other reproductive harm.
|
Fire
Keep a charged fire extinguisher within reach. Be sure you have the correct type of extinguisher for the situation.
|
FIRE |
|
To avoid injury from fire, keep a fire extinguisher near the grinding machine in case excessive heat should ignite the oil. |
To avoid the risk of a potential fuel fire never mix gasoline and diesel fuel.
|
FIRE |
|
To avoid increased risk of a fuel fire, do not mix gasoline and diesel fuel. |
Fluids and Pressure
Be extremely careful when dealing with fluids under pressure.
|
PERSONAL INJURY |
|
To avoid injury from penetrating fluids, do not put your hands in front of fluid under pressure. Fluids under pressure can penetrate skin and clothing. |
Fluids under pressure can have enough force to penetrate the skin. These fluids can infect a minor cut or opening in the skin. If injured by escaping fluid, see a doctor at once. Serious infection or reaction can result without immediate medical treatment.
Fluoroelastomer (Viton) Use
Under normal design conditions, fluoroelastomer (VITON) parts, such as O-rings and seals, are perfectly safe to handle.
|
CHEMICAL BURNS |
|
To avoid injury from chemical burns, wear a face shield and neoprene or PVC gloves when handling fluoroelastomer O-rings or seals that have been degraded by excessive heat. Discard gloves after handling degraded fluoroelastomer parts. |
However, a potential hazard may occur if these components are raised to a temperature above 316°C (600°F), such as during a cylinder failure or engine fire. At temperatures above 316°C (600°F) fluoroelastomer will decompose (indicated by charring or the appearance of a black, sticky mass) and produce hydrofluoric acid. This is extremely corrosive and, if touched by bare skin, may cause severe burns, sometimes with symptoms delayed for several hours.
Flywheel
To avoid injury from a falling flywheel when removing the last bolt, hold flywheel against crankshaft or install guide studs.
|
FALLING FLYWHEEL |
|
To avoid injury from a falling flywheel when removing the last bolt, hold the flywheel against the crankshaft by hand to prevent it from slipping off the crankshaft. The flywheel is not doweled to the crankshaft. |
Fuel
Keep the hose and nozzle or the funnel and container in contact with the metal of the fuel tank when refueling, to avoid the possibility of an electric spark igniting the fuel.
|
FIRE |
|
To avoid injury from fire caused by heated diesel-fuel vapors:
|
The following cautions should be followed when filling a fuel tank:
|
PERSONAL INJURY |
|
To avoid injury from fuel spills, do not overfill the fuel tank. |
|
FIRE |
|
To avoid injury from fire, keep all potential ignition sources away from diesel fuel, including open flames, sparks, and electrical resistance heating elements. Do not smoke when refueling. |
Fuel Lines
Remove fuel lines carefully. Avoid damaging the connection points and do not allow dirt or debris to enter the fuel passage.
Glasses
Select appropriate safety glasses for the job. It is especially important to wear safety glasses when using tools such as hammers, chisels, pullers or punches.
|
EYE INJURY |
|
To avoid injury from flying debris, wear a face shield or goggles. |
High Pressure Connections
To avoid injury from the sudden release of a high-pressure connection, wear a face shield or goggles.
|
PERSONAL INJURY |
|
To avoid injury from the sudden release of a high-pressure hose connection, wear a face shield or goggles. |
Hot Components
To avoid injury from burning, use lifting tools and heat-resistant gloves when handling hot components.
|
BURNS |
|
To avoid injury from burning, use lifting tools and heat-resistant gloves when handling heated components. |
Items Under Tension
To avoid injury to hands and fingers from spring loaded belt tensioner snapping back, do not cut a belt to remove it.
|
PERSONAL INJURY |
|
To avoid injury to hands and fingers from the spring-loaded auto belt tensioner violently snapping back, do not cut the belt to remove it. |
To avoid injury from flying parts when working with components under spring tension, wear adequate eye protection.
|
EYE INJURY |
|
To avoid injury from flying parts when working with components under spring tension, wear adequate eye protection (face shield or safety goggles). |
To avoid injury from an ejected injector unit pump, do not completely loosen the mounting bolts if under tension, Rotate the crankshaft to relieve tension on the unit pump then remove.
|
PERSONAL INJURY |
|
To avoid injury from an ejected injector unit pump, do not completely loosen the mounting bolts until you have tested the spring tension. If the spring tension is at maximum and you remove the mounting cap screws, the pump will be ejected from the engine crankcase. |
Lifting Devices
To avoid injury when lifting heavy objects be sure to use a proper lifting device. Never stand beneath a suspended load.
|
BODILY INJURY |
|
To avoid injury from a falling component, ensure a proper lifting device is used. Never stand beneath a suspended load. |
|
FALLING COMPONENT |
|
To avoid injury from a falling component, ensure a proper lifting device is used. |
Liquid Nitrogen
To avoid injury from freezing or suffocation when using liquid nitrogen, wear a face shield and protective clothing in a well ventilated area.
|
FREEZING OR SUFFOCATION |
|
To avoid injury from freezing or suffocation when using liquid nitrogen, wear a face shield and protective clothing and work in a well ventilated area. |
Lubricating Oil
To avoid a potential fire, keep open flames, sparks, electrical resistance heating elements and other potential sources away when draining lubrication oil.
|
FIRE |
|
To avoid injury from fire, keep open flames, sparks, electrical resistance heating elements, or other potential ignition sources away when draining lubrication oil. Do not smoke when draining lubricating oil. |
Power Tools
Do not use defective portable power tools.
|
ELECTRICAL SHOCK |
|
To avoid injury from electrical shock, follow OEM furnished operating instructions prior to usage. |
Check for frayed cords and worn connectors prior to using the tool. Be sure all electric tools are grounded. Defective electrical equipment can cause severe injury. Improper use of electrical equipment can cause severe injury.
Stands
Safety stands are required in conjunction with hydraulic jacks or hoists. Do not rely on either the jack or the hoist to carry the load. When lifting an engine, ensure the lifting device is fastened securely. Ensure the item to be lifted does not exceed the capacity of the lifting device.
|
PERSONAL INJURY |
|
To avoid injury when removing or installing a heavy engine component, ensure the component is properly supported and securely attached to an adequate lifting device to prevent the component from falling. |
Start Attempts
Avoid excessive injection of ether into the engine during start attempts.
NOTICE: |
|
Avoid excessive injection of ether into the engine during start attempts. Injection of excessive ether may result in an uncontrolled internal engine explosion that could cause engine damage. Follow the manufacturer's instructions on proper product use. |
Follow the instructions on the container or by the manufacturer of the starting aid.
Thermostats
When removing thermostat from boiling water after testing use a lifting tool and wear heat-resistant gloves to avoid injury from scalding.
|
SCALDING |
|
To avoid injury from scalding, use lifting tools and wear heat-resistant gloves when retrieving the thermostat from boiling water. |
Welding
Wear welding goggles and gloves when welding or using an acetylene torch.
|
|