Section 1.21
EGR Valves
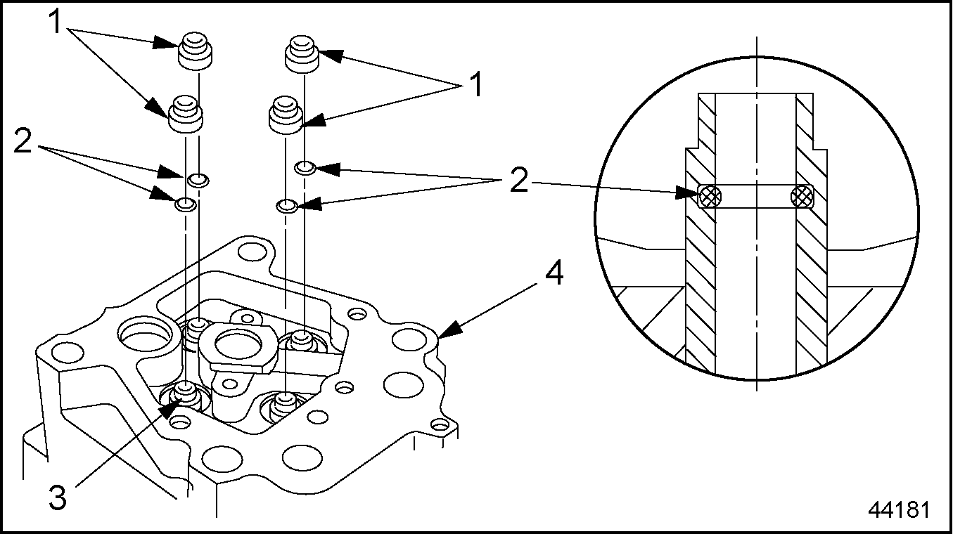
The exhaust valves and valve specifications in the EGR engine have changed due to the addition of valve stem sealing rings under the valve stem seals in the engine.
Section 1.21.1
Valve Removal in the EGR Engine
Perform the following steps in removing the valves from the EGR engine:
- Follow the procedures for valve removal in a non-EGR engine until reaching the valve stem seals removal step. Refer to "1.20.5 Valve Removal" .
- With the cylinder head in an upright position, remove and discard the valve stem seals and valve stem sealing rings. See Figure
"Removing Valve Stem Seals and Valve Stem Sealing Rings"
.

1. Valve Stem Seal
3. Valve Guide
2. Valve Stem Sealing Ring
4. Cylinder Head
Figure 1. Removing Valve Stem Seals and Valve Stem Sealing Rings
Note: The valve guide with valve stem sealing ring are used only in the EGR engines.
- Check the following critical valve dimensions, and repair as necessary. See Figure
"Critical Dimensions, Valve Stem and Head for EGR Engines"
to determine the dimensions. Listed in Table
"Valve Removal/Installation Specifications in mm (in.) for non-EGR and EGR engines"
are the dimensions for the intake valve and the differences between the exhaust non-EGR and exhaust EGR valves.
- Valve stem diameter (A)
- Valve seat diameter at the contact surface of the cylinder head (B)
- Valve head diameter (C)
- Valve seat height (D)
- Valve seat width at the valve head (E)
- Valve seat angle (F)
- Valve length (G)

Figure 2. Critical Dimensions, Valve Stem and Head for EGR Engines
Description
Intake: mm (in.)
Exhaust-EPA 98: mm (in.)
Exhaust-EPA 04: mm (in.)
Valve stem diameter (A)
8.935-8.950 (0.3518-0.3524)
8.925-8.940 (0.3514-0.3520)
8.925-8.940 (0.3514-0.3520)
Valve seat diameter at head contact surface (B)
42.0 (1.65)
39.0 (1.54)
39.0 (1.54)
Valve head diameter (C)
45.4-45.6 (1.79-1.80)
40.9-41.3 (1.61-1.63)
41.9-42.3 (1.65-1.67)
Valve seat height-new (D)
3.1-3.3 (0.12-0.13)
2.8-3.1 (0.11-0.12)
3.0-3.3 (0.12-0.13)
Minimum valve seat height-after grinding (D)
2.9 (0.11)
2.3 (0.09)
2.9 (0.11)
Valve seat width at valve head (E)
3.5-4.5 (0.14-0.18)
3.5-4.5 (0.14-0.18)
min. 3.5 (0.14)
Valve seat angle (F)
30 degrees
45 degrees
36 degrees
Valve length (G)
145.0 (5.71)
145.0 (5.71)
145.0 (5.71)
Table 2. Valve Removal/Installation Specifications in mm (in.) for non-EGR and EGR engines
Section 1.21.2
Valve Installation in the EGR Engine
Perform the following steps in installing the valves in the EGR engine:
- Install the valve stem sealing ring in the valve guide in the cylinder head.
- Lubricate each valve with a light coating of engine oil.
- Install the valves in order, as marked on removal.
Note: In the EGR engine, always replace the valve stem seal and valve stem sealing ring if the valve has been removed. Check the valve stem seal to make sure it is correctly seated on the valve guide.
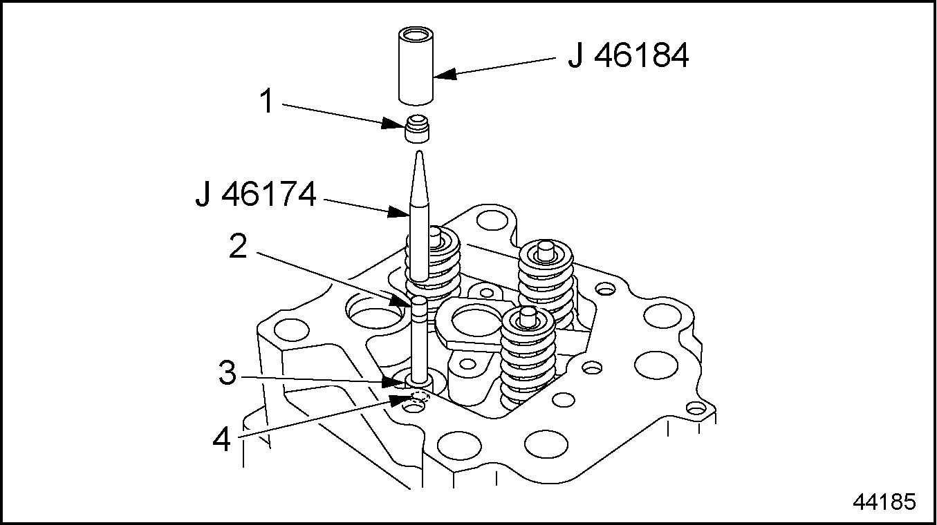
- Using valve stem seal installer/protector (J–46174) , install new valve stem seals and seat the valve stem seal with valve stem seal installer (J–46184) . Refer to "1.21.3 Valve Stem Seal and Valve Stem Sealing Ring Replacement in the EGR Engine" .
- Using the adaptor (J–46173) , install the spring seats, springs, spring retainers, and collets (keepers). Check the keepers to be sure they are locked in place.
- Remove the adaptor (J–46173) , from the cylinder head.
- Install the cylinder head.
Section 1.21.3
Valve Stem Seal and Valve Stem Sealing Ring Replacement in the EGR Engine
Replace the valve stem seal and valve stem sealing ring as follows:
Note: In the EGR engine, always replace the valve stem seal and valve stem sealing ring if the valve has been removed.
- Remove the cylinder head from the engine.
Note: Use care during removal to not damage the valve guides and valve stems.
- Remove the keeper, spring retainer, valve spring, and spring seat.
- Remove the valve stem seal and discard.
- Remove the valve.
- Remove the valve stem sealing ring and discard. Repeat procedure for all remaining valves.
- Clean all parts before reinstalling components.
- Install the valve stem sealing ring in the valve guide and then install the valve in the head. Repeat procedure for all remaining valves.
- Lubricate the valve stem and valve stem seal installer/protector (J–46174)
with a light coating of clean engine oil.

1. Valve Stem Seal
3. Valve Guide
2. Valve Stem
4. Valve Stem Sealing Ring (installed)
Figure 3. Valve Stem Seal and Sealing Ring Replacement
Note: The installer/protector prevents the groove on the valve stem from damaging the valve stem seal.
- Push the valve stem seal installer/protector (J–46174) over the valve stem until it makes contact with the valve.
- Slide the valve stem seal over the installer/protector and the valve stem. Using fingers, press valve stem seal into place until the seal seats on the valve guide.
- Remove the valve stem seal installer/protector .
- Using valve stem
seal installer (J–46184)
and the appropriate hammer, drive the valve stem seal on the guide.
Note: Check the seal to make sure it is correctly seated on the valve guide.
- Remove the installer from the valve stem seal and the valve.
- Install the keeper, spring retainer, valve spring and spring seat, as removed.
- Repeat the procedure for the other valves.
- Install the cylinder head on the EGR engine. Refer to "1.4.1 EGR Cylinder Head Installation" .
Section 1.21.4
Valve Seats
See Figure "Valve Seats on EGR Engine" and listed in Table "Valve Seat Specifications for EGR Engine" are the specifications for valve seats.

|
1. Exhaust Valve Seat |
2. Intake Valve Seat |
Figure 4. Valve Seats on EGR Engine
|
Description |
Intake Valve, mm (in.) |
Exhaust Valve-non-EGR:mm (in.) |
Exhaust Valve-EGR, mm (in.) |
|
Valve seat angle (E) |
30 Degree |
45 Degree |
36 Degree |
|
Valve seat surface diameter (G) |
41.99-42.01(1.65-1.654 |
38.99-39.0 (1.535-1.535) |
38.99-39.01(1.535-1.536) |
|
Relative position (H) to diameter G |
4.00-4.15 (0.157-0.163) |
3.80-3.95 (0.15-0.16) |
4.00-4.15 (0.157-0.163) |
| MBE 4000 Service Manual - 6SE412 |
| Generated on 10-13-2008 |