Section 2.10
Glow Plug Harness
The glow plug harness is a device which delivers electrical current to the glow plugs to enhance cold weather starting.
Section 2.10.1
Replacement of Glow Plug Harness
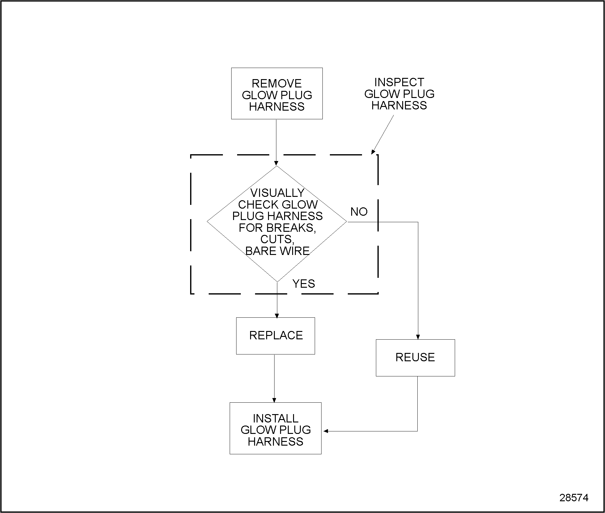
To determine if replacement of the glow plug harness is necessary, perform the following procedure. See Figure "Flowchart for Replacement of Glow Plug Harness" .
Note: The glow plug harness is a non-serviceable component and is replaced as a unit. No adjustment is required.

Figure 1. Flowchart for Replacement of Glow Plug Harness
Section 2.10.2
Removal of Glow Plug Harness
Remove glow plug harness as follows:
- Disconnect glow plug connectors from glow plugs. See Figure
"Glow Plug Harness and Glow Plug Location"
.

1.Glow Plug
2.Glow Plug Harness
Figure 2. Glow Plug Harness and Glow Plug Location
- Disconnect glow plug harness from glow plug relay.
Section 2.10.2.1
Inspection of Glow Plug Harness
Inspect glow plug harness as follows:
- Visually inspect the harness for breaks, cuts, and bare wire.
- If the glow plug harness has been damaged, replace the component. Refer to "2.10.3 Installation of Glow Plug Harness" .
- If the glow plug harness has not been damaged, reuse the component. Refer to "2.10.3 Installation of Glow Plug Harness" .
Section 2.10.3
Installation of Glow Plug Harness
Install glow plug harness as follows:
- Connect glow plug harness to the glow plug relay.
- Connect glow plug harness to glow plugs.
- Run the engine to verify repair.
| Series 638 Service Manual - 6SE648 |
| Generated on 10-13-2008 |