Section 3.7
Oil Level Dipstick Assembly
An oil level dipstick is used to check the oil level in the oil pan. The oil level dipstick is located in a tube attached by a threaded adaptor to an opening in the oil pan. See Figure "Oil Level Dipstick Assembly Location" .

|
1.Dipstick and Tube Assembly |
|
Figure 1. Oil Level Dipstick Assembly Location
NOTICE: |
|
Maintain the oil level between the full and low marks on the oil level dipstick. Never allow it to drop below the low mark. No advantage is gained by having the oil level above the full mark. Overfilling may cause the oil to be churned by the crankshaft throws, causing oil foaming and aeration. Operating below the low oil mark may expose the pickup tube, causing aeration, pressure loss, and engine damage. |
Check the oil level after the engine has been stopped for at least 20 minutes. This will permit the oil to drain back into the oil pan.
Oil level dipsticks are normally marked for use with vehicles parked on a level surface. Improper oil readings can result when the oil is checked in a vehicle on the grade, or if insufficient time is allowed for oil to drain back into the pan.
Section 3.7.1
Replacement of Oil Level Dipstick Assembly
Repair of this component is not authorized at this time.
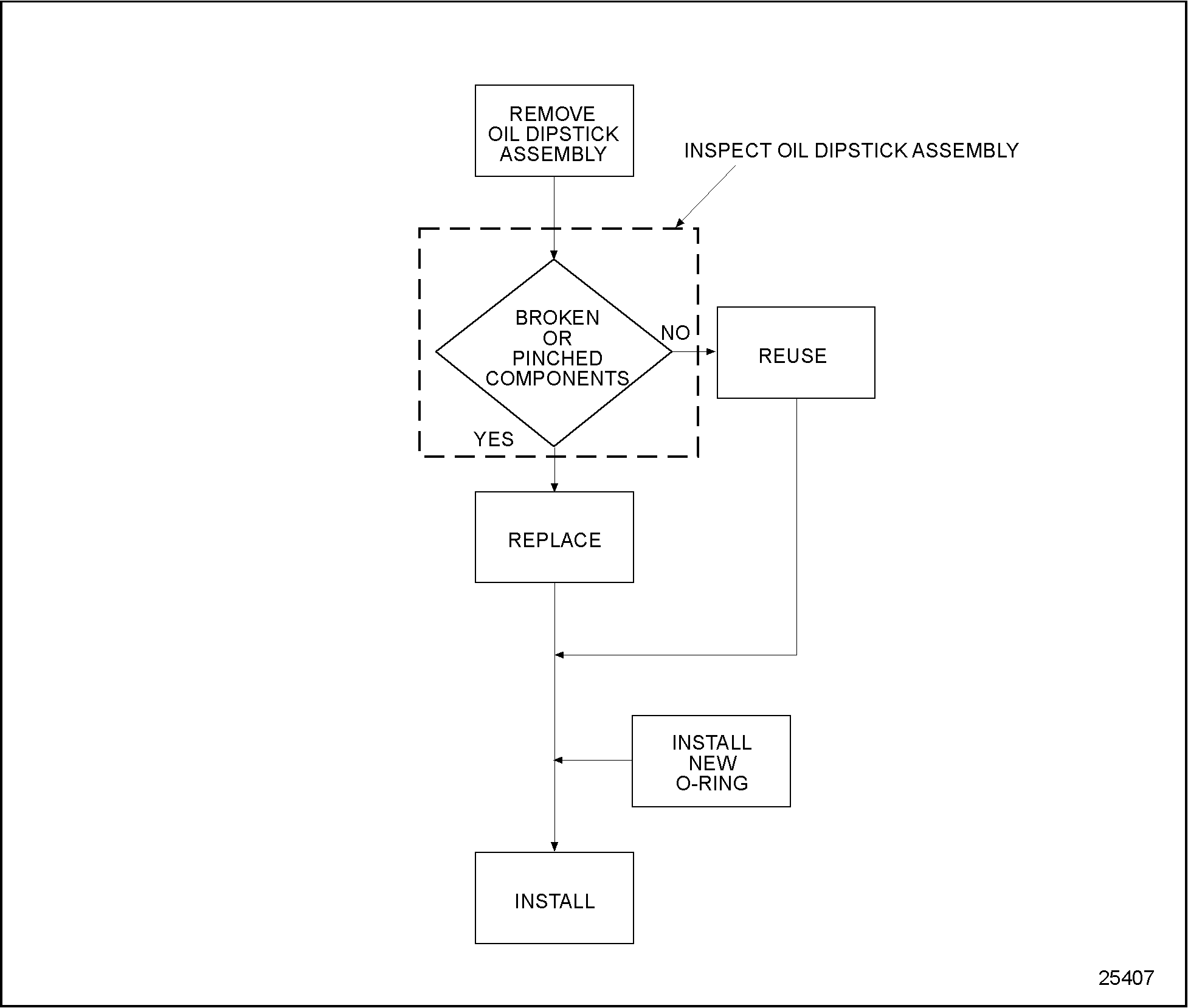
To determine if repair is possible or replacement is necessary, perform the following procedure. See Figure "Repair or Replacement of Oil Level Dipstick Assembly Flowchart" .

Figure 2. Repair or Replacement of Oil Level Dipstick Assembly Flowchart
Section 3.7.2
Removal of Oil Level Dipstick Assembly
Pre-cleaning is not necessary.
Remove the oil level dipstick assembly as follows:
- Remove the oil level dipstick from the tube assembly.
- Remove the bolt and clamp securing the oil level dipstick to the oil cooler housing.
- Remove the oil level dipstick tube from the cylinder block. See Figure
"Removal Oil Level Dipstick Assembly"
.

1.Bolt
4.Clamp
2.Dipstick Tube Assembly
5.Oil Gage Rod Tube Nut
3.Dipstick
6.O-ring
Figure 3. Removal Oil Level Dipstick Assembly
- Remove and discard the O-ring from the oil level dipstick tube.
Section 3.7.2.1
Inspection of Oil Level Dipstick Assembly
Inspect the oil level dipstick assembly as follows:
- Check the oil level dipstick and tube for broken or pinched parts.
- If any components are damaged, replace them with new parts.
Section 3.7.3
Installation of Oil Level Dipstick Assembly
Assemble the oil level dipstick assembly as follows:
- Install new seal ring on the oil level dipstick tube.
- Screw the oil level dipstick tube into the oil pan finger-tight and torque 8-16 N · m (6-10 lb · ft).
- Install the oil level dipstick tube retaining the clip and bolt clip to the oil cooler.
- With the oil level dipstick in position, tighten the oil level dipstick mounting nut.
- Install oil level dipstick. See Figure
"Installation Oil Level Dipstick Assembly"
.

1.Bolt
4.Clamp
2.Dipstick Tube Assembly
5.Oil Gage Rod Tube Nut
3.Dipstick
6.O-ring
Figure 4. Installation Oil Level Dipstick Assembly
| Series 55 Service Manual - 6SE55 |
| Generated on 10-13-2008 |