Section 3.4
Piston Cooling Oil Injection Nozzle
Oil is supplied from the main oil gallery passage through the piston cooling injection nozzle. Each piston receives a spray of engine oil through an internal drilled oil passage in the piston. See Figure "Oil Nozzle Assembly" .

|
1.Banjo Bolt |
5.Oil Nozzle Pipe |
|
2.Oil Nozzle |
6.Cylinder Block |
|
3.Oil Nozzle Dowel Guide Pin |
7.Cylinder Liner |
|
4.Oil Gallery Passage |
|
Figure 1. Oil Nozzle Assembly
Note: Piston cooling system consists of an injector for each cylinder, injecting oil into the internal part of the piston. For this reason, the oil nozzle must be calibrated before installation, by means of a calibration holder.
Section 3.4.1
Oil Nozzle Assembly Removal
Remove the oil nozzle assembly as follows:
- Remove the oil pan. Refer to "3.8.2 Removal of Oil Pan" .
- Bar the engine over for access to the piston oil nozzle.
- Remove the banjo bolt securing the oil nozzle to cylinder block.
Section 3.4.1.1
Oil Nozzle Assembly Inspection
Inspect the oil nozzle assembly as follows:
- Inspect the oil nozzle assembly.
- Determine if the oil nozzle pipe is cracked. If cracked replace oil nozzle.
- Inspect the banjo bolt for damaged threads. If damage is found replace banjo bolt.
- Inspect guide pin for straightens, if bent replace nozzle.
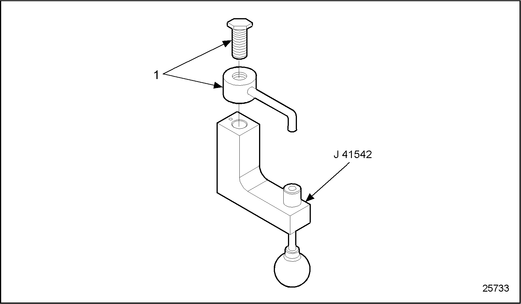
- Check oil nozzle pipe with nozzle calibrator J 41542. If necessary, carefully bend the injector pipe so that the end fits in the opening on the rod end of the calibrator, without strain. See Figure "Oil Nozzle Calibrator" .

|
1.Banjo Bolt |
2.Piston Oil Nozzle |
Figure 2. Oil Nozzle Calibrator
Section 3.4.2
Oil Nozzle Assembly Installation
Install the oil nozzle assembly as follows:
- Install the oil nozzle assembly on the engine block, checking that the alignment dowel is properly positioned.
- Install the banjo bolt and tighten to 50 N · m (37 lb · ft).
- Bar engine over, watching the piston to oil nozzle pipe alignment. Piston should not contact any portion of nozzle. If contact is made, remove nozzle and re-calibrate.
- Install oil pan assembly. Refer to "3.8.3 Installation of Oil Pan" .
| Series 55 Service Manual - 6SE55 |
| Generated on 10-13-2008 |