Section 2.12
Turbo Boost Pressure Sensor
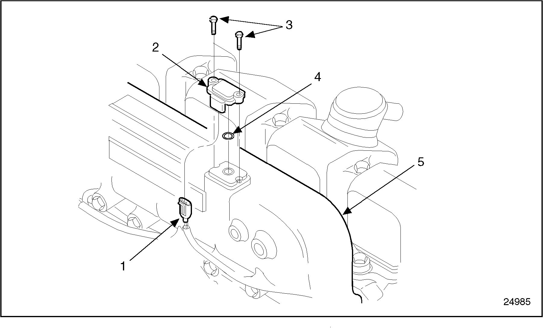
The Turbo Boost Sensor (TBS) is mounted to the intake manifold with two bolts. A rubber O-ring is used to seal the sensor to the manifold. See Figure "Turbo Boost Pressure Sensor " .

|
1.TBS Connector |
4.O-Ring |
|
2.TBS Sensor |
5.Intake Manifold |
|
3.Bolts |
|
Figure 1. Turbo Boost Pressure Sensor
The TBS is a pressure sensor that sends an electrical signal to the ECM. The ECM uses this information to compute the amount of air entering the engine. The ECM uses this information to regulate fuel supply and reduce engine smoke.
Section 2.12.1
Replacement of TBS
The TBS is non-serviceable and must be replaced as an assembly. No adjustment is required.
Section 2.12.2
Removal of Turbo Boost Sensor
Remove the TBS as follows:
- Disengage the locking tang on the TBS connector body. Grasp the terminal body, and gently pull it from the sensor.
- Remove the two bolts that secure the TBS to the intake manifold.
- Remove the TBS from the intake manifold.
Note: Be careful not to lose the O-ring.
Section 2.12.3
Installation of Turbo Boost Sensor
Install the TBS as follows:
- Install the TBS to the intake manifold. See Figure "Turbo Boost Pressure Sensor " .
- Install the two bolts that secure the TBS to the intake manifold. See Figure
"Turbo Boost Pressure Sensor "
.
NOTICE:
Do not overtighten the bolts that mount the TBS to the intake manifold. Damage to the TBS may result. Torque the bolts to no more than 2.4-2.9 N · m (21-26 lb · in.) torque.
- Engage the locking tang on the TBS connector body. Grasp the terminal body and gently pull it towards the sensor.
- Put petroleum jelly on O-ring to hold it in position.
- Turn the ignition to the "ON" position. Observe or read any diagnostic codes. If any codes other than 25 appears, refer to Troubleshooting Manual, or call Detroit Diesel Technical Service (313) 592-7282.
| Series 55 Service Manual - 6SE55 |
| Generated on 10-13-2008 |