Section 2.6
Fuel Pump Drive Gear and Bearing
The fuel pump drive gear and bearing fits into an opening machined in the cylinder block.
Section 2.6.1
Repair or Replacement of Fuel Pump Drive Gear and Bearing
Perform the following procedure to determine if repair is possible or replacement is necessary.

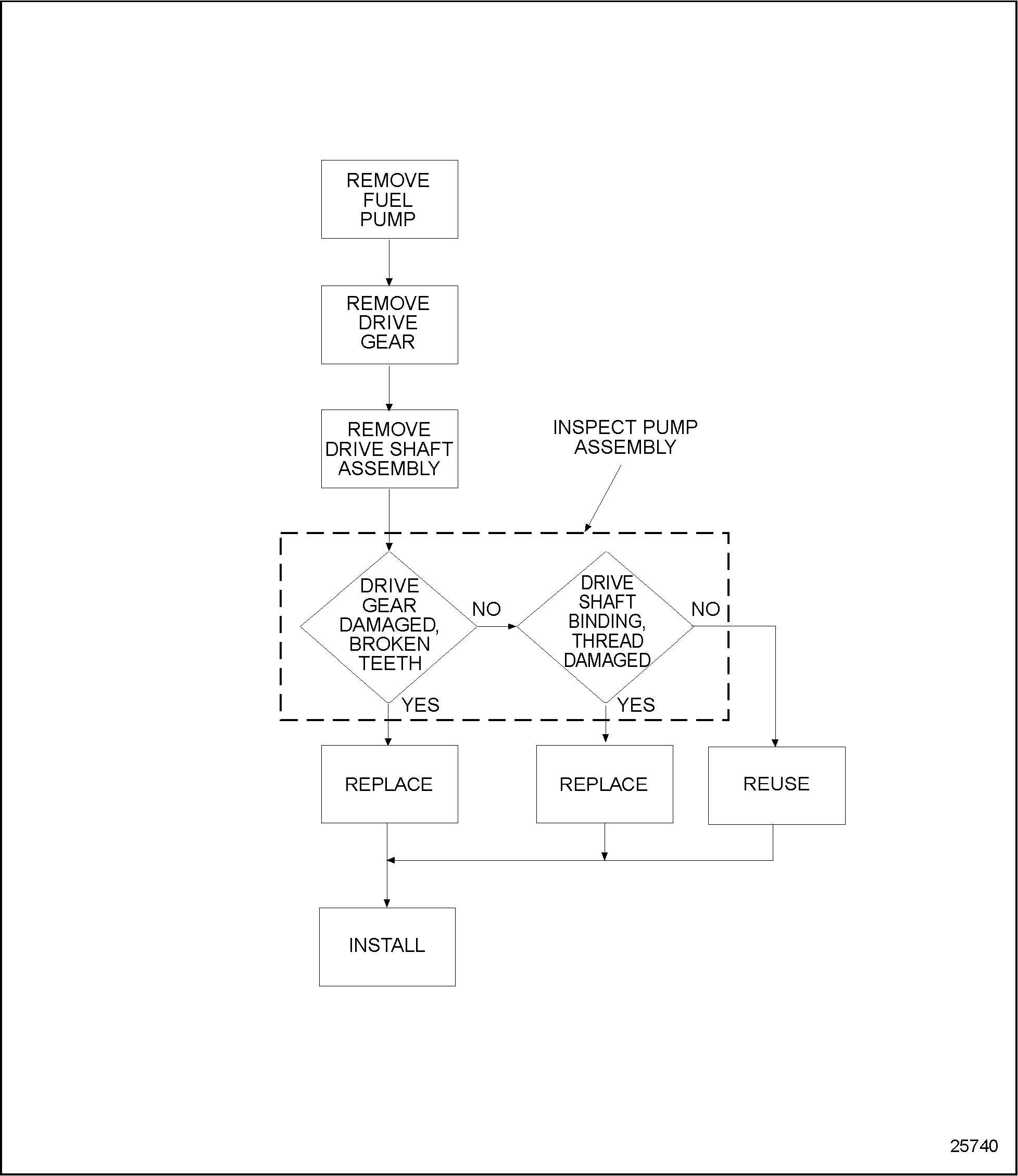
Figure 1. Repair or Replacement of Fuel Pump Drive Gear and Bearing Flowchart
Section 2.6.2
Removal of Fuel Pump Drive Gear and Bearing
Remove the fuel pump drive gear and bearing as follows:
- Remove the crankshaft pulley. Refer to "1.11.2 Removal of Crankshaft Pulley" .
- Remove the vibration damper. Refer to "1.10.2 Removal of Crankshaft Vibration Damper" .
- Remove the splash ring.
- Remove DVB drive cover.
- Remove the fuel pump. Refer to "2.5.2 Removal of Fuel Pump" .
- Remove rear snap ring from the fuel pump drive bore in the cylinder block. See Figure "Fuel Pump Drive Assembly Components" .
- Using a wrench to keep the bolt on the side of the bearing assembly opposite the drive gear from turning, remove the bolt retaining the fuel pump drive gear.
- Remove the fuel pump drive coupling retaining bolt.
- Using a hex head key wrench, hold the bearing assembly, and remove the retaining bolt securing the drive coupling. See Figure
"Fuel Pump Drive Assembly Components"
.

1.Mounting Bolt
4.Cylinder Block
2.Coupling
5.Fuel Pump Drive Gear
3.Snap Ring
6.Mounting Bolt
Figure 2. Fuel Pump Drive Assembly Components
- Using tool J 41795, drive the bearing assembly out of the cylinder block. See Figure
"Fuel Pump Drive Bearing Assembly Removal"
.

1.Fuel Pump Bearing and Shaft Assembly
Figure 3. Fuel Pump Drive Bearing Assembly Removal
Section 2.6.2.1
Inspection of Fuel Pump Drive Gear
Inspect the fuel pump drive gear and bearing as follows:
- Ensure the shaft turns freely.
- If the shaft binds, the bearing assembly must be replaced.
- Examine the drive gear for excessive scoring or other damage.
- If the gear is damaged, it must be replaced.
- Examine the drive coupling, for cracks, broken alignment tangs, or other damage.
- If damage is found replace drive coupling.
Section 2.6.3
Installation of Fuel Pump Drive Gear and Bearing
Install the drive gear and bearing as follows:
Note: The bearing assembly may be installed from either side of the cylinder block opening.
- Using tool J 41795, drive the bearing assembly into the cylinder block.
- Install the rear snap ring.
- Install the coupling.
- Install the fuel pump drive gear on one side and half coupling on the other side.
- Using a wrench to keep the bolt on the side of the bearing assembly opposite the drive coupling from turning, torque the bolts to 38-42 N · m (28-31 lb · ft).
- Install splash ring.
- Install lower front cover.
- Install vibration damper. Refer to "1.10.3 Installation of Crankshaft Vibration Damper" .
- Install front pulley. Refer to "1.11.3 Installation of Crankshaft Pulley" .
| Series 55 Service Manual - 6SE55 |
| Generated on 10-13-2008 |