Section 3.8
Oil Level Dipstick Assembly
A steel ribbon-type oil level dipstick may be used to check the level of oil in the engine oil pan. The dipstick is located in a tube attached by a threaded adaptor to an opening in the oil pan. See Figure "Oil Dipstick Mounting" .

Figure 1. Oil Dipstick Mounting
Snap action dipsticks have locking tangs and an O-ring seal in the tee handle. A copper sealing ring between the adaptor and dipstick tube insures a tight seal.
NOTICE: |
|
Maintain the oil level between the full and low marks on the dipstick. Never allow it to drop below the low mark. No advantage is gained by having the oil level above the full mark. Overfilling may cause the oil to be churned by the balance shafts and crankshaft throws causing foaming or aeration of the oil. Operation below the low mark may expose the pump pickup causing aeration, loss of pressure and engine damage. |
Check the oil level after the engine has been stopped for a minimum of ten minutes to permit oil in the various parts of the engine to drain back into the oil pan.
Dipsticks are normally marked for use only when the equipment the engine powers is on a level surface. Improper oil levels can result if the oil level is checked with the equipment on a grade, or if insufficient time is allowed for oil to drain back to the sump. For additional information, consult Service Information Bulletin "Oil Level Gage Calibration Inspection and Fabrication" (SIB 12-50-94).
The current dipstick adaptor has a thicker wall than the former adaptor and requires a copper seal between the adaptor and the nut on the oil gage tube assembly.
Section 3.8.1
Repair or Replacement of Oil Dipstick Assembly
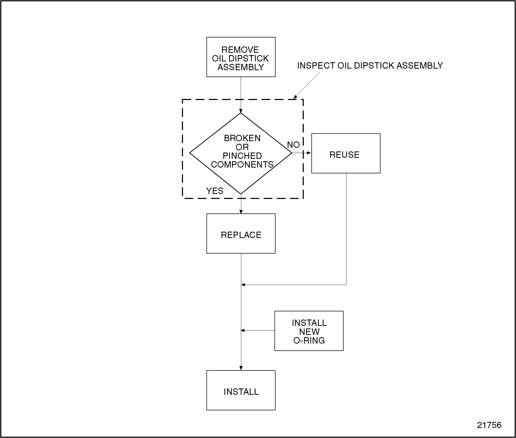
To determine if repair is possible or replacement is necessary, perform the following procedure. See Figure "Flowchart for Repair or Replacement of Oil Dipstick Assembly " .

Figure 2. Flowchart for Repair or Replacement of Oil Dipstick Assembly
Section 3.8.2
Cleaning and Removal of Oil Dipstick Assembly
Precleaning is not necessary.
Remove oil dipstick assembly as follows:
- Remove dipstick from dipstick adaptor.
- Remove oil tube assembly, copper seal, and dipstick adaptor from cylinder block. Discard copper seal.
Section 3.8.2.1
Inspection of Oil Dipstick Assembly
Inspect oil dipstick assembly as follows:
- Inspect dipstick assembly for any damaged parts.
- Check components for any broken or pinched parts.
- If any components are damaged, replace with new parts.
Section 3.8.3
Installation of Oil Dipstick Assembly
Assemble oil dipstick assembly as follows:
- Install dipstick adaptor onto cylinder block. Torque to 22 N·m (16 lb·ft).
- Insert the new copper seal and thread the oil gage tube assembly nut into the adaptor.
- While holding the adaptor with a wrench, properly align the oil gage tube assembly.
- Tighten the nut on the tube securely.
- Install dipstick into tube assembly.
| Series 50 Service Manual - 6SE50 |
| Generated on 10-13-2008 |