Section 4.2
Water Pump
The water pump circulates engine coolant through the cooling system. For an exploded view of the fan drive, thermostat and water pump, see Figure "Exploded View of Fan Drive, Thermostat and Water Pump " .

|
1. Fan Belt |
8. Fan Mounting Bracket with Hub |
|
2. Water Pump Pulley |
9. Fan Mounting Support Bracket |
|
3. Belt Tensioner |
10. Bearing Retainer |
|
4. Water Pump Assembly |
11. Fan Pulley |
|
5. Thermostat Assembly |
12. Freon Drive Pulley |
|
6.. O-ring |
13. Fan Spacer |
|
7. Water Pump Seal |
14. Fan Pulley Mounting Bolt (6) |
Figure 1. Exploded View of Fan Drive, Thermostat and Water Pump
Section 4.2.1
Removal of Water Pump
Remove water pump as follows:
- Place the oil strap around the water pulley and secure when removing pulley mounting bolts.
- Remove the four water pump pulley bolts. See Figure
"Water Pump Pulley Removal"
.

1. Front Cover
2. Water Pump Pulley
Figure 2. Water Pump Pulley Removal
- Remove the pulley from the water pump hub.
- Remove the seven bolts that secure the water pump to the front cover. See Figure
"Water Pump Removal "
.

1. Water Pump
2. Front Cover
Figure 3. Water Pump Removal
Note: The bolt at the 12 o'clock position goes through the front cover and is held with a nut.
- Remove the water pump from the front cover. Discard the O-ring.
Section 4.2.1.1
Inspection of Water Pump
The water pump should be visually inspected for damaged impeller, cracks and other faulty conditions. If any defects are noted, replace the water pump as an assembly.
Inspect the rear half of the engine front cover as follows:
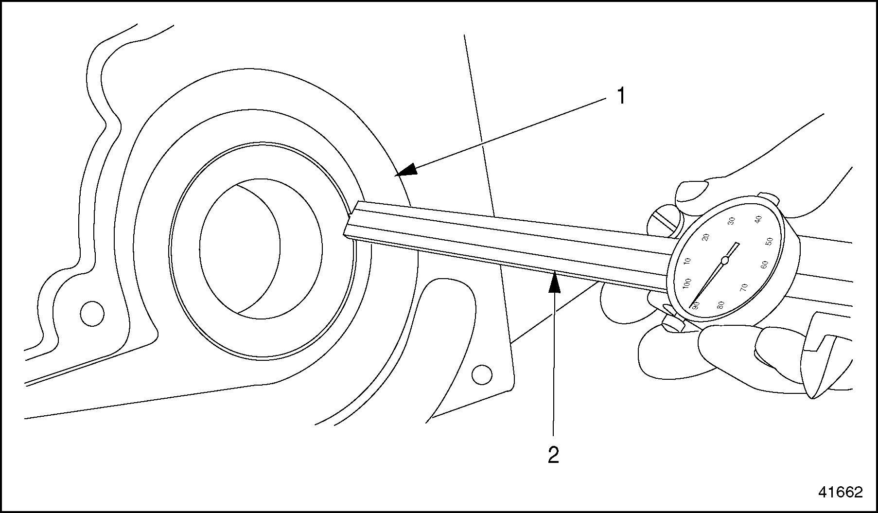
- Inspect the front cover opposite the water pump impeller for damage. If any grooves are present, measure the deepest groove in the damaged area with a caliper. See Figure
"Measurement of the Deepest Front Cover Groove"
. Maximum allowable depth is 3.05 mm (0.120 in.).
Note: Typically, the outer region of the grooved damaged area has the deepest gouging.

1. Front Cover
2. Caliper
Figure 4. Measurement of the Deepest Front Cover Groove
- If any groove depth exceeds 3.05 mm (0.120 in.), replace the front cover. Refer to "1.21 Timing Gear Train and Front Cover" .
Section 4.2.2
Installation of Water Pump
Install the water pump and pulley as follows:
- Apply a small amount of assembly grease to the water pump and install a new O-ring onto the water pump assembly. See Figure
"Water Pump O-ring"
.

1. Front Cover
3. O-ring
2. Water Pump
Figure 5. Water Pump O-ring
- Install the water pump to the front cover. Mount one bolt and nut at the 12 o'clock position and the remaining bolts in the mounting holes. Torque mounting bolts to specifications. See Figure
"Installing Water Pump "
. Refer to Specifications "Additional Information"
in Section
.

1. Front Cover
2. Water Pump
Figure 6. Installing Water Pump
Note: Ensure the water pump rotates freely after installation.
- Slide the water pump pulley over the water pump hub. Place the oil filter strap over the pulley and secure. Fasten the pulley to the hub using four mounting bolts. Torque mounting bolts to specifications. Refer to Specifications "Additional Information" in Section .
| Series 40E Service Manual - 6SE410 |
| Generated on 10-13-2008 |