
Figure 1. Diagnostic For
Use this procedure to check crankcase pressure. For a reproduction of the applicable portion of the diagnostic form, see Figure
“Diagnostic For”
.
Section 11.14.1
Purpose
The purpose of the crankcase pressure test is to measure the power cylinder condition.
Section 11.14.2
Test Procedure
Follow these steps to test the crankcase pressure.
- Park the vehicle on level ground.
- Ensure the breather tube is free of dirt and the valve cover/intake manifold is tight.
- Ensure the engine oil level is not above the full mark and the dipstick is securely in place.
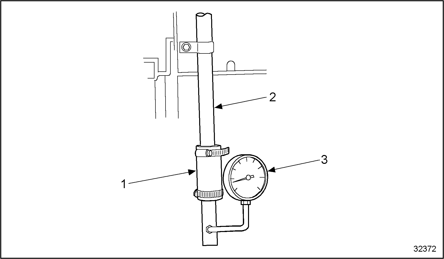
- Connect a line from the restrictor tool to a water manometer or the magnehelic gage of the Engine Field Test Kit, J 39257
. See Figure
“Crankcase Pressure Test”.
1. Crankcase Breather 3. Breather Tube Restrictor 2. Water Manometer or Magnehelic Gage Figure 2. Crankcase Pressure Test
- Run the engine to attain normal engine operating temperature before measuring crankcase pressure.
- Perform the engine crankcase pressure test with the engine at high idle (no load) r/min. Allow the gage reading to stabilize before taking the pressure reading.
- Record crankcase pressure on the diagnostic form. Refer to “10.1 Introduction”.
NOTICE:
Do not plug the breather tube during the crankcase pressure test. Restricting the tube can cause crankshaft and turbocharger seals to leak.
Section 11.14.3
Possible Causes
Excessive crankcase pressure with
oil consumption trend data indicates:
- Dirt entering the air induction system; perform the Air Induction System pressure test; refer to “10.4.2 Air Induction System Pressure Test”
- Badly worn or broken rings
- Badly worn or scored cylinder sleeves
- Leaking valve seals or worn valve guides
- A restricted breather tube
Excessive crankcase pressure without
significant oil consumption trend data indicates:
- Leaking intake manifold/valve cover gasket
- Air compressor affecting the crankcase pressure; remove the compressor discharge line to remove its influence.
Section 11.14.4
Tools Required
Magnehelic Gage on Engine Field Test Kit, J 39257
, and orifice restriction tool, J 39267
| Series 40E Troubleshooting Manual – 6SE241 |
| Generated on 10-13-2008 |