Section 131.4
SPN 4226/FMI 4
This diagnosis is typically Inlet Air Delta P Sensor circuit failed low.
Section 131.4.1
Short to Ground Check
Check as follows:
- Check for multiple codes.
- If 3563/4, 51/4 and 4226/4 are present, repair the short to ground between pin 117 of the MCM 120–pin connector, the intake throttle valve and the Inlet Air Delta P Sensor. Refer to "131.4.1.1 Verify Repairs" .
- If 51/4 and 4226/4 are present, repair the short to ground between pin 117 of the MCM 120–pin connector, the intake throttle valve and the Inlet Air Delta P Sensor. Refer to "131.4.1.1 Verify Repairs" .
- If only 4226/4 is present, go to the next step.
- Turn the ignition OFF.
- Disconnect the Inlet Air Delta P Sensor.
- Disconnect the 120–pin MCM connector.
- Measure the resistance between pin 3 of the Inlet Air Delta P Sensor and ground. See Figure
"Inlet Air Delta P Sensor"
.

Figure 1. Inlet Air Delta P Sensor
- If the resistance is less than 3Ω, repair the short to ground between pin 3 of the Inlet Air Delta P Sensor and 109 of the 120–pin MCM connector. See Figure "120–pin MCM Connector" . Refer to "131.4.1.1 Verify Repairs" .
- If the resistance is greater than 3Ω, go to step 4 .

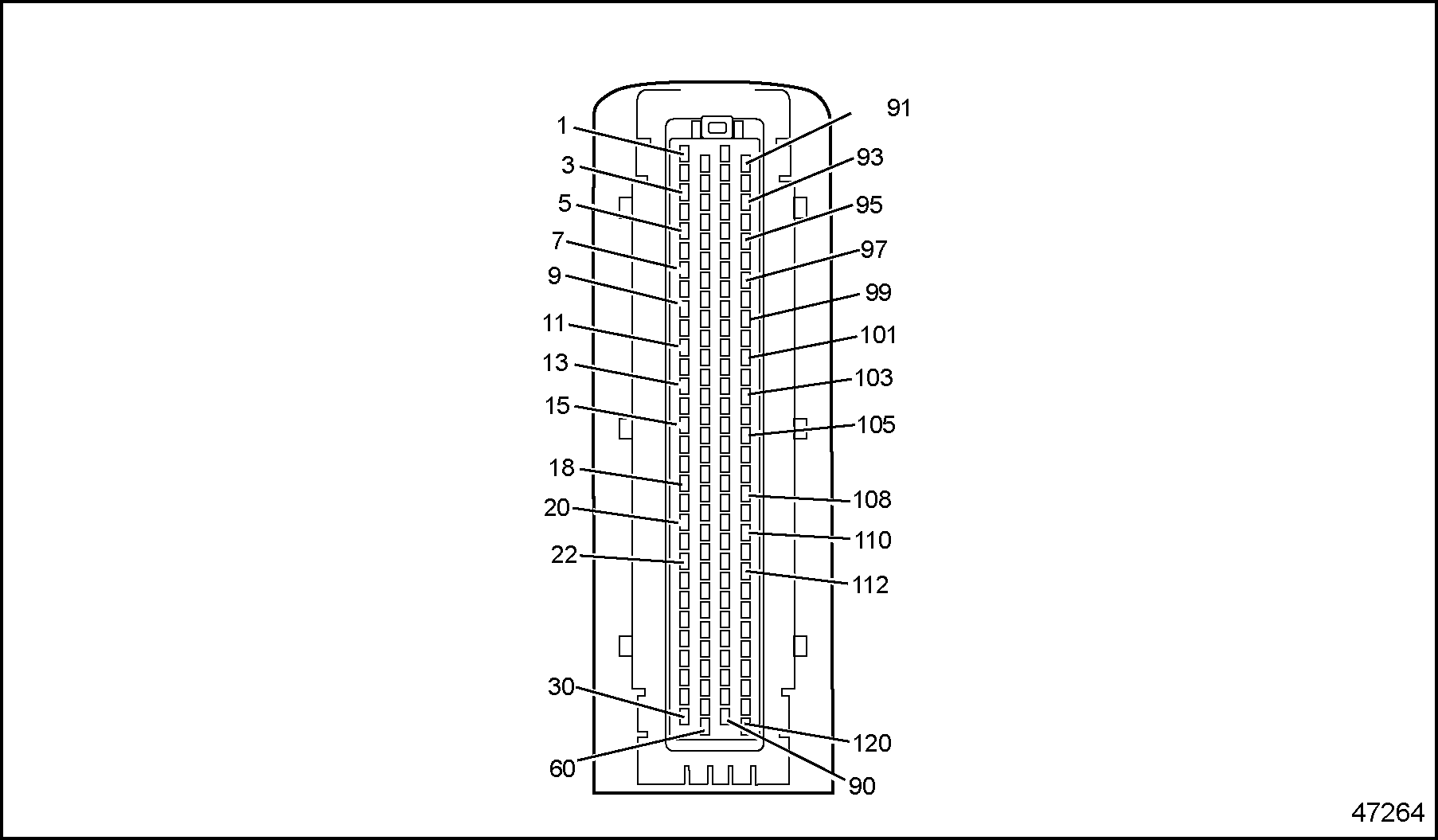
Figure 2. 120–pin MCM Connector
- Measure the resistance between pin 3 of the Inlet Air Delta P Sensor and 109 of the 120–pin MCM connector.
- If the resistance is greater than 3Ω, repair the open between pin 3 of the Inlet Air Delta P Sensor and pin 109 of the 120–pin MCM connector. Refer to "131.4.1.1 Verify Repairs" .
- If the resistance is less than 3Ω, replace the Inlet Air Delta P Sensor. Refer to "131.4.1.1 Verify Repairs" .
Section 131.4.1.1
Verify Repairs
Verify repairs as follows:
- Turn ignition OFF.
- Reconnect any electrical connections that were disconnected to perform the diagnosis.
- Clear codes with DDDL 7.0 or latest version.
- Start and bring engine up to operating temperature (over 140°F/60°C).
- Verify operation is satisfactory and no warning lamps illuminate. If warning lamps illuminate, troubleshoot the codes. If assistance is required, call the Detroit Diesel Customer Support Center at 313–592–5800.
| EPA07 MBE 4000 DDEC VI Troubleshooting Guide - 6SE568 |
| Generated on 10-13-2008 |