Section 2.5
DDEC-ECU (Engine Control Unit)
The DDEC-ECU or engine-resident control unit is located on the left-hand side of the engine. See Figure "DDEC-ECU Control Unit Location" . The DDEC-ECU is connected by a proprietary datalink to the vehicle control unit (DDEC-VCU). All necessary data and information is exchanged through the datalink. The DDEC-VCU then broadcasts all information on the J1587 and J1939 data links, where it can be read by minidiag2.
The DDEC-ECU processes the data received from the DDEC-VCU, for example the position of the accelerator pedal, engine brake, etc.
These data are evaluated together with the data from the sensors on the engine, such as:
- Intake manifold pressure and temperature
- Coolant temperature
- Fuel temperature
- Oil pressure
The data is then compared to the characteristic maps or lines stored in the DDEC-ECU.
From these data, quantity and timing of injection are calculated and the unit pumps are actuated accordingly through the solenoid valves.

Figure 1. DDEC-ECU Control Unit Location
Note: To obtain a replacement DDEC-ECU control unit, all the data given on the DDEC-ECU control unit data plate is required. The data plate is located on the face of the DDEC-ECU unit. See Figure "Control Unit Data Plate" .

Figure 2. Control Unit Data Plate
Section 2.5.1
DDEC-ECU Control Unit Removal
Remove the DDEC-ECU as follows:
- Open the hood.
- Disconnect the oil level sensor wiring from the DDEC-ECU control unit by removing the bolt holding it in place.
- Pull up on the locking bar on the vehicle wiring harness connector and disconnect it from the DDEC-ECU unit. See Figure
"DDEC-ECU Control Unit Removal"
.

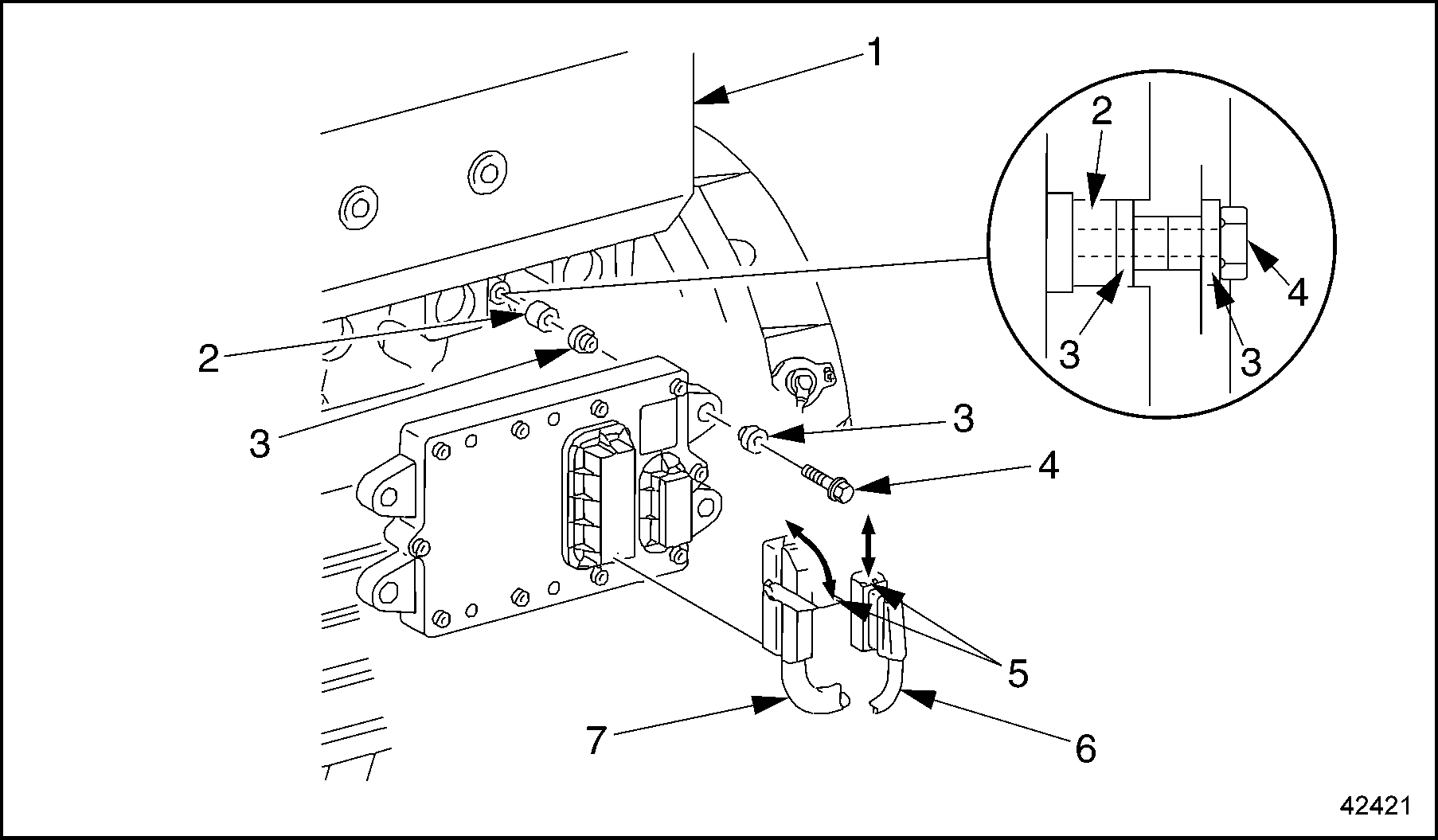
1. Engine Trim Panel
5. Locking Bar
2. Spacer
6. Vehicle Wiring Harness
3. Rubber Damper
7. Engine Wiring Harness
4. Hex bolt
Figure 3. DDEC-ECU Control Unit Removal
- Rotate the locking bar on the engine wiring harness connector and disconnect it from the DDEC-ECU unit.
- Remove the four hex bolts and rubber dampers holding the DDEC-ECU control unit to the engine. Then remove the unit.
Note: Do not disassemble the DDEC-ECU control unit. It cannot be serviced.
Section 2.5.2
DDEC-ECU Installation
Install the DDEC-ECU as follows:
- Using the four spacers and hex bolts, and eight rubber dampers, attach the DDEC-ECU control unit to the engine. Make sure the rubber dampers are installed correctly, with the flanged ends outboard. See Figure
"DDEC-ECU Control Unit Installation"
.

1. Engine Trim Panel
4. Hex bolt
2. Spacer
5. Vehicle Wiring Harness
3. Rubber Damper
6. Engine Wiring Harness
Figure 4. DDEC-ECU Control Unit Installation
- Tighten the hex bolts 15 N·m (11 lb·ft).
- Connect the engine wiring harness and the vehicle wiring harness to the DDEC-ECU. Lock them in place.
- If a new DDEC-ECU control unit was installed, transfer the new dataset to it, using the applicable diagnostic tool.
- Close the hood. Then check for normal operation.
| MBE 900 Service Manual - 6SE414 |
| Generated on 10-13-2008 |