Section 9.2
Rear Engine Power Take-Off (REPTO)
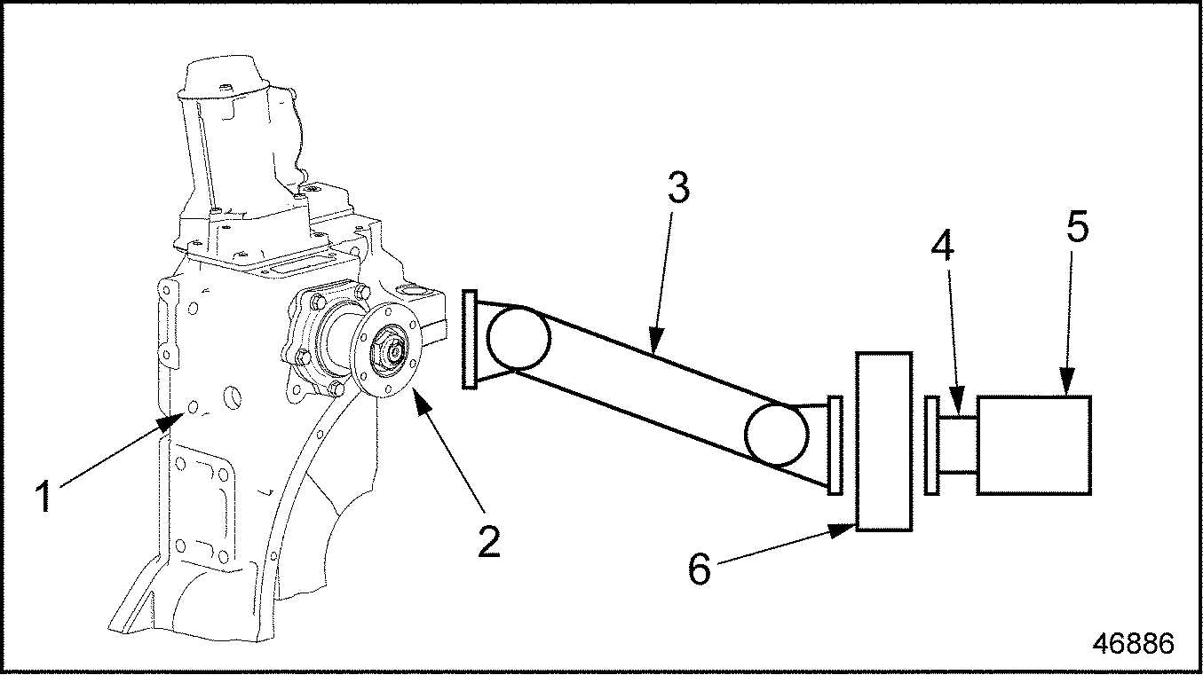
A REPTO accessory drive is available as an option on the MBE4000 engine. The drive provides continuous live power anytime the engine is operating. The REPTO is driven by the camshaft gear and is an integral part of a unique SAE#1 flywheel housing.
All REPTO installations require a torsional damper coupling (p/n 906 250 00 01) installed at the flange of the driven unit (i.e. hydraulic pump). The torsional coupling is a rubber element design to reduce the unwanted stresses reaching the engine. The torsional coupling is available as a service part from Detroit Diesel Corporation. See Figure "MBE4000 REPTO Connection Illustration" .

|
1. Flywheel Housing |
4. Flange |
|
2. REPTO Unit |
5. Driven Unit |
|
3.Cardan Shaft |
6. Torsional Coupling |
Figure 1. MBE4000 REPTO Connection Illustration
Section 9.2.1
REMOVAL OF REPTO ASSEMBLY
Remove the REPTO assembly as follows:
- Remove the transmission and clutch. Refer to the appropriate vehicle service manual.
- Remove the oil pan and gasket.
- Remove six bolts and nut securing the cardan shaft to REPTO assembly. Move the cardan shaft out of the way.
- Remove the flywheel housing. Refer to "1.17.1 Flywheel Housing Removal" 1.16.1.
| MBE 4000 Service Manual - 6SE412 |
| Generated on 10-13-2008 |