Section 2.7
DDEC-Electronic Control Unit
Perform the following procedures for removal and installation of the DDEC-ECU.
Section 2.7.1
DDEC-Electronic Control Unit Removal
Remove the DDEC-ECU as follows:
- Disconnect the batteries.
- Open the hood.
- Remove the heat exchanger mounting bolts, but do not disconnect the fuel lines to the heat exchanger. See Figure
"DDEC-ECU Control Unit"
.

1. DDEC-ECU
8. Fuel Heat Exchanger Mounting Bolt
2. Engine Electrical Connector
9. Fuel Heat Exchanger Inlet
3. Vehicle Electrical Connector
10. Banjo (Hollow-Core) Bolt
4. Spacer
11. Banjo Fitting
5. DDEC-ECU Mounting Bolt
12. Fuel Heat Exchanger
6. Engine Wiring Harness
13. Heat Exchanger Case Bolt
7. Fuel Feed Line
14. DDEC-ECU Case Bolt
Figure 1. DDEC-ECU Control Unit
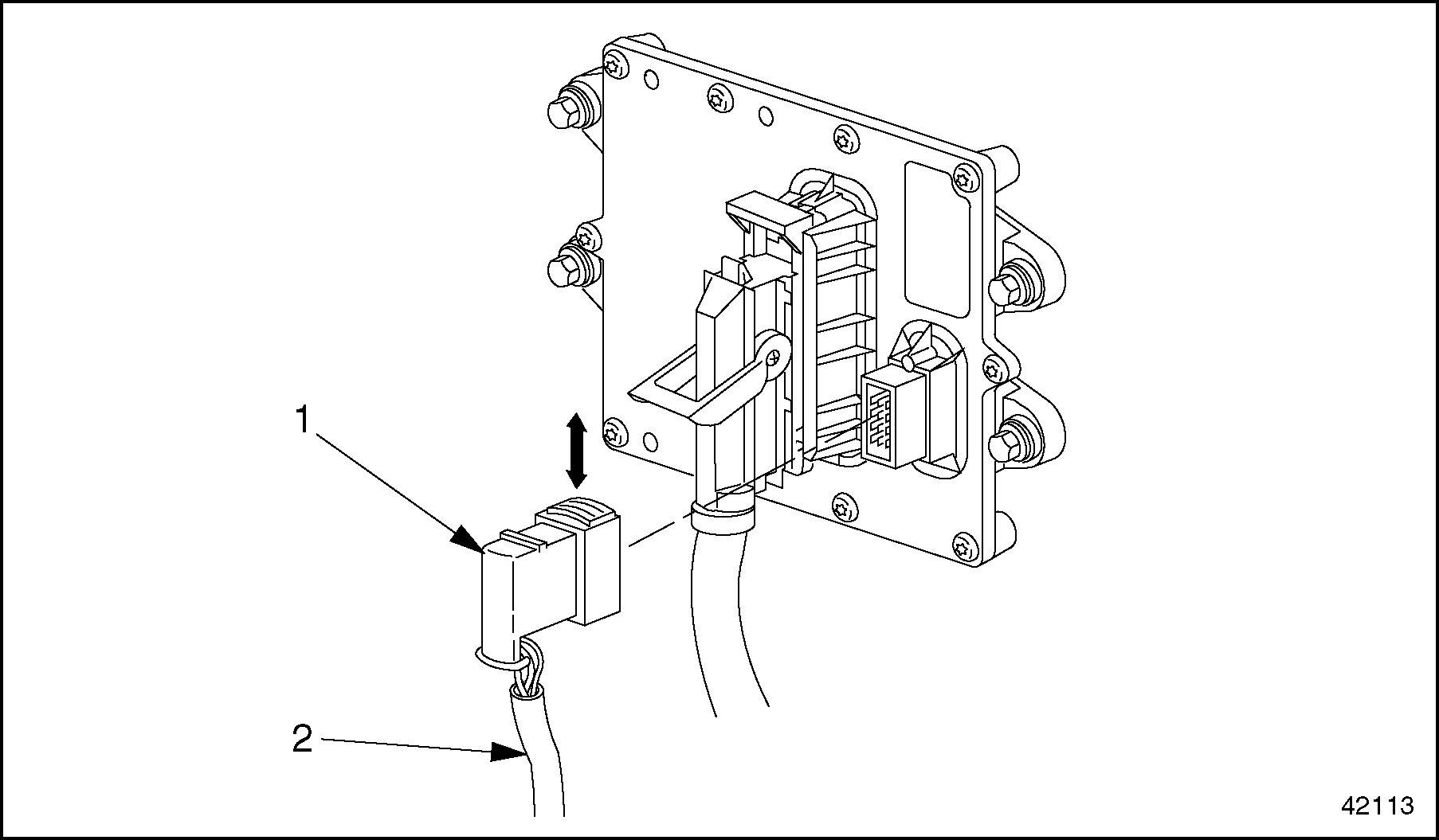
- Lift up the slide on the locking unit to release the vehicle wiring harness connector and disconnect it from the DDEC-ECU unit. See Figure
"Vehicle Electrical Connector"
.

1. Vehicle Electrical Connector
2. Vehicle Wiring Harness
Figure 2. Vehicle Electrical Connector
- Rotate the safety latch down to release the engine wiring harness connector and disconnect it from the DDEC-ECU unit. See Figure
"Engine Electrical Connector"
.

1. Engine Wiring Harness
3. Engine Electrical Connector
2. Safety Latch
Figure 3. Engine Electrical Connector
- Remove the mounting bolts and rubber spacers holding the DDEC-ECU control unit to the engine. Then remove the unit.
Note: Do not disassemble the DDEC-ECU control unit. It cannot be serviced.
Section 2.7.2
DDEC Electronic Control Unit Installation
Install the DDEC-ECU Control Unit as follows:
- Position the spacers, DDEC-ECU control unit, and mounting bolts on the cylinder block, as removed.
- Install the DDEC-ECU control unit on the cylinder block. Tighten the mounting bolts to 15 N·m (11 lb·ft).
- Install the fuel heat exchanger on the DDEC-ECU and tighten the mounting bolts to 8 N·m (6 lb·ft).
- Connect the vehicle wiring harness to the DDEC-ECU. Pull down on the locking unit to lock it in place.
- Connect the engine wiring harness to the DDEC-ECU. Rotate the safety latch upward to lock it in place.
- If a new DDEC-ECU control unit was installed, transfer the customer parameter list to it, using minidiag2.
- Connect the batteries.

PERSONAL INJURY
Diesel engine exhaust and some of its constituents are known to the State of California to cause cancer, birth defects, and other reproductive harm.
- Always start and operate an engine in a well ventilated area.
- If operating an engine in an enclosed area, vent the exhaust to the outside.
- Do not modify or tamper with the exhaust system or emission control system.
- Close the hood. Then check for normal operation.
| MBE 4000 Service Manual - 6SE412 |
| Generated on 10-13-2008 |