Section 74.1
SPN 729/FMI 0
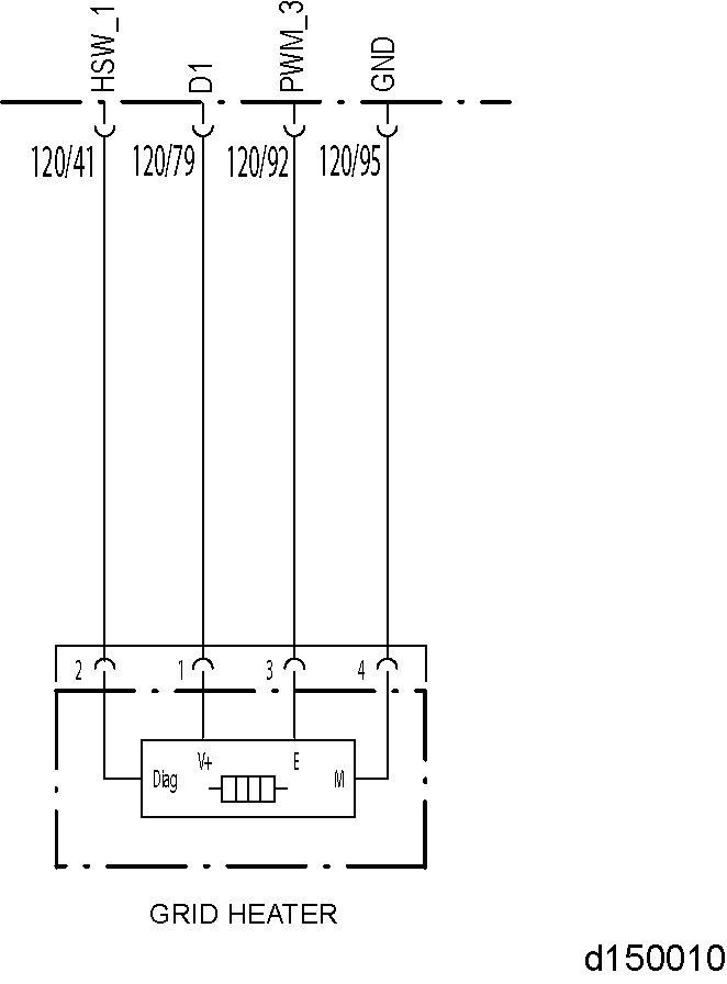
This fault condition is typically Grid Heater permanently on.

Check as follows:
- Disconnect the Grid Heater harness connector.
- Disconnect the MCM 120–pin connector.
- Measure the resistance between pin 1 of the Grid Heater harness connector and ground
- If the resistance is less than 5 Ω, repair short to ground between pin 1 of the Grid Heater harness connector and pin 79 of the MCM 120–pin connector. Refer to "74.1.1 Verify Repairs" .
- If the resistance is greater than 5 Ω, replace the Grid Heater. Refer to "74.1.1 Verify Repairs" .
Section 74.1.1
Verify Repairs
Verify repairs as follows:
- Turn ignition OFF.
- Reconnect any electrical connections that were disconnected to perform the diagnosis.
- Clear codes with DDDL 7.0 or latest version.

ENGINE EXHAUST
To avoid injury from inhaling engine exhaust, always operate the engine in a well-ventilated area. Engine exhaust is toxic.
- Start and bring engine up to operating temperature (over 140°F/60°C).
- Verify operation is satisfactory and no warning lamps illuminate. If warning lamps illuminate, troubleshoot the codes. If assistance is required, call the Detroit Diesel Customer Support Center at 313–592–5800.
| EPA07 DD15 Troubleshooting Guide - DDC-SVC-MAN-0029 |
| Generated on 10-13-2008 |